TOP
|
特許
|
意匠
|
商標
特許ウォッチ
Twitter
他の特許を見る
10個以上の画像は省略されています。
公開番号
2025153403
公報種別
公開特許公報(A)
公開日
2025-10-10
出願番号
2024055878
出願日
2024-03-29
発明の名称
分別回収装置
出願人
ブラザー工業株式会社
代理人
個人
,
個人
主分類
B41J
2/175 20060101AFI20251002BHJP(印刷;線画機;タイプライター;スタンプ)
要約
【課題】消耗品容器のリユースを容易にする分別回収装置を提供する。
【解決手段】分別回収装置1は、投入口19を有する投入箱2と、消耗品容器15が備える記憶素子17に記憶された識別情報を読み取る読取部3と、投入箱2の内部空間に位置するリユース回収箱4およびリサイクル回収箱5と、消耗品容器15を仕分ける分別ロボット6と、制御部130と、を備える。制御部130は、識別情報に基づいて第1の判定を行ったことを条件に、投入口19からリユース回収箱4へ消耗品容器15を仕分ける第1仕分処理を分別ロボット6に実行させる。制御部130は、識別情報に基づいて第2の判定を行ったことを条件に、投入口19からリサイクル回収箱5へ消耗品容器15を仕分ける第2仕分処理を分別ロボット6に実行させる。
【選択図】図4
特許請求の範囲
【請求項1】
第1投入口を有する投入箱と、
消耗品容器が備える記憶素子に記憶された識別情報を読み取る第1読取部と、
上記投入箱の内部空間に位置する第1回収箱および第2回収箱と、
上記第1投入口に投入された上記消耗品容器を上記第1回収箱および上記第2回収箱の一方へ仕分ける仕分機構と、
制御部と、を備えており、
上記制御部は、
上記識別情報に基づいて第1の判定を行ったことを条件に、上記第1投入口から上記第1回収箱へ上記消耗品容器を仕分ける第1仕分処理を上記仕分機構に実行させ、
上記識別情報に基づいて第2の判定を行ったことを条件に、上記第1投入口から上記第2回収箱へ上記消耗品容器を仕分ける第2仕分処理を上記仕分機構に実行させる分別回収装置。
続きを表示(約 2,700 文字)
【請求項2】
記憶部をさらに有しており、
上記識別情報は、個々の上記消耗品容器を識別する品番を含んでおり、
上記記憶部は、上記第1回収箱および上記第2回収箱のうち上記消耗品容器が回収されるべき回収箱と対応付けられた回収番号と上記品番とを対応付けて記憶しており、
上記制御部は、上記記憶部から上記品番と対応する上記回収番号を抽出して、上記第1の判定および上記第2の判定を行う請求項1に記載の分別回収装置。
【請求項3】
上記識別情報は、上記消耗品容器が消耗品容器としてリユースされたリユース回数を含んでおり、
上記制御部は、上記第1の判定を行った後、上記リユース回数が所定回数未満であると判定したことを条件に、上記第1仕分処理を上記仕分機構に実行させる請求項2に記載の分別回収装置。
【請求項4】
上記制御部は、上記第1の判定を行った後、上記リユース回数が所定回数未満でないと判定したことを条件に、上記第2仕分処理を上記仕分機構に実行させる請求項3に記載の分別回収装置。
【請求項5】
上記第1回収箱は、上記消耗品容器に入れられるインクの色に応じて上記消耗品容器が別々に回収される複数のリユース回収箱を備えており、
上記回収番号は、上記複数のリユース回収箱にそれぞれ異なる番号が割り当てられるものであり、
上記制御部は、上記第1の判定を行ったことを条件に、上記複数のリユース回収箱のうち上記回収番号に対応する上記リユース回収箱へ仕分ける上記第1仕分処理を上記仕分機構に実行させる請求項2に記載の分別回収装置。
【請求項6】
上記消耗品容器は、インクジェットプリンタに装着可能なインクカートリッジであり、
上記インクカートリッジは、上記インクジェットプリンタに装着された姿勢における下端部に、インクを外部へ供給するインク供給部が設けられており、
上記第1投入口の上下方向に沿った長さは、上記インクジェットプリンタに装着された状態の上記消耗品容器の上下方向に沿った長さよりも短い形状を有する請求項1に記載の分別回収装置。
【請求項7】
上記第1投入口を開閉可能な第1投入扉と、
上記第1投入扉を開閉する第1開閉機構と、を備えており、
上記識別情報は、第1メーカを示す第1メーカ情報または第1メーカ以外のメーカを示す非第1メーカ情報を含んでおり、
上記第1読取部は、上記第1メーカ情報を含む上記識別情報を読み取ると、上記識別情報に対応する第1信号を上記制御部に出力し、上記非第1メーカ情報を含む上記識別情報を読み取ると、上記第1信号とは異なる第2信号を上記制御部に出力し、
上記制御部は、
上記第1読取部から上記第1信号を受信したことを条件に、上記第1投入扉を開放させる第1開放処理を上記第1開閉機構に実行させ、
上記第1読取部から上記第2信号を受信したことを条件に、上記第1投入扉を閉塞した状態に維持させる閉塞処理を上記第1開閉機構に実行させる請求項1に記載の分別回収装置。
【請求項8】
上記第1投入口を開閉可能な第1投入扉と、
上記第1投入扉を開閉する第1開閉機構と、を備えており、
上記識別情報は、第1メーカを示す第1メーカ情報および上記消耗品容器の種類が特定の種類であることを示す第1種類情報を含んでおり、
上記第1読取部は、上記第1メーカ情報および上記第1種類情報を含む上記識別情報を読み取ると、上記識別情報に対応する第1信号を上記制御部に出力し、上記第1メーカ情報および第1種類情報のうち少なくとも一方を含まない上記識別情報を読み取ると、上記第1信号とは異なる第2信号を上記制御部に出力し、
上記制御部は、
上記第1読取部から上記第1信号を受信したことを条件に、上記第1投入扉を開放させる第1開放処理を上記第1開閉機構に実行させ、
上記第1読取部から上記第2信号を受信したことを条件に、上記第1投入扉を閉塞した状態に維持させる第1閉塞処理を上記第1開閉機構に実行させる請求項1に記載の分別回収装置。
【請求項9】
上記投入箱は、第2投入口を有しており、
上記識別情報を読み取る第2読取部と、
上記第2投入口を開閉可能な第2投入扉と、
上記第2投入扉を開閉する第2開閉機構と、
上記投入箱の内部空間に位置しており、上記第2投入口に投入された上記消耗品容器が回収される第3回収箱と、を備えており、
上記第2読取部は、上記特定の種類とは異なる種類を示す第2種類情報を含む上記識別情報を読み取ると、第3信号を上記制御部に出力し、上記第2種類情報を含まない上記識別情報を読み取ると、上記第3信号とは異なる第4信号を上記制御部に出力し、
上記制御部は、
上記第2読取部から上記第3信号を受信したことを条件に、上記第2投入扉を開放させる第2開放処理を上記第2開閉機構に実行させ、
上記第2読取部から上記第4信号を受信したことを条件に、上記第2投入扉を閉塞した状態に維持させる第2閉塞処理を上記第2開閉機構に実行させる請求項8に記載の分別回収装置。
【請求項10】
上記投入箱は、第3投入口を有しており、
上記識別情報を読み取る第3読取部と、
上記第3投入口を開閉可能な第3投入扉と、
上記第3投入扉を開閉する第3開閉機構と、
上記投入箱の内部空間に位置しており、上記第3投入口に投入された上記消耗品容器が回収される第4回収箱と、を備えており、
上記第3読取部は、上記第1メーカとは異なる第2メーカを示す第2メーカ情報および上記第1種類情報を含む上記識別情報を読み取ると、第5信号を上記制御部に出力し、上記第2メーカ情報および上記第1種類情報のうち少なくとも一方を含まない上記識別情報を読み取ると、上記第5信号とは異なる第6信号を上記制御部に出力し、
上記制御部は、
上記第3読取部から上記第5信号を受信したことを条件に、上記第3投入扉を開放させる第3開放処理を上記第3開閉機構に実行させ、
上記第3読取部から上記第6信号を受信したことを条件に、上記第3投入扉を閉塞した状態に維持させる第3閉塞処理を上記第3開閉機構に実行させる請求項9に記載の分別回収装置。
(【請求項11】以降は省略されています)
発明の詳細な説明
【技術分野】
【0001】
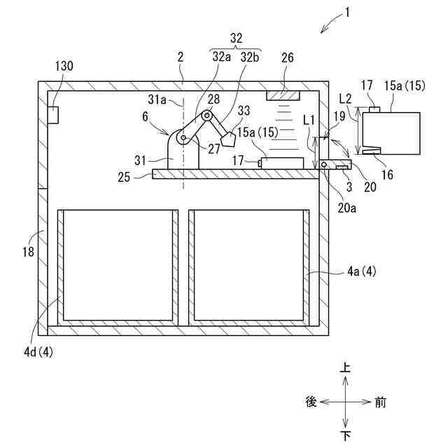
本開示は、液体が消費された消耗品容器を分別回収する分別回収装置に関する。
続きを表示(約 1,700 文字)
【背景技術】
【0002】
特許文献1には、本体ケースの前面上側に導入口が形成された液体収容体回収装置が開示されている。液体収容体回収装置では、ユーザは、使用済みのインクカートリッジを導入口に投入する。導入口に投入された使用済みのインクカートリッジは、本体ケース内に収容された収納部に収納される。
【先行技術文献】
【特許文献】
【0003】
特開2005-254604号公報
【発明の概要】
【発明が解決しようとする課題】
【0004】
液体収容体回収装置では、収納部に収納された使用済みのインクカートリッジは、インクカートリッジとしてリユース可能なものも、例えば、損傷によってインクカートリッジとしてリユース不可なものも、収納部に一緒に収納される。このため、収納部に収納されたインクカートリッジをインクカートリッジとしてリユースするときに、リサイクル業者が、インクカートリッジをインクカートリッジとしてリユース可能なものとリユース不可なものとに仕分ける必要があるので、インクカートリッジのリユースが困難である。
【0005】
本発明は、前述された事情に鑑みてなされたものであり、その目的は、消耗品容器のリユースを容易にする分別回収装置に関する。
【課題を解決するための手段】
【0006】
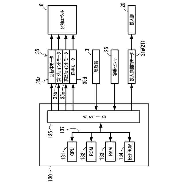
(1)本開示は、分別回収装置に関する。分別回収装置は、第1投入口を有する投入箱と、消耗品容器が備える記憶素子に記憶された識別情報を読み取る第1読取部と、上記投入箱の内部空間に位置する第1回収箱および第2回収箱と、上記第1投入口に投入された上記消耗品容器を上記第1回収箱および上記第2回収箱の一方へ仕分ける仕分機構と、制御部と、を備える。上記制御部は、上記識別情報に基づいて第1の判定を行ったことを条件に、上記第1投入口から上記第1回収箱へ上記消耗品容器を仕分ける第1仕分処理を上記仕分機構に実行させる。上記制御部は、上記識別情報に基づいて第2の判定を行ったことを条件に、上記第1投入口から上記第2回収箱へ上記消耗品容器を仕分ける第2仕分処理を上記仕分機構に実行させる。
【0007】
第1投入口を通して投入箱の内部空間に投入される消耗品容器は、制御部の判定結果に応じて第1回収箱または第2回収箱へ仕分けられるので、例えば、消耗品容器としてリユースされる特定のメーカの消耗品容器(例えば、インクカートリッジ)が第1回収箱へ回収され、消耗品容器とは別の用途にリサイクルされる消耗品容器(例えば、トナーカートリッジ、テープカセット、特定のメーカ以外のインクカートリッジ)が第2回収箱へ回収される。このため、リサイクル業者は、消耗品容器を再利用する用途ごとに仕分ける作業を省略できるので、消耗品容器のリユースが容易である。
【0008】
(2)上記分別回収装置は、記憶部をさらに有してもよい。上記識別情報は、個々の上記消耗品容器を識別する品番を含んでもよい。上記記憶部は、上記第1回収箱および上記第2回収箱のうち上記消耗品容器が回収されるべき回収箱と対応付けられた回収番号と上記品番とを対応付けて記憶してもよい。上記制御部は、上記記憶部から上記品番と対応する上記回収番号を抽出して、上記第1の判定および上記第2の判定を行ってもよい。
【0009】
制御部は、品番と対応する回収番号を記憶部から抽出して第1の判定および第2の判定を行うので、例えば、消耗品容器としてリユースされる消耗品容器と消耗品容器とは別の用途にリサイクルされる消耗品容器とがより確実に仕分けられる。
【0010】
(3)上記識別情報は、上記消耗品容器が消耗品容器としてリユースされたリユース回数を含んでもよい。上記制御部は、上記第1の判定を行った後、上記リユース回数が所定回数未満であると判定したことを条件に、上記第1仕分処理を上記仕分機構に実行させてもよい。
(【0011】以降は省略されています)
特許ウォッチbot のツイートを見る
この特許をJ-PlatPat(特許庁公式サイト)で参照する
関連特許
ブラザー工業株式会社
ホルダ
15日前
ブラザー工業株式会社
スキャナ
11日前
ブラザー工業株式会社
回収装置
15日前
ブラザー工業株式会社
印刷装置
8日前
ブラザー工業株式会社
印刷媒体
15日前
ブラザー工業株式会社
印刷媒体
15日前
ブラザー工業株式会社
スキャナ
11日前
ブラザー工業株式会社
印刷媒体
15日前
ブラザー工業株式会社
画像形成装置
11日前
ブラザー工業株式会社
画像形成装置
15日前
ブラザー工業株式会社
画像形成装置
15日前
ブラザー工業株式会社
画像形成装置
15日前
ブラザー工業株式会社
画像形成装置
15日前
ブラザー工業株式会社
画像形成装置
11日前
ブラザー工業株式会社
静電塗工装置
15日前
ブラザー工業株式会社
画像形成装置
11日前
ブラザー工業株式会社
画像形成装置
15日前
ブラザー工業株式会社
画像形成装置
15日前
ブラザー工業株式会社
分別回収装置
15日前
ブラザー工業株式会社
画像形成装置
15日前
ブラザー工業株式会社
燃料電池システム
15日前
ブラザー工業株式会社
燃料電池システム
15日前
ブラザー工業株式会社
ベルトユニットのリサイクル方法
15日前
ブラザー工業株式会社
ベルトユニットのリサイクル方法
15日前
ブラザー工業株式会社
加工装置、制御方法及びプログラム
15日前
ブラザー工業株式会社
インクジェット記録方法及び印刷物
10日前
ブラザー工業株式会社
画像形成方法及びそれに用いられる液体
11日前
ブラザー工業株式会社
数値制御装置、制御方法及びプログラム
15日前
ブラザー工業株式会社
サーバ、プログラム、及び印刷管理方法
15日前
ブラザー工業株式会社
工作機械の数値制御装置及び数値制御方法
15日前
ブラザー工業株式会社
工作機械の数値制御装置及び数値制御方法
15日前
ブラザー工業株式会社
画像形成装置、画像形成システム、消耗品
11日前
ブラザー工業株式会社
印刷装置、印刷方法、および印刷プログラム
15日前
ブラザー工業株式会社
カラオケ用プログラム、及び、カラオケ装置
15日前
ブラザー工業株式会社
液体吐出装置、その制御方法及びプログラム
15日前
ブラザー工業株式会社
液体吐出装置、その制御方法及びプログラム
15日前
続きを見る
他の特許を見る