TOP
|
特許
|
意匠
|
商標
特許ウォッチ
Twitter
他の特許を見る
10個以上の画像は省略されています。
公開番号
2025134638
公報種別
公開特許公報(A)
公開日
2025-09-17
出願番号
2025016611
出願日
2025-02-04
発明の名称
液体吐出ヘッド
出願人
ブラザー工業株式会社
代理人
主分類
B41J
2/14 20060101AFI20250909BHJP(印刷;線画機;タイプライター;スタンプ)
要約
【課題】高密度にノズルを配置し且つ共通流路の容積を確保しつつも大型化を抑制することが可能な液体吐出ヘッドを提供すること。
【解決手段】複数の個別流路列のうち第1個別流路列に含まれる第1圧力室16Aと、前記複数の個別流路列のうち前記第1個別流路列に隣接する第2個別流路列に含まれる第2圧力室16Bとは、前記第2方向に重なっている。前記第1個別流路列に含まれる第1ノズル15Aと、前記第2個別流路列に含まれる第2ノズル15Bとは、前記第2方向において前記共通流路12の一方に配置されている。前記第1ノズルは、前記第2方向において前記第2ノズルよりも前記共通流路の近くに配置され、且つ、前記上下方向において前記第2圧力室と重なっている。
【選択図】図5
特許請求の範囲
【請求項1】
上下方向に直交する第1方向に延びる共通流路と、
ノズル及び前記ノズルに連通する圧力室をそれぞれ含む複数の個別流路であって前記共通流路とそれぞれ連通する複数の個別流路と、を有する流路部材を備え、
前記第1方向に配列された前記複数の個別流路をそれぞれ含む複数の個別流路列が、前記上下方向及び前記第1方向と直交する第2方向に並んでおり、
前記複数の個別流路列のうち第1個別流路列に含まれる第1圧力室と、前記複数の個別流路列のうち前記第1個別流路列に隣接する第2個別流路列に含まれる第2圧力室とは、前記第2方向に重なっており、
前記第1個別流路列に含まれる第1ノズルと、前記第2個別流路列に含まれる第2ノズルとは、前記第2方向において前記共通流路の一方に配置されており、
前記第1ノズルは、前記第2方向において前記第2ノズルよりも前記共通流路の近くに配置され、且つ、前記上下方向において前記第2圧力室と重なっていることを特徴とする液体吐出ヘッド。
続きを表示(約 1,800 文字)
【請求項2】
前記複数の個別流路に含まれる複数の前記圧力室は、前記流路部材の表面に開口しており、
前記表面に配置され、前記複数の圧力室のそれぞれと前記上下方向に重なる複数のアクチュエータ部を有するアクチュエータ部材をさらに備えていることを特徴とする請求項1に記載の液体吐出ヘッド。
【請求項3】
前記第1個別流路列に含まれる第1個別流路は、前記第1ノズルから前記上下方向に延びる第1上下流路と、前記第1圧力室と前記第1上下流路とに連通する第1連通流路とを含み、
前記第1連通流路は、前記第2圧力室よりも下方において、屈曲せずに前記第2方向及び前記上下方向に交差する第3方向に延びていることを特徴とする請求項1に記載の液体吐出ヘッド。
【請求項4】
前記第1圧力室及び前記第1連通流路が前記共通流路と前記上下方向に重なっており、 前記共通流路の上面は、前記第1連通流路と重なる領域に、当該共通流路内に突出する凸部を有することを特徴とする請求項3に記載の液体吐出ヘッド。
【請求項5】
前記第1個別流路列に含まれる第1個別流路と、前記第2個別流路列に含まれる第2個別流路とは、流路抵抗が互いに同じであることを特徴とする請求項1に記載の液体吐出ヘッド。
【請求項6】
前記第1個別流路列に含まれる第1個別流路と、前記第2個別流路列に含まれる第2個別流路とは、イナータンスが互いに同じであることを特徴とする請求項1に記載の液体吐出ヘッド。
【請求項7】
前記第1個別流路は、前記第1圧力室と前記共通流路とを繋ぐ第1接続流路を含み、
前記第2個別流路は、前記第2圧力室と前記共通流路とを繋ぐ第2接続流路を含み、
前記第1接続流路及び前記第2接続流路は、流路長が互いに同じであり、且つ、流路幅が互いに同じであることを特徴とする請求項5に記載の液体吐出ヘッド。
【請求項8】
前記複数の個別流路列のうち第3個別流路列に含まれる第3圧力室と、前記複数の個別流路列のうち前記第3個別流路列に隣接する第4個別流路列に含まれる第4圧力室とは、前記第2方向に重なっており、
前記第3個別流路列に含まれる第3ノズルと、前記第4個別流路列に含まれる第4ノズルとは、前記第2方向において前記共通流路の他方に配置されており、
前記第3ノズルは、前記第2方向において前記第4ノズルよりも前記共通流路の近くに配置され、且つ、前記上下方向において前記第4圧力室と重なっており、
前記第1個別流路と、前記第3個別流路列に含まれる第3個別流路とは、流路構成が互いに同じであり、
前記第2個別流路と、前記第4個別流路列に含まれる第4個別流路とは、流路構成が互いに同じであることを特徴とする請求項5に記載の液体吐出ヘッド。
【請求項9】
前記第1個別流路は、前記第1ノズルから前記上下方向に延びる第1上下流路と、前記第1圧力室と前記第1上下流路とに連通する第1連通流路とを含み、
前記第2個別流路は、前記第2圧力室と前記第2ノズルとに連通する第2上下流路であって、前記第2ノズルから前記上下方向に延び前記第1上下流路よりも前記上下方向の長さが長い第2上下流路を含み、
前記第1連通流路は、前記上下方向に直交する第4方向に延びる部分を有することを特徴とする請求項5に記載の液体吐出ヘッド。
【請求項10】
前記第1個別流路列に含まれる第1個別流路は、前記第1ノズルから前記上下方向に延びる第1上下流路と、前記第1圧力室と前記第1上下流路とに連通する第1連通流路とを含み、
前記第2個別流路列に含まれる第2個別流路は、前記第2圧力室と前記第2ノズルとに連通する第2上下流路であって、前記第2ノズルから前記上下方向に延び前記第1上下流路よりも前記上下方向の長さが長い第2上下流路を含み、
前記第1連通流路は、前記第1上下流路の流路幅よりも小さい流路幅を有し、
前記第2上下流路の上部は、当該第2上下流路の前記上部以外の流路幅よりも小さい流路幅を有することを特徴とする請求項1に記載の液体吐出ヘッド。
(【請求項11】以降は省略されています)
発明の詳細な説明
【技術分野】
【0001】
本発明は、ノズルから液体を吐出させる液体吐出ヘッドに関する。
続きを表示(約 2,200 文字)
【背景技術】
【0002】
特許文献1には、上下に重なって配置された2つのインクプール(共通流路)と、ノズル及びノズルに連通する圧力室をそれぞれ含む複数の個別流路とを含むインクジェット記録ヘッドについて記載されている。インクジェット記録ヘッドにおいては、複数の個別流路が上方のインクプールとそれぞれ連通する複数の第1個別流路と下方のインクプールとそれぞれ連通する複数の第2個別流路とを含み、これら第1個別流路及び第2個別流路が部分的に上下に重なって配置され、複数のノズルが高密度で配置されている。
【先行技術文献】
【特許文献】
【0003】
特開2001-146010号公報
【発明の概要】
【発明が解決しようとする課題】
【0004】
上記特許文献1に記載のインクジェット記録ヘッドにおいては、複数のインクプールが上下に重なるように配置され、しかもインクプール間には第2個別流路の圧力室が配置されている。このため、インクジェット記録ヘッドの高さが大型化する。このインクジェット記録ヘッドの高さを小さくするため、インクプールの高さを小さくすると、インクプールの容積が小さくなってインクプールから各個別流路へのインク供給不足が生じる。
【0005】
そこで、本発明の目的は、高密度にノズルを配置し且つ共通流路の容積を確保しつつも大型化を抑制することが可能な液体吐出ヘッドを提供することである。
【課題を解決するための手段】
【0006】
本発明の態様に従えば、上下方向に直交する第1方向に延びる共通流路と、
ノズル及び前記ノズルに連通する圧力室をそれぞれ含む複数の個別流路であって前記共通流路とそれぞれ連通する複数の個別流路と、を有する流路部材を備える液体吐出ヘッドが提供される。前記第1方向に配列された前記複数の個別流路をそれぞれ含む複数の個別流路列が、前記上下方向及び前記第1方向と直交する第2方向に並んでいる。前記複数の個別流路列のうち第1個別流路列に含まれる第1圧力室と、前記複数の個別流路列のうち前記第1個別流路列に隣接する第2個別流路列に含まれる第2圧力室とは、前記第2方向に重なっている。前記第1個別流路列に含まれる第1ノズルと、前記第2個別流路列に含まれる第2ノズルとは、前記第2方向において前記共通流路の一方に配置されている。前記第1ノズルは、前記第2方向において前記第2ノズルよりも前記共通流路の近くに配置され、且つ、前記上下方向において前記第2圧力室と重なっている。
【発明の効果】
【0007】
本発明の液体吐出ヘッドによれば、第1ノズルが上下方向において第2圧力室に重なるので、第1個別流路列に含まれる第1圧力室と第1ノズルとに連通する連通流路の一部も第2圧力室と上下方向に重なる。このことは、同じ共通流路に接続された複数の個別流路を高密度に配置することに寄与している。これにより、複数のノズルを高密度に配置し且つ共通流路の第2方向の長さ(流路幅)及び高さを維持し共通流路の容積を確保しつつも流路部材の大型化を抑制することに寄与することができる。
【図面の簡単な説明】
【0008】
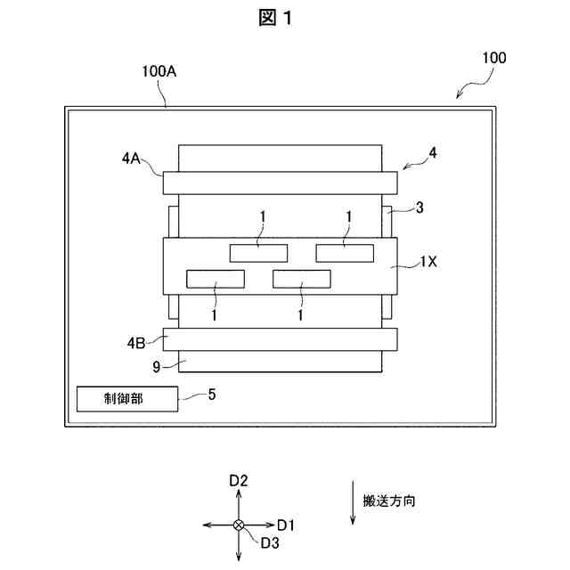
ヘッド1を含むプリンタの平面図である。
プリンタの電気的構成を示すブロック図である。
ヘッド1の平面図である。
流路部材の上面における図3に示す領域IVの拡大図である。
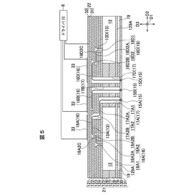
図4のV-V線に沿ったヘッドの断面図である。
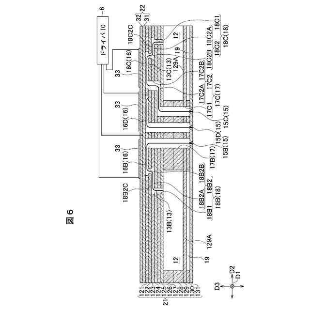
図4のVI-VI線に沿ったヘッドの断面図である。
ヘッド1の要部縦断面図である。
【0009】
(a)はヘッド1の要部縦断面図であり、(b)は図8(a)中に示す水平部317A2Aの平面図である。
ヘッド401の平面図である。
流路部材の上面における図9に示す領域IVの拡大図である。
(a)は図10のXIA-XIA線に沿ったヘッドの断面図であり、(b)は図10のXIB-XIB線に沿ったヘッドの断面図である。
(a)は図10のXIIA-XIIA線に沿ったヘッドの断面図であり、(b)は図10のXIIB-XIIB線に沿ったヘッドの断面図である。
図10に示す4つの第1個別流路~第4個別流路及び2つの共通流路を示す拡大図である。
(a)はヘッド401が上下方向に直交する面において第1方向に対して所定角度θだけ傾いたときの第1ノズル~第4ノズルの配置状況を示す図であり、(b)は他のヘッドが上下方向に直交する面において第1方向に対して所定角度θだけ傾いたときの第1ノズル~第4ノズルの配置状況を示す図である。
【発明を実施するための形態】
【0010】
<第1実施形態>
先ず、図1を参照し、第1実施形態に係るヘッド1を備えたプリンタ100の全体構成について説明する。なお、以下の説明において、第1方向D1及び第2方向D2は、水平方向であり、上下方向D3に直交する。本実施形態における上下方向D3は鉛直方向に沿っているが、鉛直方向及び水平方向に対して交差する上下方向であってもよい。第1方向D1は第2方向D2と直交する。
(【0011】以降は省略されています)
この特許をJ-PlatPat(特許庁公式サイト)で参照する
関連特許
ブラザー工業株式会社
ホルダ
27日前
ブラザー工業株式会社
印刷媒体
27日前
ブラザー工業株式会社
印刷媒体
27日前
ブラザー工業株式会社
電子機器
2日前
ブラザー工業株式会社
回収装置
27日前
ブラザー工業株式会社
印刷装置
8日前
ブラザー工業株式会社
スキャナ
23日前
ブラザー工業株式会社
スキャナ
23日前
ブラザー工業株式会社
印刷媒体
27日前
ブラザー工業株式会社
印刷装置
20日前
ブラザー工業株式会社
画像形成装置
27日前
ブラザー工業株式会社
静電塗工装置
27日前
ブラザー工業株式会社
画像形成装置
23日前
ブラザー工業株式会社
画像形成装置
23日前
ブラザー工業株式会社
分別回収装置
27日前
ブラザー工業株式会社
画像形成装置
27日前
ブラザー工業株式会社
画像形成装置
23日前
ブラザー工業株式会社
画像形成装置
27日前
ブラザー工業株式会社
画像形成装置
27日前
ブラザー工業株式会社
画像形成装置
7日前
ブラザー工業株式会社
画像形成装置
7日前
ブラザー工業株式会社
画像形成装置
7日前
ブラザー工業株式会社
画像形成装置
7日前
ブラザー工業株式会社
画像形成装置
27日前
ブラザー工業株式会社
シート給送装置
1日前
ブラザー工業株式会社
サポートプログラム
7日前
ブラザー工業株式会社
サポートプログラム
7日前
ブラザー工業株式会社
プリンタおよびプログラム
9日前
ブラザー工業株式会社
プリンタおよびプログラム
9日前
ブラザー工業株式会社
ベルトユニットのリサイクル方法
27日前
ブラザー工業株式会社
ベルトユニットのリサイクル方法
27日前
ブラザー工業株式会社
インクジェット記録方法及び印刷物
22日前
ブラザー工業株式会社
加工装置、制御方法及びプログラム
27日前
ブラザー工業株式会社
サーバ、プログラム、及び印刷管理方法
27日前
ブラザー工業株式会社
数値制御装置、制御方法及びプログラム
27日前
ブラザー工業株式会社
画像形成方法及びそれに用いられる液体
23日前
続きを見る
他の特許を見る