TOP
|
特許
|
意匠
|
商標
特許ウォッチ
Twitter
他の特許を見る
10個以上の画像は省略されています。
公開番号
2025119214
公報種別
公開特許公報(A)
公開日
2025-08-14
出願番号
2024013967
出願日
2024-02-01
発明の名称
潜像印刷物
出願人
独立行政法人 国立印刷局
代理人
主分類
B41M
3/14 20060101AFI20250806BHJP(印刷;線画機;タイプライター;スタンプ)
要約
【課題】
本発明は、真偽判別性と偽造防止効果を向上させることが可能な潜像印刷物を提供することを目的とする。
【解決手段】
基材の少なくとも一部の印刷領域に、基材と異なる色の画線が複数配置されて成り、一様な濃度として視認される画像を有する印刷模様を備え、印刷領域に配置された画線は、部分的に角度と形状の少なくとも一方が異なり、画線の角度又は形状の少なくとも一方の差を読み取る読取装置によって、潜像が可視化される潜像印刷物であって、印刷模様は、画線が光輝性材料によって形成された光輝性画像と、光輝性画像の一部の上に積層され、透明材料によって形成された潜像画像とを含む構成とする。
【選択図】図2
特許請求の範囲
【請求項1】
基材の少なくとも一部の印刷領域に、前記基材に画線が複数配置されて成り、一様な濃度として視認される画像を有する印刷模様を備え、前記印刷領域に配置された前記画線は、部分的に角度と形状の少なくとも一方が異なり、
正反射光領域の観察角度において潜像が視認でき、前記画線の角度又は形状の少なくとも一方の差を読み取る読取装置によって、前記潜像とは別の潜像が可視化される印刷物であって、
前記印刷模様は、
(i)光輝性材料によって形成された光輝性画像と、前記光輝性画像の一部の上に積層され、透明材料によって形成された潜像画像とを含むか、又は、
(ii)光輝性材料によって形成された光輝性画像と、前記光輝性画像の下に、前記基材よりも光沢の高い透明材料又は前記基材と等色の潜像画像とを含むか、又は、
(iii)前記画線の一部が光輝性材料によって形成された光輝性画像と、前記画線の一部を除く残りの画線が前記光輝性材料と等色の着色インキによって形成された潜像画像とを含むか、又は、
(iv)部分的に濃度が異なる前記画線が光輝性材料によって形成された光輝性画像と、前記部分的に濃度が異なる前記画線において濃度が低い前記画線の上に、前記光輝性材料と同じ色相の着色インキによって前記画線が形成された潜像画像とを含むことを特徴とする潜像印刷物。
続きを表示(約 100 文字)
【請求項2】
前記印刷模様は、前記光輝性画像を形成している画線と重ならない領域に、前記光輝性材料によって形成された可視画像を形成している画線を更に含むことを特徴とする請求項1に記載の潜像印刷物。
発明の詳細な説明
【技術分野】
【0001】
本発明は、偽造防止効果を必要とする銀行券、パスポ-ト、有価証券、身分証明書、カ-ド、通行券等の貴重印刷物の分野において、印刷機によって出力可能な潜像印刷物に関する。
続きを表示(約 2,000 文字)
【背景技術】
【0002】
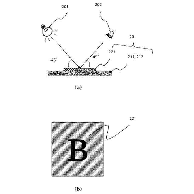
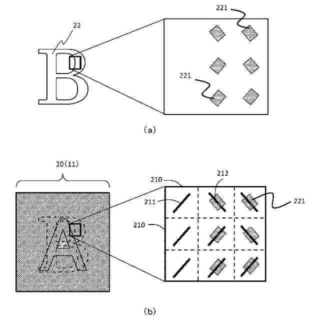
銀行券、パスポート、有価証券、証明書、重要書類等のセキュリティ印刷物では、偽造や変造を防ぐことが重要である。これらの偽造防止策の一つに、網点や画線の配置、多層構造、特殊材料等によって印刷模様に手段と作用を加えることで、文字や図形等を目視では認識できないように潜像化させた潜像印刷物がある。このような潜像印刷物において、潜像部と背景部に、形状、大きさ、色が同一であり、配置される角度が異なる画線を設けた潜像印刷物が知られている(例えば、特許文献1及び2参照)。特許文献1及び特許文献2の潜像印刷物は、エッジを抽出する読取装置によって可視化することができる。
【先行技術文献】
【特許文献】
【0003】
特許第6976527号公報
特許第7323112号公報
【発明の概要】
【発明が解決しようとする課題】
【0004】
しかしながら、特許文献1及び特許文献2の潜像印刷物は、読取装置だけでなく複写機で複写した場合にも潜像が再現されてしまう場合がある。そのため、配置される角度が異なる画線から成る潜像模様のみが印刷された潜像印刷物には、真偽判別性や偽造防止効果に改善の余地がある。
【0005】
そこで、本発明は、真偽判別性と偽造防止効果を向上させることが可能な潜像印刷物を提供することを目的とする。
【課題を解決するための手段】
【0006】
本発明に係る潜像印刷物は、基材の少なくとも一部の印刷領域に、基材に画線が複数配置されて成り、一様な濃度として視認される画像を有する印刷模様を備え、印刷領域に配置された画線は、部分的に角度と形状の少なくとも一方が異なり、正反射光領域の観察角度において潜像が視認でき、画線の角度又は形状の少なくとも一方の差を読み取る読取装置によって、潜像とは別の潜像が可視化される印刷物であって、印刷模様は、(i)光輝性材料によって形成された光輝性画像と、光輝性画像の一部の上に積層され、透明材料によって形成された潜像画像とを含むか、又は、(ii)光輝性材料によって形成された光輝性画像と、光輝性画像の下に、基材よりも光沢の高い透明材料又は基材と等色の潜像画像とを含むか、又は、(iii)画線の一部が光輝性材料によって形成された光輝性画像と、画線の一部を除く残りの画線が光輝性材料と等色の着色インキによって形成された潜像画像とを含むか、又は、(iv)部分的に濃度が異なる画線が光輝性材料によって形成された光輝性画像と、部分的に濃度が異なる画線において濃度が低い画線の上に、光輝性材料と同じ色相の着色インキによって画線が形成された潜像画像とを含むことを特徴とする。
【0007】
また、本発明に係る潜像印刷物は、印刷模様が、光輝性画像を形成している画線と重ならない領域に、光輝性材料によって形成された可視画像を形成している画線を更に含むことを特徴とする。
【発明の効果】
【0008】
本発明に係る潜像印刷物によれば、基材に印刷される印刷模様には、光輝性画像だけでなく潜像画像も形成されている。したがって、真偽判別性と偽造防止効果を向上させることが可能となる。
【図面の簡単な説明】
【0009】
第1実施形態に係る潜像印刷物の平面図である。
第1実施形態に係る印刷模様の構成を示す図である。
第1実施形態に係る光輝性画像の構成を示す図である。
印刷模様の光輝性画像を可視化する方法を説明するための模式図である。
第1実施形態に係る潜像画像の構成を示す図である。
印刷模様の潜像画像を出現させる方法を説明するための模式図である。
第1実施形態に係る潜像画像の別の構成を示す図である。
第2実施形態に係る印刷模様の構成を示す図である。
第3実施形態に係る印刷模様の構成を示す図である。
第3実施形態に係る光輝性画像を構成する画線と、潜像画像を構成する画線の配置を示す図である。
第4実施形態に係る印刷模様の構成を示す図である。
第4実施形態に係る印刷模様の別の構成を示す図である。
第5実施形態に係る印刷模様の構成を示す図である。
第5実施形態に係る光輝性画像の構成を示す図である。
【発明を実施するための形態】
【0010】
本発明の実施形態について図面を用いて説明する。しかしながら、本発明は、以下に述べる実施するための最良の形態に限定されるものではなく、特許請求の範囲記載における技術的思想の範囲内であれば、その他のいろいろな形態が実施可能である。
(【0011】以降は省略されています)
特許ウォッチbot のツイートを見る
この特許をJ-PlatPat(特許庁公式サイト)で参照する
関連特許
個人
箔熱転写装置
2か月前
シヤチハタ株式会社
印判
5か月前
東レ株式会社
凸版印刷版原版
11か月前
三菱製紙株式会社
感熱記録材料
12か月前
シヤチハタ株式会社
反転式印判
10か月前
三光株式会社
感熱記録材料
7か月前
キヤノン株式会社
電子機器
13日前
キヤノン株式会社
記録装置
2か月前
独立行政法人 国立印刷局
印刷物
8か月前
株式会社リコー
液体吐出装置
9か月前
株式会社リコー
画像形成装置
1か月前
株式会社リコー
画像形成装置
2か月前
株式会社リコー
液体吐出装置
3か月前
株式会社リコー
液体吐出装置
5か月前
株式会社リコー
液体吐出装置
6か月前
独立行政法人 国立印刷局
貼付装置
2か月前
株式会社リコー
印刷システム
1か月前
株式会社リコー
液体吐出装置
7か月前
株式会社リコー
液体吐出装置
5か月前
株式会社リコー
画像形成装置
1か月前
株式会社リコー
液体吐出装置
8か月前
日本製紙株式会社
感熱記録体
8か月前
株式会社リコー
液体吐出装置
9か月前
独立行政法人 国立印刷局
貼付機構
3か月前
独立行政法人 国立印刷局
記録媒体
10か月前
キヤノン株式会社
画像形成装置
6か月前
キヤノン株式会社
印刷制御装置
11か月前
独立行政法人 国立印刷局
潜像印刷物
3か月前
ブラザー工業株式会社
プリンタ
3か月前
キヤノン株式会社
画像形成装置
11か月前
フジコピアン株式会社
中間転写シート
11か月前
キヤノン株式会社
画像形成装置
2か月前
キヤノン株式会社
画像処理装置
5か月前
キヤノン株式会社
画像記録装置
2か月前
キヤノン株式会社
画像形成装置
7か月前
キヤノン株式会社
印刷システム
8か月前
続きを見る
他の特許を見る