TOP
|
特許
|
意匠
|
商標
特許ウォッチ
Twitter
他の特許を見る
10個以上の画像は省略されています。
公開番号
2025141117
公報種別
公開特許公報(A)
公開日
2025-09-29
出願番号
2024040889
出願日
2024-03-15
発明の名称
印刷システム
出願人
株式会社リコー
代理人
個人
主分類
B41J
2/01 20060101AFI20250919BHJP(印刷;線画機;タイプライター;スタンプ)
要約
【課題】画質を低下させることなく、インクが流れることにより生じる異常画像を抑制できる印刷システムを提供する。
【解決手段】印刷装置1と、転写用の画像に対して接着剤を付与する付与装置400と、を有する印刷システム300であって、印刷装置は、転写用基材に液体を吐出する吐出部と、転写用基材が搬送される搬送経路と、転写用基材を加熱する加熱手段と、を有する。付与装置は、接着剤を付与する付与部と、転写用基材の搬送経路と、を有する。加熱手段は、吐出部よりも転写用基材の搬送方向の上流側に設けられた第1の加熱部と、搬送経路を介して吐出部と対向する位置に設けられた第2の加熱部と、を有する。第2の加熱部よりも転写用基材の搬送方向の下流側であって転写用基材の搬送経路の少なくとも一部に水平方向に対して傾斜する傾斜部が設けられている。吐出部及び加熱手段は、傾斜部よりも転写用基材の搬送方向の上流側に設けられている。
【選択図】図1
特許請求の範囲
【請求項1】
転写用基材に転写用の画像を形成する印刷装置と、
前記印刷装置により形成された転写用の画像に対して接着剤を付与する付与装置と、を有する印刷システムであって、
前記印刷装置は、前記転写用基材に液体を吐出する吐出部と、前記転写用基材が搬送される搬送経路と、前記転写用基材を加熱する加熱手段と、を有し、
前記付与装置は、前記接着剤を付与する付与部と、前記転写用基材が搬送される搬送経路と、を有し、
前記加熱手段は、前記吐出部よりも前記転写用基材の搬送方向の上流側に設けられた第1の加熱部と、前記転写用基材の搬送経路を介して前記吐出部と対向する位置に設けられた第2の加熱部と、を有し、
前記第2の加熱部よりも前記転写用基材の搬送方向の下流側であって前記転写用基材の搬送経路の少なくとも一部に水平方向に対して傾斜する傾斜部が設けられており、
前記吐出部及び前記加熱手段は、前記傾斜部よりも前記転写用基材の搬送方向の上流側に設けられている
ことを特徴とする印刷システム。
続きを表示(約 1,600 文字)
【請求項2】
前記印刷装置と前記付与装置の間に前記転写用基材が搬送される搬送経路が設けられており、
前記印刷装置における前記転写用基材が搬送される搬送経路を第1の搬送経路とし、前記付与装置における前記転写用基材が搬送される搬送経路を第2の搬送経路とし、前記印刷装置と前記付与装置の間における前記転写用基材が搬送される搬送経路を第3の搬送経路としたとき、
前記傾斜部は、前記第1の搬送経路、第2の搬送経路及び第3の搬送経路から選ばれる少なくとも一以上に設けられている
ことを特徴とする請求項1に記載の印刷システム。
【請求項3】
前記印刷装置内の前記転写用基材の搬送経路は、前記転写用基材の搬送方向において、前記吐出部により吐出された液体が前記転写用基材に着弾する箇所から又は液体が着弾する箇所よりも上流側近傍の箇所から、前記第2の加熱部の下流側の端部の箇所まで、水平又は略水平である
ことを特徴とする請求項1に記載の印刷システム。
【請求項4】
前記傾斜部において、前記転写用基材がたるみを有する
ことを特徴とする請求項1に記載の印刷システム。
【請求項5】
前記傾斜部において、前記転写用基材の自重によって、前記転写用基材がたるみを有する
ことを特徴とする請求項1に記載の印刷システム。
【請求項6】
網点面積率又はドット径を測定可能な測色手段を有し、
前記測色手段の測定結果に基づいて前記印刷装置の印刷条件を補正する設定補正モードを有し、
前記設定補正モードは、前記吐出部により転写用基材に検知用パターンを形成し、前記測色手段により前記検知用パターンを測定して測定結果を得て、前記測定結果に基づいて、前記加熱手段の加熱温度を調整する
ことを特徴とする請求項1に記載の印刷システム。
【請求項7】
網点面積率又はドット径を測定可能な測色手段を有し、
前記測色手段の測定結果に基づいて前記印刷装置の印刷条件を補正する設定補正モードを有し、
前記設定補正モードは、前記吐出部により転写用基材に検知用パターンを形成し、前記測色手段により前記検知用パターンの網点面積率又はドット径を測定し、測定された前記検知用パターンの網点面積率又はドット径が所定の範囲外である場合、前記加熱手段の加熱温度を調整する
ことを特徴とする請求項1に記載の印刷システム。
【請求項8】
網点面積率を測定可能な測色手段を有し、
前記測色手段の測定結果に基づいて前記印刷装置の印刷条件を補正する設定補正モードを有し、
前記吐出部は、1つ以上のノズル列を有し、
前記設定補正モードは、前記測色手段により前記検知用パターンにおける前記ノズル列ごとの網点面積率を測定し、網点面積率の平均値を算出し、前記網点面積率の平均値が所定の範囲外である場合、前記加熱手段の加熱温度を調整する
ことを特徴とする請求項1に記載の印刷システム。
【請求項9】
前記設定補正モードは、前記ノズル列ごとに前記網点面積率の平均値からの差分を算出し、前記差分が所定の範囲外となるノズル列に対して吐出する液体の量を調整する
ことを特徴とする請求項8に記載の印刷システム。
【請求項10】
ドット径を測定可能な測色手段を有し、
前記測色手段の測定結果に基づいて前記印刷装置の印刷条件を補正する設定補正モードを有し、
前記吐出部は、1つ以上のノズル列を有し、
前記設定補正モードは、前記測色手段により前記検知用パターンにおける前記ノズル列ごとのドット径を測定し、ドット径の平均値を算出し、前記ドット径の平均値が所定の範囲外である場合、前記加熱手段の加熱温度を調整する
ことを特徴とする請求項1に記載の印刷システム。
(【請求項11】以降は省略されています)
発明の詳細な説明
【技術分野】
【0001】
本発明は、印刷システムに関する。
続きを表示(約 2,200 文字)
【背景技術】
【0002】
DTF(Direct To Film)方式のプリンタを有する印刷システムが知られている。DTF方式のプリンタは、着色用のインクをフィルム等の転写用基材に付与することで転写用の画像を形成する。転写用の画像に、例えば接着パウダーを塗布し、フィルム上の転写用の画像を衣類などの被転写材に転写する。転写の際には、必要に応じて加熱や加圧が行われる。
【0003】
被転写材に画像を転写するための転写フィルムは、例えば以下のようにして作製する。転写用の画像が形成された転写用基材をシェイカーに搬送し、シェイカー内で接着パウダーを付着させる。シェイカーでは、必要に応じて余分な接着パウダーが除去され、熱処理(ベーキング)することで転写フィルムが完成する。DTF方式のプリンタとシェイカーを接続することで、転写用の画像の形成から、転写フィルムの作製までを自動化することができる。
【0004】
フィルム等の転写用基材にインクを付与して転写用の画像を形成する際、フィルム上でインクが流れて異常画像となってしまう問題がある。従来技術では、DTF方式に関するものではないものの、ヒータ等の加熱手段を制御することが開示されている。
【0005】
特許文献1には、画質安定性の向上のため、パス数に応じてヒータの温度を制御することが開示されている。
特許文献2には、テストパターン印字の結果に基づいて印刷用紙に対するインクの滲み度を判定し、その判定結果に応じた温度で印刷時に印刷用紙を加熱することが開示されている。特許文献2によれば、印刷時のインク転写汚れを防ぐことができるとしている。
特許文献3には、乾燥不良防止のために、単位面積当たりに付着する最大インク量を算出してヒータ温度を制御することが開示されている。
【発明の概要】
【発明が解決しようとする課題】
【0006】
しかしながら、従来技術では、転写用の画像を転写用基材に形成する際、転写用基材上でインクが流れて異常画像になってしまう問題を解決できていない。転写用基材の搬送経路上には、水平方向に対して傾斜している箇所がある場合が多く、転写用基材が傾斜している箇所を通るときにインクが流れてしまっていた。インクが流れることにより生じる異常画像を防ぐために、インクの量を全体的に抑えることも考えられるが、そのようにすると画質が低下してしまう。
【0007】
そこで本発明は、画質を低下させることなく、インクが流れることにより生じる異常画像を抑制できる印刷システムを提供することを目的とする。
【課題を解決するための手段】
【0008】
上記課題を解決するために、本発明の印刷システムは、
転写用基材に転写用の画像を形成する印刷装置と、
前記印刷装置により形成された転写用の画像に対して接着剤を付与する付与装置と、を有する印刷システムであって、
前記印刷装置は、前記転写用基材に液体を吐出する吐出部と、前記転写用基材が搬送される搬送経路と、前記転写用基材を加熱する加熱手段と、を有し、
前記付与装置は、前記接着剤を付与する付与部と、前記転写用基材が搬送される搬送経路と、を有し、
前記加熱手段は、前記吐出部よりも前記転写用基材の搬送方向の上流側に設けられた第1の加熱部と、前記転写用基材の搬送経路を介して前記吐出部と対向する位置に設けられた第2の加熱部と、を有し、
前記第2の加熱部よりも前記転写用基材の搬送方向の下流側であって前記転写用基材の搬送経路の少なくとも一部に水平方向に対して傾斜する傾斜部が設けられており、
前記吐出部及び前記加熱手段は、前記傾斜部よりも前記転写用基材の搬送方向の上流側に設けられている
ことを特徴とする。
【発明の効果】
【0009】
本発明によれば、画質を低下させることなく、インクが流れることにより生じる異常画像を抑制できる印刷システムを提供することができる。
【図面の簡単な説明】
【0010】
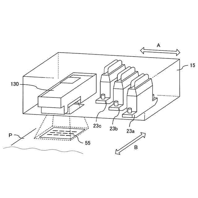
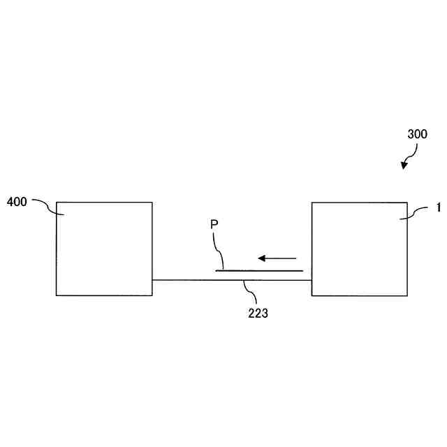
印刷システムの一例を示す図である。
印刷装置の一例を示す斜視図である。
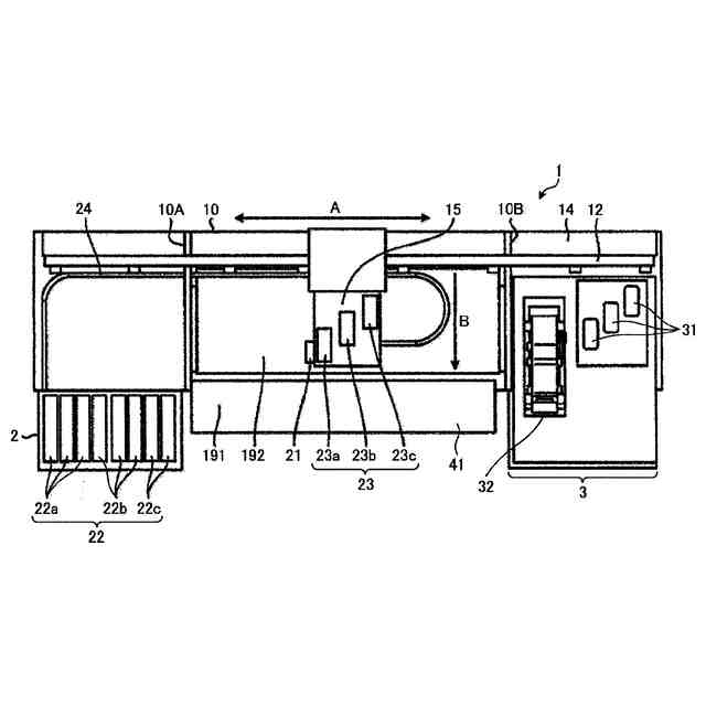
印刷装置の一例の構成を示す図である。
印刷装置の一例におけるハードウェア構成を示すブロック図である。
印刷装置の一例におけるヒータの構成を示す図である。
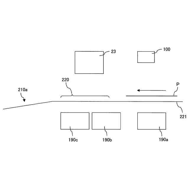
印刷システムの一例を示す図であり、傾斜部の一例を説明するための図である。
印刷装置の一例を示す他の図である。
印刷装置の他の例を示す図であり、測色手段の一例を説明するための図である。
設定補正モードの一例を示すフローである。
設定補正モードの他の例を示すフローである。
設定補正モードの他の例を示すフローである。
設定補正モードの他の例を示すフローである。
設定補正モードの他の例を示すフローである。
設定補正モードの他の例を示すフローである。
インク付着量を領域ごとに調整する場合の一例を説明するための図(A)及び(B)である。
インク付着量と濃度の関係の一例を説明するための図である。
【発明を実施するための形態】
(【0011】以降は省略されています)
この特許をJ-PlatPat(特許庁公式サイト)で参照する
関連特許
株式会社リコー
移動体
24日前
株式会社リコー
画像形成装置
5日前
株式会社リコー
画像形成装置
2日前
株式会社リコー
画像形成装置
2日前
株式会社リコー
画像形成装置
29日前
株式会社リコー
画像形成装置
10日前
株式会社リコー
画像形成システム
29日前
株式会社リコー
機器及び異常判定方法
10日前
株式会社リコー
画像形成装置及びシステム
8日前
株式会社リコー
定着装置、及び画像形成装置
10日前
株式会社リコー
延長トレイ及び画像形成装置
5日前
株式会社リコー
印刷装置および印刷システム
29日前
株式会社リコー
画像読取装置及び画像読取方法
4日前
株式会社リコー
液体吐出装置及び液体吐出方法
29日前
株式会社リコー
システム、方法およびプログラム
29日前
株式会社リコー
表示装置、切替方法、プログラム
15日前
株式会社リコー
媒体処理装置及び画像形成システム
29日前
株式会社リコー
媒体処理装置及び画像形成システム
29日前
株式会社リコー
媒体処理装置及び画像形成システム
29日前
株式会社リコー
樹脂粒子、及び樹脂粒子の製造方法
2日前
株式会社リコー
媒体処理装置及び画像形成システム
29日前
株式会社リコー
媒体処理装置及び画像形成システム
5日前
株式会社リコー
シート給紙装置、および画像形成装置
29日前
株式会社リコー
通信端末、通信方法、及びプログラム
8日前
株式会社リコー
読取装置、読取方法およびプログラム
5日前
株式会社リコー
通信装置、通信方法、及びプログラム
8日前
株式会社リコー
シート給送装置及び画像形成システム
11日前
株式会社リコー
処理剤液塗布装置および画像形成装置
29日前
株式会社リコー
加熱装置、定着装置及び画像形成装置
9日前
株式会社リコー
光源装置、画像投影装置および調整方法
15日前
株式会社リコー
通信装置、状態制御方法、及びプログラム
11日前
株式会社リコー
ノード、データ共有方法、及びプログラム
22日前
株式会社リコー
画像形成装置、及び、プロセスカートリッジ
15日前
株式会社リコー
画像形成装置、情報処理方法及びプログラム
8日前
株式会社リコー
画像読取装置、画像判定方法およびプログラム
8日前
株式会社リコー
画像形成装置、画像処理方法およびプログラム
3日前
続きを見る
他の特許を見る