TOP
|
特許
|
意匠
|
商標
特許ウォッチ
Twitter
他の特許を見る
10個以上の画像は省略されています。
公開番号
2025145544
公報種別
公開特許公報(A)
公開日
2025-10-03
出願番号
2024045766
出願日
2024-03-21
発明の名称
システム、方法およびプログラム
出願人
株式会社リコー
代理人
弁理士法人酒井国際特許事務所
主分類
G06Q
10/10 20230101AFI20250926BHJP(計算;計数)
要約
【課題】機器が変更されてもユーザが設定の変更作業を行うことなく機器と端末とを無線接続することが可能なシステム、方法およびプログラムを提供することを目的とする。
【解決手段】本発明にかかるシステムは、機器と、機器の機器情報を読み取る読取装置と、読取装置により読み取られた機器情報と読取装置の場所を示す場所情報とが対応付けられた情報を読取装置から受け取って記憶するサーバ装置と、サーバ装置から送信される無線接続情報を使用して複数の機器の中から所定の機器と無線通信を確立する情報端末と、を有し、サーバ装置は、複数の読取装置の場所情報のうち所定の機器の機器情報を読み取った読取装置の場所情報に対応させて所定の機器の識別情報を表示する表示情報を情報端末に送信し、情報端末において表示情報に基づいて選択された識別情報に対応する機器情報の無線接続情報を情報端末に送信することを特徴とする。
【選択図】図1
特許請求の範囲
【請求項1】
機器と、
前記機器の機器情報を読み取る読取装置と、
前記読取装置により読み取られた前記機器情報と前記読取装置の場所を示す場所情報とが対応付けられた情報を前記読取装置から受け取って記憶するサーバ装置と、
前記サーバ装置から送信される無線接続情報を使用して複数の前記機器の中から所定の機器と無線通信を確立する情報端末と、
を有し、
前記サーバ装置は、複数の前記読取装置の前記場所情報のうち前記所定の機器の前記機器情報を読み取った前記読取装置の場所情報に対応させて前記所定の機器の識別情報を表示する表示情報を前記情報端末に送信し、
前記情報端末において前記表示情報に基づいて選択された前記識別情報に対応する前記機器情報の無線接続情報を前記情報端末に送信する、
システム。
続きを表示(約 1,200 文字)
【請求項2】
前記読取装置が読み取る前記機器情報は、前記所定の機器の前記無線接続情報を含む、
請求項1に記載のシステム。
【請求項3】
前記読取装置は、読取範囲にある前記機器の前記機器情報を非接触で読み取る、
請求項1に記載のシステム。
【請求項4】
前記情報端末は、前記読取装置の場所情報に対応させて表示する前記所定の機器の識別情報として前記所定の機器の機器名を表示する、
請求項1に記載のシステム。
【請求項5】
前記情報端末は、選択される前記識別情報に対応付けて、事前に予約した前記場所の予約情報を表示する、
請求項1に記載のシステム。
【請求項6】
前記情報端末は、前記場所の予約日時に基づいて前記予約情報を表示する、
請求項5に記載のシステム。
【請求項7】
前記サーバ装置は、前記所定の機器と前記情報端末との無線通信が確立すると、接続状態の表示に更新する、
請求項1に記載のシステム。
【請求項8】
前記サーバ装置は、複数の前記読取装置のそれぞれの場所を含む実際のレイアウトを模した表示情報に前記所定の機器の前記識別情報を表示させた表示情報を前記情報端末に送信する、
請求項1に記載のシステム。
【請求項9】
機器と、読取装置と、サーバ装置と、情報端末とを含むシステムにおいて行われる方法であって、
前記機器の機器情報を前記読取装置により読み取るステップと、
前記読取装置の場所を示す場所情報と前記読取装置が読み取った前記機器情報とを対応付けた情報を前記サーバ装置に送信するステップと、
前記サーバ装置が、複数の前記読取装置の前記場所情報のうち所定の機器の前記機器情報を読み取った前記読取装置の場所情報に対応させて前記所定の機器の識別情報を表示する表示情報を前記情報端末に送信するステップと、
前記サーバ装置が、前記情報端末が前記表示情報に基づいて選択した前記識別情報に対応する前記機器情報の無線接続情報を前記情報端末に送信するステップと、
前記情報端末が、前記サーバ装置から送信された前記無線接続情報を使用して複数の前記機器の中から前記所定の機器と無線通信を確立するステップと、
を含む方法。
【請求項10】
コンピュータに、
場所情報と、所定の機器の機器情報とを受信するステップと、
前記所定の機器の識別情報を、複数の前記場所情報のうち前記所定の機器に対応する前記機器情報の場所情報に対応させて表示する表示情報を情報端末に送信するステップと、
前記情報端末が前記表示情報に基づいて選択した前記識別情報に対応する前記機器情報の無線接続情報を前記情報端末に送信するステップと、
を実行させるためのプログラム。
発明の詳細な説明
【技術分野】
【0001】
本発明は、システム、方法およびプログラムに関する。
続きを表示(約 2,200 文字)
【背景技術】
【0002】
従来、会議用のデバイスは、予め会議の参加者の端末に設定情報が送信されるため、会議の際に、設定情報が送信された端末から無線接続を行うことにより端末からの利用が可能になる。
【0003】
特許文献1には、無線接続情報を会議開催通知メールに添付して会議端末および他の情報機器に配信し、無線接続情報に基づいて会議端末および他の情報機器を無線接続可能にする構成が開示されている。
【発明の概要】
【発明が解決しようとする課題】
【0004】
しかしながら、従来は、事前の設定を行うことで、会議デバイスなどの機器と接続を行おうとする端末との間で無線接続が確立される。このため、会議直前や会議の場などにおいて機器が変更されると、その度に事前の設定を変更するなどの余計な作業が発生するという問題があった。
【0005】
本発明は、上記に鑑みてなされたものであって、機器が変更されてもユーザが設定の変更作業を行うことなく機器と端末とを無線接続することが可能なシステム、方法およびプログラムを提供することを目的とする。
【課題を解決するための手段】
【0006】
上述した課題を解決し、目的を達成するために、本発明にかかるシステムは、機器と、前記機器の機器情報を読み取る読取装置と、前記読取装置により読み取られた前記機器情報と前記読取装置の場所を示す場所情報とが対応付けられた情報を前記読取装置から受け取って記憶するサーバ装置と、前記サーバ装置から送信される無線接続情報を使用して複数の前記機器の中から所定の機器と無線通信を確立する情報端末と、を有し、前記サーバ装置は、複数の前記読取装置の前記場所情報のうち前記所定の機器の前記機器情報を読み取った前記読取装置の場所情報に対応させて前記所定の機器の識別情報を表示する表示情報を前記情報端末に送信し、前記情報端末において前記表示情報に基づいて選択された前記識別情報に対応する前記機器情報の無線接続情報を前記情報端末に送信することを特徴とする。
【発明の効果】
【0007】
本発明によれば、機器が変更されてもユーザが設定の変更作業を行うことなく機器と端末とを無線接続することができるという効果を奏する。
【図面の簡単な説明】
【0008】
図1は、実施の形態にかかるシステムの構成の一例を示す図である。
図2は、管理サーバのハードウェアブロックの構成の一例を示す図である。
図3は、RFIDタグリーダのハードウェアブロックの構成の一例を示す図である。
図4は、RFIDタグのハードウェアブロックの構成の一例を示す図である。
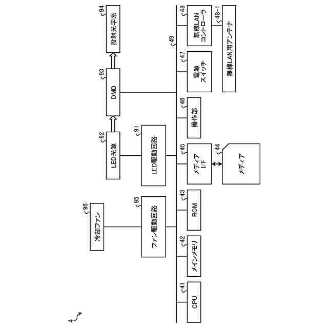
図5は、会議デバイスのハードウェアブロックの構成の一例を示す図である。
図6は、手元端末のハードウェアブロックの構成の一例を示す図である。
図7は、各装置が有する機能ブロックの概略構成の一例を示す図である。
図8は、管理サーバの機能ブロックを会議サーバへ適用した場合の具体的な構成の一例を示す図である。
図9は、図8に示される記憶部が有するデータのテーブル構成の一例を示す図である。
図10は、仮想オフィスのレイアウトの一例を示す図である。
図11は、ユーザがプロジェクタ(会議デバイス)を持って会議室に入室することで管理サーバにプロジェクタ(会議デバイス)の機器情報の登録を行う処理のシーケンスの一例を示す図である。
図12は、入室した会議室においてユーザが手元端末の会議アプリを起動したときに行われる処理のシーケンスの一例を示す図である。
図13は、表示データ作成部が作成する仮想オフィス画面の構成の一例を示す図である。
図14は、確認画面の一例を示す図である。
図15は、無線接続後の更新画面の一例を示す図である。
図16は、実施の形態の変形例1にかかる処理のシーケンスの一例を示す図である。
図17は、会議予約情報登録画面の一例を示す図である。
図18は、確認用のダイアログの一例を示す図である。
図19は、表示データ作成部が作成する仮想フリースペース画面の構成の一例を示す図である。
図20は、確認用のダイアログの一例を示す図である。
【発明を実施するための形態】
【0009】
以下に添付図面を参照して、システム、方法およびプログラムの実施の形態を詳細に説明する。以下に示す実施の形態は、読取装置ごとに対応する場所を設定して、設定した場所ごとに機器を管理する。読取装置の場所が例えば会議室の場合は各室に区切られているため1室ごとに機器を管理する。なお、以下に示す実施の形態は、機器を会議デバイスとした場合の例を示すが、以下で例示する会議の形態に限らず、様々な形態での実施が可能である。
【0010】
以下において、管理サーバは「サーバ装置」に対応し、RFID(Radio Frequency IDentification)タグリーダは「読取装置」に対応し、会議デバイスは「機器」に対応し、手元端末は「情報端末」に対応する。
(【0011】以降は省略されています)
この特許をJ-PlatPat(特許庁公式サイト)で参照する
関連特許
株式会社リコー
綴じ装置
1か月前
株式会社リコー
液体吐出装置
1か月前
株式会社リコー
液体塗布装置
12日前
株式会社リコー
画像形成装置
1か月前
株式会社リコー
履帯式走行体
1か月前
株式会社リコー
感熱記録媒体
5日前
株式会社リコー
映像表示装置
29日前
株式会社リコー
印刷システム
8日前
株式会社リコー
画像形成装置
8日前
株式会社リコー
画像形成装置
4日前
株式会社リコー
画像形成装置
8日前
株式会社リコー
画像形成装置
11日前
株式会社リコー
画像形成装置
1か月前
株式会社リコー
画像形成装置
8日前
株式会社リコー
画像形成装置
27日前
株式会社リコー
画像形成装置
26日前
株式会社リコー
画像形成装置
19日前
株式会社リコー
生体情報測定装置
5日前
株式会社リコー
投薬管理システム
27日前
株式会社リコー
印刷応答補償機構
12日前
株式会社リコー
画像投射システム
19日前
株式会社リコー
拡張アンテナ装置
11日前
株式会社リコー
情報処理システム
29日前
株式会社リコー
画像形成システム
4日前
株式会社リコー
液体を吐出する装置
5日前
株式会社リコー
マーキングシステム
11日前
株式会社リコー
電極及びその製造方法
6日前
株式会社リコー
電極及びその製造方法
8日前
株式会社リコー
測定装置および測定方法
28日前
株式会社リコー
多孔質構造体の製造方法
8日前
株式会社リコー
測定装置および測定方法
28日前
株式会社リコー
測定装置および測定方法
28日前
株式会社リコー
給送装置及び画像形成装置
1か月前
株式会社リコー
定着装置及び画像形成装置
12日前
株式会社リコー
定着装置及び画像形成装置
18日前
株式会社リコー
印刷装置および印刷システム
4日前
続きを見る
他の特許を見る