TOP
|
特許
|
意匠
|
商標
特許ウォッチ
Twitter
他の特許を見る
10個以上の画像は省略されています。
公開番号
2025140740
公報種別
公開特許公報(A)
公開日
2025-09-29
出願番号
2024040302
出願日
2024-03-14
発明の名称
画像形成装置
出願人
株式会社リコー
代理人
個人
,
個人
主分類
G03G
21/00 20060101AFI20250919BHJP(写真;映画;光波以外の波を使用する類似技術;電子写真;ホログラフイ)
要約
【課題】稼働停止期間を低減する。
【解決手段】本開示に係る画像形成装置は、画像形成するためのトナーを格納している交換部材の収納機構と、前記収納機構に収容された前記交換部材の着脱口に設けられた開閉部材と、前記開閉部材を閉じた状態でロックするためのロック機構と、開閉可能であって、閉じた状態の場合に前記開閉部材を覆い且つ前記開閉部材が開いた状態になることを抑制する、カバー部材と、前記カバー部材が閉じた状態であるか否を検出する検出部と、前記カバー部材が閉じた状態であることが検出された場合であり、且つ、前記交換部材に収容されている前記トナーの量が所定の閾値より少ないと判定された場合に、前記ロック機構のロックの解除状態に切り替え可能か否かの故障検出を実行する故障検出部と、を備える。
【選択図】図6
特許請求の範囲
【請求項1】
画像形成するためのトナーを格納している交換部材の収納機構と、
前記収納機構に収容された前記交換部材の着脱口に設けられた開閉部材と、
前記開閉部材を閉じた状態でロックするためのロック機構と、
開閉可能であって、閉じた状態の場合に前記開閉部材を覆い且つ前記開閉部材が開いた状態になることを抑制する、カバー部材と、
前記カバー部材が閉じた状態であるか否を検出する検出部と、
前記カバー部材が閉じた状態であることが検出された場合であり、且つ、前記交換部材に収容されている前記トナーの量が所定の閾値より少ないと判定された場合に、前記ロック機構のロックの解除状態に切り替え可能か否かの故障検出を実行する故障検出部と、
を備える画像形成装置。
続きを表示(約 330 文字)
【請求項2】
前記故障検出部は、前記画像形成装置の電源がオンになった場合又は省エネルギー状態から復帰した場合に、前記ロック機構のロック状態を維持しているか否かの故障検出を実行する、
請求項1に記載の画像形成装置。
【請求項3】
前記所定の閾値は、操作又は遠隔からの入力に基づいて、変更可能である、
請求項1に記載の画像形成装置。
【請求項4】
前記ロック機構は、ソレノイドの動作によってロック状態と、ロックの解除状態と、が切り替わり、
前記故障検出部は、前記ソレノイドに電力供給して、前記ロック機構がロックの解除状態に切り替わるか否かの故障検出を実行する、
請求項1に記載の画像形成装置。
発明の詳細な説明
【技術分野】
【0001】
本発明は、画像形成装置に関する。
続きを表示(約 1,800 文字)
【背景技術】
【0002】
従来から、画像形成装置においては、画像形成を行うためのトナーが格納されているトナーボトルを収容可能に構成されている。
【0003】
例えば、特許文献1には、トナーボトルを着脱するための着脱口に、トナーボトルカバーが設けられている。当該画像形成装置には、ユーザがトナーボトルを誤って取り出さないように、トナーボトルカバーにロックするトナーボトルカバーソレノイド(ロック機構の一例)が設けられている。
【発明の概要】
【発明が解決しようとする課題】
【0004】
トナーボトルカバーをロックするロック機構が設けられた画像形成装置においては、ロック機構が故障した場合、トナーボトルカバーが開くことができなくなる。従来の画像形成装置では、トナーボトルを交換するためにロック機構が解除できないときに、初めて、ロック機構が故障していることを認識することが多かった。
【0005】
つまり、画像形成装置においてトナーボトルの交換が必要な時期に、ロック機構の修理が完了するまでトナーボトルが交換できないので、画像形成装置の稼働停止期間が長くなるという問題が生じる。
【0006】
本発明の実施形態は、上記課題に鑑み、適切なタイミングでロック機構の故障を検出することで、画像形成装置の稼働停止期間の低減を目的とする。
【課題を解決するための手段】
【0007】
上述した課題を解決するために、本発明は、画像形成装置が、画像形成するためのトナーを格納している交換部材の収納機構と、前記収納機構に収容された前記交換部材の着脱口に設けられた開閉部材と、前記開閉部材を閉じた状態でロックするためのロック機構と、開閉可能であって、閉じた状態の場合に前記開閉部材を覆い且つ前記開閉部材が開いた状態になることを抑制する、カバー部材と、前記カバー部材が閉じた状態であるか否を検出する検出部と、前記カバー部材が閉じた状態であることが検出された場合であり、且つ、前記交換部材に収容されている前記トナーの量が所定の閾値より少ないと判定された場合に、前記ロック機構のロックの解除状態に切り替え可能か否かの故障検出を実行する故障検出部と、を備える。
【発明の効果】
【0008】
本発明の実施形態によれば、適切なタイミングでロック機構の故障を検出することで、画像形成装置の稼働停止期間の低減を実現する。
【図面の簡単な説明】
【0009】
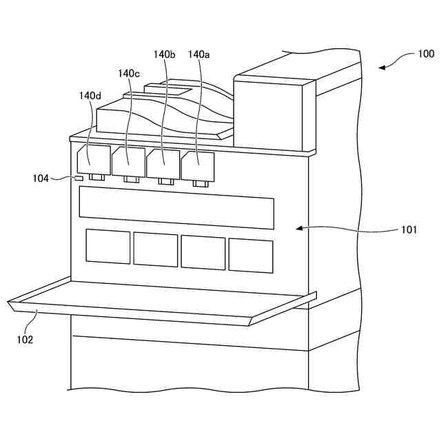
第1の実施形態に係る画像形成装置の構成の一例を示す図である。
第1の実施形態の画像形成装置の前カバーを開いた状態を示す斜視図である。
第1の実施形態に係る画像形成装置の前カバーを開き、対応するボトルカバーを開いた状態を示した説明図である。
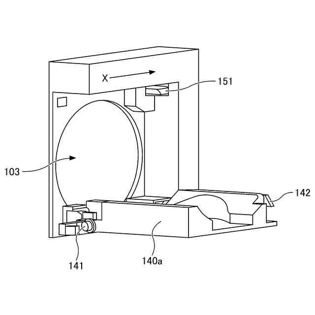
第1の実施形態に係るボトルカバーを開いた状態を示す斜視図である。
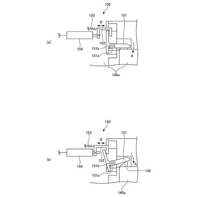
第1の実施形態に係るボトルカバーのロック機構をX方向から視た説明図である。
第1の実施形態に係る制御部の構成を例示した図である。
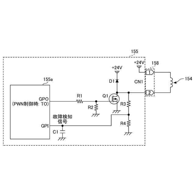
第1の実施形態におけるソレノイドの故障検出回路を含む駆動制御部の構成の一例を示す説明図である。
第1の実施形態に係る画像形成装置で行われる、ソレノイドがONにならない故障(非ロック状態故障)の検出の第1の実行手順を示したフローチャートである。
第1の実施形態に係る画像形成装置で行われる、ソレノイドがONにならない故障(非ロック状態故障)の検出の第2の実行手順を示したフローチャートである。
第1の実施形態に係る画像形成装置で行われる、ソレノイドがOFFにならない故障(ロック状態故障)の検出の第1の実行手順を示したフローチャートである。
第1の実施形態に係る画像形成装置で行われる、ソレノイドがOFFにならない故障(ロック状態故障)の検出の第2の実行手順を示したフローチャートである。
図12は、第2の実施形態に係る制御部の構成を例示した図である。
【発明を実施するための形態】
【0010】
以下、添付図面を参照しながら実施形態について説明する。説明の理解を容易にするため、各図面において同一の構成要素に対しては可能な限り同一の符号を付して、重複する
説明は省略する。
(【0011】以降は省略されています)
この特許をJ-PlatPat(特許庁公式サイト)で参照する
関連特許
株式会社リコー
移動体
9日前
株式会社リコー
画像形成システム
14日前
株式会社リコー
表示装置、切替方法、プログラム
今日
株式会社リコー
媒体処理装置及び画像形成システム
14日前
株式会社リコー
シート給紙装置、および画像形成装置
14日前
株式会社リコー
光源装置、画像投影装置および調整方法
今日
株式会社リコー
ノード、データ共有方法、及びプログラム
7日前
株式会社リコー
画像形成装置、及び、プロセスカートリッジ
今日
株式会社リコー
画像形成装置、情報処理方法およびプログラム
14日前
株式会社リコー
画像形成装置、画像形成方法、およびプログラム
14日前
株式会社リコー
表示装置、表示方法、プログラム、表示システム
8日前
株式会社リコー
対話装置、対話システム、対話方法及びプログラム
7日前
株式会社リコー
情報処理装置、情報処理システムおよび情報処理方法
7日前
株式会社リコー
電気機器、画像形成装置、制御方法、及びプログラム
3日前
株式会社リコー
情報処理システム、情報処理装置および情報処理方法
7日前
株式会社リコー
情報処理システム、情報処理方法、および情報処理装置
14日前
株式会社リコー
情報処理装置、情報処理システム、情報処理方法、プログラム
14日前
株式会社リコー
情報処理装置、情報処理システム、情報処理方法及びプログラム
7日前
株式会社リコー
検索システム、プログラム、検索方法、および顧客選定システム
14日前
株式会社リコー
障害物検出システム、移動体、プログラムおよび障害物検出方法
14日前
株式会社リコー
情報処理装置、情報処理システム、情報処理方法及びプログラム
9日前
株式会社リコー
液体吐出ヘッド、液体吐出装置、および液体吐出ヘッドの製造方法
14日前
株式会社リコー
情報処理装置、レポート作成システム、プログラム、情報処理方法
14日前
株式会社リコー
情報処理装置、画面作成方法、プログラム、及び情報処理システム
3日前
株式会社リコー
情報処理装置、情報処理方法、プログラム、および情報処理システム
7日前
株式会社リコー
手書き入力装置、手書き入力システム、手書き入力方法、プログラム
7日前
株式会社リコー
操作拡張ユニットと画像形成装置
14日前
株式会社リコー
表示装置、表示方法、プログラム
今日
株式会社リコー
画像処理装置、方法、およびプログラム
今日
株式会社リコー
情報処理装置、通信方法、プログラム、システム
14日前
株式会社リコー
情報処理システム、情報処理方法およびプログラム
2日前
株式会社リコー
情報処理システム、サービス提供システム、設定方法
2日前
株式会社リコー
電子写真画像形成用キャリア、二成分現像剤、プロセスカートリッジ、画像形成装置、及び画像形成方法
8日前
株式会社リコー
通信端末、画像通信システム、表示方法、及びプログラム
今日
株式会社リコー
情報処理システム、サーバ、情報処理方法、及びプログラム
今日
株式会社リコー
電子機器、情報処理システム、情報処理方法およびプログラム
3日前
続きを見る
他の特許を見る