TOP
|
特許
|
意匠
|
商標
特許ウォッチ
Twitter
他の特許を見る
10個以上の画像は省略されています。
公開番号
2025174305
公報種別
公開特許公報(A)
公開日
2025-11-28
出願番号
2024080504
出願日
2024-05-16
発明の名称
外観検査方法、および外観検査システム
出願人
株式会社リコー
代理人
弁理士法人酒井国際特許事務所
主分類
G01N
21/88 20060101AFI20251120BHJP(測定;試験)
要約
【課題】被検査体の外観検査において、GRAY領域の欠陥を機械学習モデルを用いて良否判別することができる外観検査方法、および外観検査システムを提供する。
【解決手段】本発明は、外観検査システムで実行される外観検査方法であって、ルールベースモデルによって機械学習モデルにより被検査体の欠陥を判定可能な欠陥画像を選別するステップと、前記欠陥画像に対して、撮像方法の異なる複数の撮像装置の画像を用いて学習した複数の前記機械学習モデルを用いたアンサンブルモデルにより、前記被検査体の欠陥を判定するステップと、を含む。
【選択図】図1
特許請求の範囲
【請求項1】
外観検査システムで実行される外観検査方法であって、
ルールベースモデルによって機械学習モデルにより被検査体の欠陥を判定可能な欠陥画像を選別するステップと、
撮像方法の異なる複数の撮像装置の画像を用いて学習した複数の前記機械学習モデルを用いたアンサンブルモデルにより、前記欠陥画像に含まれる前記被検査体の欠陥を判定するステップと、
を含む外観検査方法。
続きを表示(約 470 文字)
【請求項2】
前記撮像装置は、前記被検査体の表面にその光を照射する光源と、前記光源で照射された前記被検査体を撮像する撮像手段と、を有する請求項1に記載の外観検査方法。
【請求項3】
前記被検査体の撮像方法が異なる画像から抽出した特徴量を、前記機械学習モデルの学習に利用する、請求項1または2に記載の外観検査方法。
【請求項4】
前記機械学習モデルは、複数の特徴量のセットを用いて学習されるモデルである、請求項1または2に記載の外観検査方法。
【請求項5】
前記機械学習モデルは、前記被検査体の欠陥の大きさを予測する、請求項1または2に記載の外観検査方法。
【請求項6】
機械学習モデルにより被検査体の欠陥を判定可能な欠陥画像を選別するルールベースモデルと、
撮像方法の異なる複数の撮像装置の画像を用いて学習した複数の前記機械学習モデルを用いて、前記欠陥画像に含まれる前記被検査体の欠陥を判定するアンサンブルモデルと、
を備える外観検査システム。
発明の詳細な説明
【技術分野】
【0001】
本発明は、外観検査方法、および外観検査システムに関する。
続きを表示(約 2,000 文字)
【背景技術】
【0002】
製造業において、市場に高品質かつ安心・安全な製品を提供するために検査工程により良品または不良品を適切に判別する必要がある。一般に外観検査においては、カメラや照明等の撮像光学系を組み合わせ、製品(被検査体)の外観を撮像した後、適切な画像処理を行うことで製品表面の欠陥の有無や大きさを判別し、良否を判定する技術がある。
【0003】
特許文献1には、検査対象体の外観の良否を高精度に且つ短時間で判定する目的で、少なくとも2つ以上の異なる撮像条件で撮像した画像に基づく少なくとも2つの画像の夫々から、複数の特徴量を抽出し、抽出した各画像の特徴量を跨る特徴量から、対象物の良否を判定するための特徴量を選択し、選択した特徴量に基づいて、被検査体の良否を判定する構成が開示されている。
【発明の概要】
【発明が解決しようとする課題】
【0004】
しかしながら、上記の被検査体(例えば、感光体)の外観検査では、ルールベースでOKまたはNGの閾値を引く際に、良品と不良品が混在する領域(GRAY領域)がある関係上、不良品を流出させないために、全ての不良品をNG判定するよう(すなわち、GRAY領域を全てNG判定するよう)に閾値線を引く関係上、一部良品をNGと判定し、不良品を過検出してしまう場合がある。
【0005】
本発明は、上記に鑑みてなされたものであって、被検査体の外観検査において、GRAY領域の欠陥を機械学習モデルを用いて良否判別することができる外観検査方法、および外観検査システムを提供することを目的とする。
【課題を解決するための手段】
【0006】
上述した課題を解決し、目的を達成するために、本発明は、外観検査システムで実行される外観検査方法であって、ルールベースモデルによって機械学習モデルにより被検査体の欠陥を判定可能な欠陥画像を選別するステップと、前記欠陥画像に対して、撮像方法の異なる複数の撮像装置の画像を用いて学習した複数の前記機械学習モデルを用いたアンサンブルモデルにより、前記被検査体の欠陥を判定するステップと、を含む。
【発明の効果】
【0007】
本発明によれば、被検査体の外観検査において、GRAY領域の欠陥を機械学習モデルを用いて良否判別することができる、という効果を奏する。
【図面の簡単な説明】
【0008】
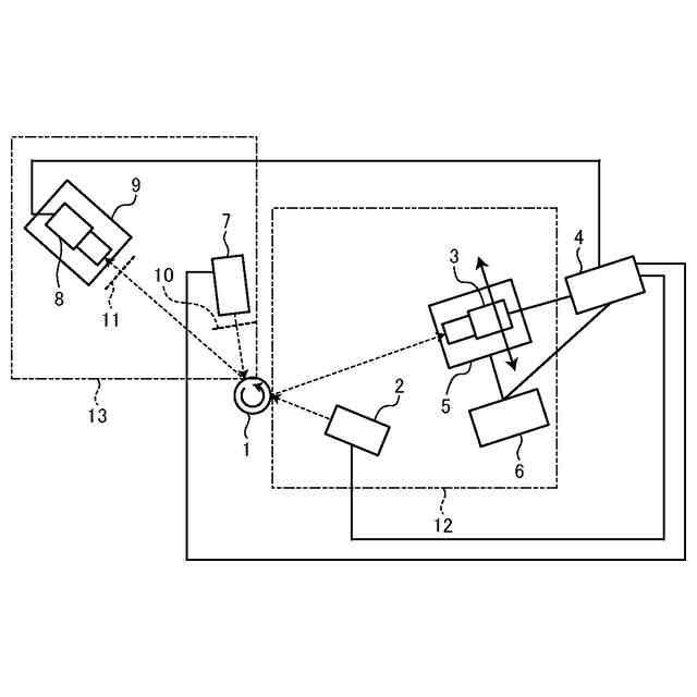
図1は、本実施の形態にかかる外観検査システムの機能構成の一例を示す図である。
図2は、本実施の形態にかかる外観検査システムのハードウェア構成の一例を示す図である。
図3は、本実施の形態にかかる外観検査システムにおける制御処理の流れの一例を示すフローチャートである。
図4Aは、本実施の形態にかかる外観検査システムにおける機械学習モデルの学習に用いる特徴量の選択を最適化する処理の流れの一例を示すフローチャートである。
図4Bは、本実施の形態にかかる外観検査システムにおける機械学習モデルの学習に用いる特徴量の選択を最適化する処理に関わる機能構成の一例を示す図である。
図4Cは、本実施の形態にかかる外観検査システムにおける学習データとテストデータの分割例を示す図である。
図4Dは、本実施の形態にかかる外観検査システムにおける訓練データと検証データの分割例を示す図である。
図4Eは、本実施の形態にかかる外観検査システムにおける各Foldにおける欠陥の大きさの分布例を示す図である。
図5は、本実施の形態にかかる外観検査システムにおいて抽出する特徴量の一覧を示す図である。
図6は、本実施の装置における機械学習モデルの学習の一例を説明するための図である。
図7Aは、本実施の形態にかかる外観検査システムにおける被検査体の検査時の良否判定処理の流れの一例を示すフローチャートである。
図7Bは、本実施の形態にかかる外観検査システムにおける被検査体の検査時の良否判定処理に関わる機能構成の一例を示す図である。
図8は、本実施の形態にかかる外観検査システムにおけるルールベースモデルの判定処理の流れの一例を示すフローチャートである。
【発明を実施するための形態】
【0009】
以下に添付図面を参照して、外観検査方法、および外観検査システムを適用した外観検査システムの実施の形態を詳細に説明する。以下に本発明の実施の形態について具体的に説明するが、本発明はこれに限定されるものではない。
【0010】
図1は、本実施の形態にかかる外観検査システムの機能構成の一例を示す図である。各種機能についての詳細は別図を用いて説明し、図1では、実施の形態の概略について説明する。
(【0011】以降は省略されています)
この特許をJ-PlatPat(特許庁公式サイト)で参照する
関連特許
株式会社リコー
移動体
1か月前
株式会社リコー
画像形成装置
29日前
株式会社リコー
外観検査装置
8日前
株式会社リコー
画像形成装置
1か月前
株式会社リコー
液体吐出装置
今日
株式会社リコー
画像形成装置
1か月前
株式会社リコー
画像形成装置
29日前
株式会社リコー
画像形成装置
23日前
株式会社リコー
画像形成装置
14日前
株式会社リコー
服薬支援装置
14日前
株式会社リコー
画像形成システム
1か月前
株式会社リコー
機器及び異常判定方法
1か月前
株式会社リコー
画像形成装置及びシステム
1か月前
株式会社リコー
画像形成装置、及び、機器
22日前
株式会社リコー
定着装置及び画像形成装置
今日
株式会社リコー
延長トレイ及び画像形成装置
1か月前
株式会社リコー
光走査装置及び画像形成装置
21日前
株式会社リコー
定着装置、及び画像形成装置
1か月前
株式会社リコー
画像読取装置及び画像読取方法
1か月前
株式会社リコー
画像形成装置及び異常判定方法
14日前
株式会社リコー
シート供給装置、画像形成装置
21日前
株式会社リコー
画像形成装置および画像形成方法
14日前
株式会社リコー
画像形成装置、及び画像形成方法
8日前
株式会社リコー
表示装置、切替方法、プログラム
1か月前
株式会社リコー
樹脂粒子、及び樹脂粒子の製造方法
29日前
株式会社リコー
媒体処理装置及び画像形成システム
1か月前
株式会社リコー
加熱搬送装置、及び、画像形成装置
22日前
株式会社リコー
媒体処理装置及び画像形成システム
1か月前
株式会社リコー
加熱装置、定着装置、画像形成装置
24日前
株式会社リコー
加熱装置、定着装置及び画像形成装置
1か月前
株式会社リコー
通信端末、通信方法、及びプログラム
1か月前
株式会社リコー
通信装置、通信方法、及びプログラム
1か月前
株式会社リコー
シート給送装置及び画像形成システム
1か月前
株式会社リコー
加熱装置、定着装置及び画像形成装置
8日前
株式会社リコー
読取装置、読取方法およびプログラム
1か月前
株式会社リコー
後処理装置、及び、画像形成システム
1日前
続きを見る
他の特許を見る