TOP
|
特許
|
意匠
|
商標
特許ウォッチ
Twitter
他の特許を見る
10個以上の画像は省略されています。
公開番号
2025146622
公報種別
公開特許公報(A)
公開日
2025-10-03
出願番号
2024188628
出願日
2024-10-25
発明の名称
媒体処理装置及び画像形成システム
出願人
株式会社リコー
代理人
弁理士法人武和国際特許事務所
主分類
B65H
37/04 20060101AFI20250926BHJP(運搬;包装;貯蔵;薄板状または線条材料の取扱い)
要約
【課題】媒体に液体付与を伴う綴じ処理を施す媒体処理装置において、貯液タンクの着脱操作における、ユーザの利便性を向上させることができる媒体処理装置を提供することを目的とする。
【解決手段】少なくとも一枚の媒体の一部に液体付与をする液体付与部と、前記液体付与部による液体付与に用いられる液体を貯留する第1貯液部と、前記第1貯液部に供給される前記液体を貯留する第2貯液部と、前記第2貯液部から前記第1貯液部に前記液体を供給する液体供給動作を実行する液体供給手段と、を備え、前記第2貯液部は、前記液体供給手段に接続された貯液トレイと、前記液体を貯留し、前記貯液トレイに対し着脱可能な貯液タンクと、前記貯液トレイに装着された前記貯液タンクの位置を規制するロック機構と、を備える媒体処理装置による。
【選択図】図4
特許請求の範囲
【請求項1】
少なくとも一枚の媒体の一部に液体付与をする液体付与部と、
前記液体付与部による液体付与に用いられる液体を貯留する第1貯液部と、
前記第1貯液部に供給される前記液体を貯留する第2貯液部と、
前記第2貯液部から前記第1貯液部に前記液体を供給する液体供給動作を実行する液体供給手段と、
を備え、
前記第2貯液部は、
前記液体供給手段に接続された貯液トレイと、
前記液体を貯留し、前記貯液トレイに対し着脱可能な貯液タンクと、
前記貯液トレイに装着された前記貯液タンクの位置を規制するロック機構と、
を備えることを特徴とする媒体処理装置。
続きを表示(約 1,400 文字)
【請求項2】
前記ロック機構は、
装置筐体に設けられた被係合部と係合する係合部と、
前記被係合部と前記係合部との係合状態を解除する係合解除部材と、
前記被係合部に向けて前記係合部を付勢する付勢部材と、を有し、
前記係合解除部材によって前記付勢部材の付勢に抗う方向に前記係合部を移動させることで、前記係合部と前記被係合部との係合状態が解除される、
請求項1に記載の媒体処理装置。
【請求項3】
前記係合部は、前記方向に沿う水平面を有する形状と当該水平面に連なる傾斜面を有する形状、または、前記方向に対する傾斜を有する形状からなる、
請求項2に記載の媒体処理装置。
【請求項4】
前記貯液トレイは、前記貯液タンクを着脱するときに前記貯液タンクの着脱方向をガイドするガイド機構を有し、
前記ガイド機構は、前記貯液タンクの高さ寸法の略半分以上の高さを有する壁面部を備え、
前記ガイド機構の高さは、前記ロック機構よりも下に位置する、
請求項1乃至3のいずれか一項に記載の媒体処理装置。
【請求項5】
前記壁面部は、前記貯液トレイに装着された前記貯液タンクを視認可能とする視認部を有する、
請求項4に記載の媒体処理装置。
【請求項6】
前記ロック機構は、
前記貯液トレイに設けられた係合部と、
前記貯液タンクに設けられ、前記係合部が係合される被係合部と、
前記被係合部に向けて前記係合部を付勢する付勢部材と、を有し、
前記貯液トレイに前記貯液タンクが装着されると、前記付勢部材によって前記係合部を前記被係合部に係合させることで、前記貯液タンクの位置が規制される、
請求項1に記載の媒体処理装置。
【請求項7】
前記ロック機構は、
前記貯液タンクおよび前記貯液トレイのそれぞれに設けられた凸部を有し、
前記貯液トレイに前記貯液タンクが装着される際に、前記凸部同士が当接し、前記貯液タンクと前記貯液トレイの少なくともどちらか一方が弾性変形され、前記凸部同士がすれ違うことにより前記凸部同士を係合させることで、前記貯液タンクの位置が規制される、
請求項1に記載の媒体処理装置。
【請求項8】
前記ロック機構は、
前記貯液タンクの外周に設けられた少なくとも二箇所の突起状係合部と、
前記貯液トレイに設けられた少なくとも二箇所の突起状被係合部と、を有し、
前記貯液タンクを前記貯液トレイに挿入した後に、前記貯液タンクを回動させて前記突起状係合部を前記突起状被係合部に係合させることで、前記貯液タンクの位置が規制される、
請求項1に記載の媒体処理装置。
【請求項9】
前記貯液トレイは、前記液体供給手段に接続された液体供給口を有し、
前記液体供給口の上流側に前記液体を濾過するフィルタを備える、
請求項1に記載の媒体処理装置。
【請求項10】
前記貯液トレイは、貯液された前記液体を検知する液体検知手段を備える、
請求項1に記載の媒体処理装置。
(【請求項11】以降は省略されています)
発明の詳細な説明
【技術分野】
【0001】
本発明は、媒体処理装置及び画像形成システムに関する。
続きを表示(約 2,900 文字)
【背景技術】
【0002】
シート状の媒体を積み重ねたシート束を綴る媒体処理装置が知られている。当該媒体処理装置に適用される綴じ処理としては、シート束に貫通させる針状の部材(綴じ部材)を用いて綴じる「針綴じ処理」や、シート束の一部を加圧変形させて綴じる「圧着綴じ処理」などが知られている。また、圧着綴じ処理をするときに、シート状の媒体としての用紙に液体を付与する加水圧着綴じ処理も知られており、当該処理を実行可能な加水圧着綴じ処理装置も知られている。
【0003】
加水圧着綴じ装置において、液体付与機構を備える貯水タンクの液体残量が低下したときに、貯水タンクへ液体を補給する給水タンクを備え、給水タンクを着脱自在に構成したものが知られている。
【0004】
従来技術として、狭い場所でも水を補給するための給水タンクの着脱作業が容易にできる小型加湿機の提供を目的として、給水容器の平面部を本体ケース側平面部に突き合わせ、第1と第2の係合部によって本体ケースの側面側に着脱自在に保持される構成が開示されている(特許文献1を参照)。
【発明の概要】
【発明が解決しようとする課題】
【0005】
加水圧着綴じ装置が備える給水タンクへの液体補充を行なうとき、給水タンクを取り外す必要がある。しかし、特許文献1に開示されている従来技術では、媒体処理装置が備える給水タンクを着脱容易にする着脱機構に関する構成は明示されていない。すなわち、媒体処理装置が備える給水タンクの着脱機構において、ユーザの利便性を向上させる点において課題がある。
【0006】
本発明は、媒体に液体付与を伴う綴じ処理を施す媒体処理装置において、貯液タンクの着脱操作における、ユーザの利便性を向上させることができる媒体処理装置を提供することを目的とする。
【課題を解決するための手段】
【0007】
上記課題を解決するために、本発明の一態様は、媒体処理装置に関し、少なくとも一枚の媒体の一部に液体付与をする液体付与部と、前記液体付与部による液体付与に用いられる液体を貯留する第1貯液部と、前記第1貯液部に供給される前記液体を貯留する第2貯液部と、前記第2貯液部から前記第1貯液部に前記液体を供給する液体供給動作を実行する液体供給手段と、を備え、前記第2貯液部は、前記液体供給手段に接続された貯液トレイと、前記液体を貯留し、前記貯液トレイに対し着脱可能な貯液タンクと、前記貯液トレイに装着された前記貯液タンクの位置を規制するロック機構と、を備えることを特徴とする。
【発明の効果】
【0008】
本発明によれば、媒体に液体付与を伴う綴じ処理を施す媒体処理装置において、貯液タンクの着脱操作における、ユーザの利便性を向上させることができる。
【図面の簡単な説明】
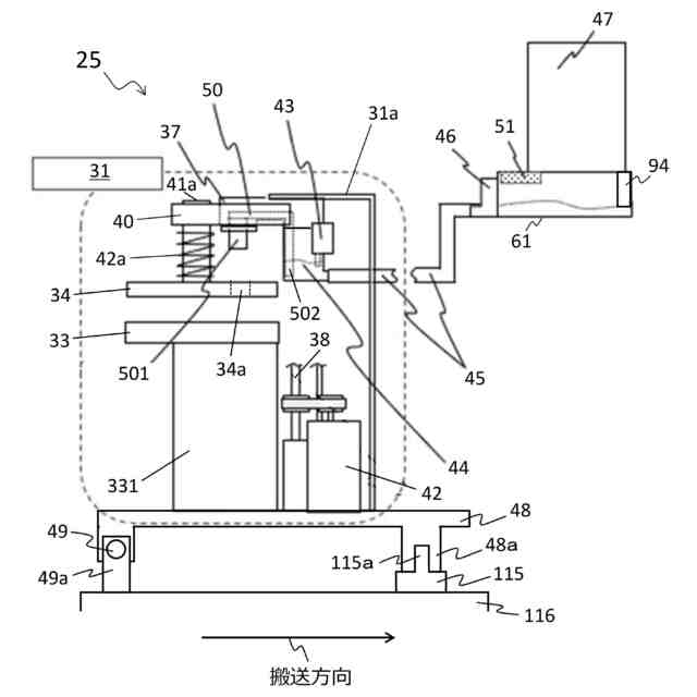
【0009】
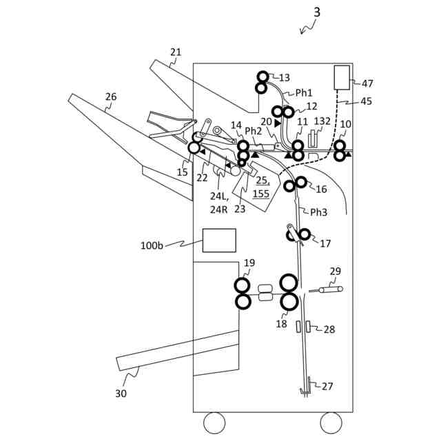
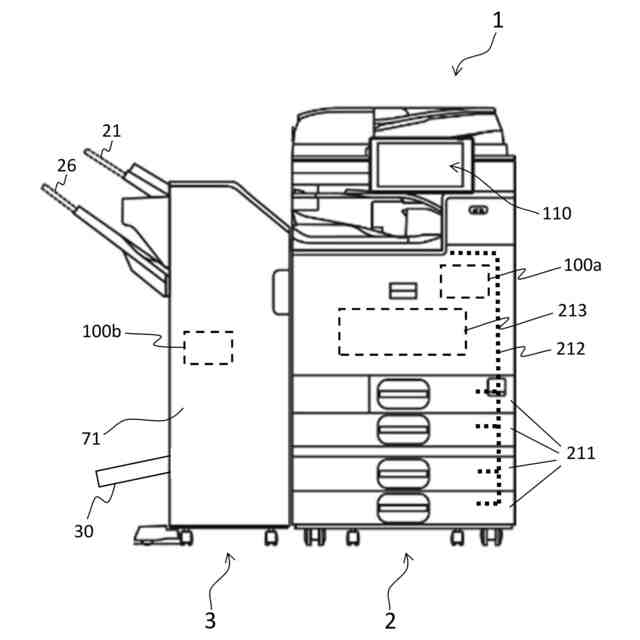
画像形成システムの全体構成を示す図。
第1実施形態に係る後処理装置の内部構造を示す図。
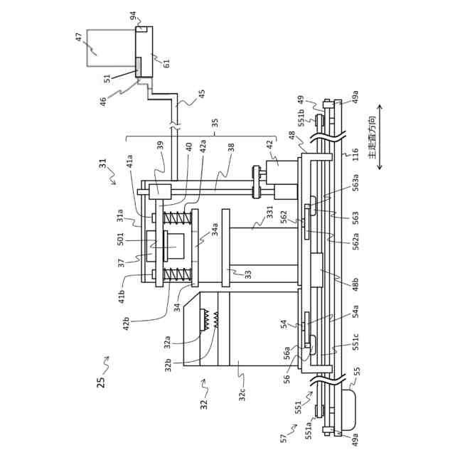
端綴じ処理部を搬送方向の上流側から見た模式図。
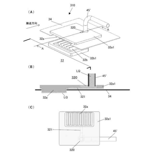
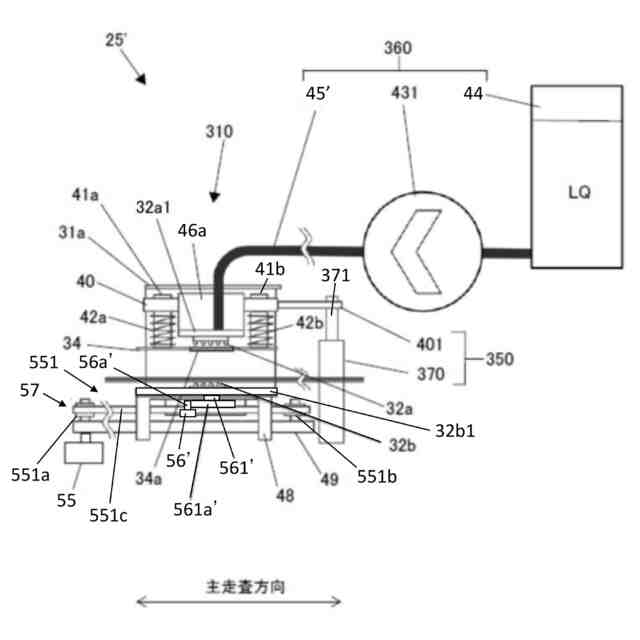
端綴じ処理部を主走査方向の液体付与部側から見た模式図。
端綴じ処理部の圧着部の構成を示す模式図。
端綴じ処理部の変形例を示す図。
端綴じ処理部の変形例に係る液体付与圧着部を示す図。
図7の液体付与圧着部による液体付与動作及び圧着綴じ動作を示す図。
針綴じ処理部を搬送方向の上流側から見た模式図。
針綴じ処理部の変形例を搬送方向の上流側から見た模式図。
第1実施形態に係る後処理装置を制御する制御ブロックのハードウェア構成図。
端綴じ処理部による綴じ処理のフローチャート。
端綴じ処理部による綴じ処理中における液体付与部及び圧着部の位置を示す図。
後処理装置における第2貯液タンクの配置及び構成を示す図。
後処理装置における第2貯液タンクの着脱構成を示す図。
本実施形態に係る液体供給判定処理のフローチャート。
本実施形態に係る給排液モードを説明する図。
本実施形態に係る第1貯液タンクへの液体補充の様子を例示する図。
本実施形態に係る液体供給判定処理のフローチャート。
本実施形態に係る第1貯液タンクへの液体補充の様子を例示する図。
本実施形態に係る液体供給判定処理のフローチャート。
本実施形態に係る液体供給判定処理のフローチャート。
本実施形態に係る液体供給判定処理のフローチャート。
本実施形態に係る液体供給判定処理のフローチャート。
本実施形態に係る給排液モードの選択入力画面の例を示す図。
後処理装置における第2貯液タンクの着脱構成の別例を示す図。
第2貯液タンクの詳細な構成を示す図。
第2貯液タンクが備えるロック機構の詳細な構成例を示す図。
ロック機構を構成するロック爪の例を示す図。
ロック機構を構成する各部の相関を例示する図。
第2貯液タンクが備えるロック機構の詳細な構成の変形例を示す図。
第2貯液タンクが備えるロック機構の詳細な構成の変形例を示す図。
第2貯液タンクが備えるロック機構の詳細な構成の変形例を示す図。
第2貯液タンクに接続する液体供給手段の例を示す図。
第2貯液タンクが備える液位検知センサの配置例を示す図。
圧着部及び液体付与部による平行綴じの動作説明図。
第2実施形態に係る後処理装置の内部構造を示す図。
第2実施形態に係る内部トレイを用紙の厚み方向から見た図。
第2実施形態に係る圧着部を搬送方向の下流側から見た模式図。
第2実施形態に係る液体付与部を用紙の厚み方向から見た図。
図40のXXV-XXVにおける断面図。
図40のXXVI-XXVIにおける断面図。
第2実施形態に係る後処理装置の制御ブロックのハードウェア構成図。
第2実施形態に係る後処理装置の後処理フローチャート。
画像形成システムの変形例の全体構成を示す図。
後処理装置の制御部の変形例1を示す図。
後処理装置の制御部の変形例2を示す図。
【発明を実施するための形態】
【0010】
[画像形成システム1の実施形態]
以下、本発明に係る画像形成システム1について、図面を参照しながら説明する。図1は、画像形成システム1の全体構成を示す図である。画像形成システム1は、シート状の媒体の一種としての用紙Pに画像を形成する画像形成機能、画像が形成された用紙Pに対して所定の後処理を施す後処理機能、などを有する。図1に示すように、画像形成システム1は、画像形成機能を有する画像形成装置2と、本発明に係る後処理機能を有する媒体処理装置としての後処理装置3と、を連携して動作するように構成されている。
(【0011】以降は省略されています)
この特許をJ-PlatPat(特許庁公式サイト)で参照する
関連特許
株式会社リコー
画像形成装置
1か月前
株式会社リコー
服薬支援装置
8日前
株式会社リコー
外観検査装置
2日前
株式会社リコー
画像形成装置
26日前
株式会社リコー
画像形成装置
23日前
株式会社リコー
画像形成装置
23日前
株式会社リコー
画像形成装置
17日前
株式会社リコー
画像形成装置
8日前
株式会社リコー
機器及び異常判定方法
1か月前
株式会社リコー
画像形成装置及びシステム
29日前
株式会社リコー
画像形成装置、及び、機器
16日前
株式会社リコー
定着装置、及び画像形成装置
1か月前
株式会社リコー
延長トレイ及び画像形成装置
26日前
株式会社リコー
光走査装置及び画像形成装置
15日前
株式会社リコー
画像読取装置及び画像読取方法
25日前
株式会社リコー
画像形成装置及び異常判定方法
8日前
株式会社リコー
シート供給装置、画像形成装置
15日前
株式会社リコー
画像形成装置、及び画像形成方法
2日前
株式会社リコー
表示装置、切替方法、プログラム
1か月前
株式会社リコー
画像形成装置および画像形成方法
8日前
株式会社リコー
媒体処理装置及び画像形成システム
26日前
株式会社リコー
樹脂粒子、及び樹脂粒子の製造方法
23日前
株式会社リコー
加熱搬送装置、及び、画像形成装置
16日前
株式会社リコー
加熱装置、定着装置、画像形成装置
18日前
株式会社リコー
通信端末、通信方法、及びプログラム
29日前
株式会社リコー
加熱装置、定着装置及び画像形成装置
1か月前
株式会社リコー
読取装置、読取方法およびプログラム
26日前
株式会社リコー
加熱装置、定着装置及び画像形成装置
2日前
株式会社リコー
シート給送装置及び画像形成システム
1か月前
株式会社リコー
通信装置、通信方法、及びプログラム
29日前
株式会社リコー
光源装置、画像投影装置および調整方法
1か月前
株式会社リコー
樹脂粒子、トナー、及び、画像形成装置
15日前
株式会社リコー
通信装置、状態制御方法、及びプログラム
1か月前
株式会社リコー
画像形成装置、情報処理方法及びプログラム
29日前
株式会社リコー
画像形成装置、及び、プロセスカートリッジ
1か月前
株式会社リコー
情報処理装置、情報処理方法およびプログラム
15日前
続きを見る
他の特許を見る