TOP
|
特許
|
意匠
|
商標
特許ウォッチ
Twitter
他の特許を見る
公開番号
2025164729
公報種別
公開特許公報(A)
公開日
2025-10-30
出願番号
2025065544
出願日
2025-04-11
発明の名称
樹脂粒子、及び樹脂粒子の製造方法
出願人
株式会社リコー
代理人
弁理士法人ITOH
主分類
C08J
3/12 20060101AFI20251023BHJP(有機高分子化合物;その製造または化学的加工;それに基づく組成物)
要約
【課題】生分解性樹脂を含有し、化粧品用として肌への付着性と肌上での柔らかな使用感に優れた樹脂粒子の提供。
【解決手段】生分解性樹脂を含有する樹脂粒子であって、体積平均粒径が、5μm以上50μm以下であり、Relative Span Factor(R.S.F)が、1.2以下であることを特徴とする樹脂粒子。
【選択図】なし
特許請求の範囲
【請求項1】
生分解性樹脂を含有する樹脂粒子であって、
体積平均粒径が、5μm以上50μm以下であり、
Relative Span Factor(R.S.F)が、1.2以下であることを特徴とする樹脂粒子。
続きを表示(約 680 文字)
【請求項2】
平均円形度が0.980より大きいことを特徴とする請求項1に記載の樹脂粒子。
【請求項3】
前記生分解性樹脂が、ポリ乳酸及びポリ乳酸グリコール酸共重合体の少なくともいずれかを含有することを特徴とする請求項1に記載の樹脂粒子。
【請求項4】
前記生分解性樹脂が、ポリヒドロキシアルカノエートを含有することを特徴とする請求項1に記載の樹脂粒子。
【請求項5】
前記ポリヒドロキシアルカノエートが、ポリ(3-ヒドロキシブチレート-コ-3-ヒドロキシヘキサノエート)であることを特徴とする請求項4に記載の樹脂粒子。
【請求項6】
前記生分解性樹脂が、ポリブチレンアジペートテレフタレートを含有することを特徴とする請求項1に記載の樹脂粒子。
【請求項7】
前記生分解性樹脂の重量平均分子量が50万以下であることを特徴とする請求項1に記載の樹脂粒子。
【請求項8】
前記生分解性樹脂の重量平均分子量が5万以下であることを特徴とする請求項1に記載の樹脂粒子。
【請求項9】
前記樹脂粒子に含まれるアルカリ土類金属成分の量が、前記樹脂粒子全体の質量に対して0.05ppm以上10ppm未満であることを特徴とする請求項1に記載の樹脂粒子。
【請求項10】
前記樹脂粒子に含まれる有機溶剤の量が、前記樹脂粒子全体の質量に対して1ppm以上1%未満であることを特徴とする請求項1に記載の樹脂粒子。
(【請求項11】以降は省略されています)
発明の詳細な説明
【技術分野】
【0001】
本発明は、樹脂粒子、及び樹脂粒子の製造方法に関する。
続きを表示(約 1,700 文字)
【背景技術】
【0002】
樹脂粒子は、大きな比表面積及び粒子の構造を利用して、各種材料の改質及び改良に用いられている。主要用途としては、ファンデーション、制汗剤、スクラブ剤等の化粧品用の配合剤、塗料用艶消し剤、レオロジー改質剤、ブロッキング防止剤、滑り性付与剤、光拡散剤、医療用診断検査剤等の各種剤、自動車材料、建築材料等の成形品への添加剤等の用途が挙げられる。樹脂粒子としては、例えば、ウレタン、アクリル、シリコーン、ポリエチレン等が挙げられる。
【0003】
一方、近年の環境問題への関心が高まる中、環境負荷を低減するため、樹脂を使用するあらゆる分野で、非石油原料由来の材料や生分解性の材料を使用することが求められている。例えば、化粧品、塗料等の樹脂粒子が使用される分野でもそのように求められている。
【0004】
これまでの生分解性樹脂粒子の製造方法としては、凍結粉砕に代表される粉砕法(特許文献1)、高温下の溶媒に溶解し、冷却して析出させたり、溶媒に溶解した後に貧溶媒を加えることにより析出させたりする溶媒溶解析出法(特許文献2、3)、樹脂を溶解しない溶媒と多量の乳化剤を用いて高温下で樹脂を乳化する方法(特許文献4)等が知られている。
【発明の概要】
【発明が解決しようとする課題】
【0005】
しかしながら、化粧料等の外用剤に用いる場合において、特許文献1の樹脂粒子は球形状ではない、粒子径が細かくならない等の課題があり、肌上での伸びの点で更なる向上が求められる。また特許文献2~4で得られる樹脂粒子は、比較的球形状の粒子が得られているが、肌への付着性、肌上での柔らかな伸びの点で十分ではなく、更なる向上が求められる。肌上での柔らかな伸びとは、肌あたりの柔らかさと伸び広がりを示している。
この肌上での柔らかな伸びは、粒子の柔らかさ、粒子の円形度に起因する粒子の転がり性、粉の粒子径の均一性に起因する粉のサラサラ感などが関係すると考えられる。
【0006】
本発明は、生分解性樹脂を含有し、化粧品用として肌への付着性と肌上での柔らかな使用感に優れた樹脂粒子を提供することを目的とする。
【課題を解決するための手段】
【0007】
課題を解決するための手段としての本発明の樹脂粒子は、生分解性樹脂を含有する樹脂粒子であって、体積平均粒径が、5μm以上50μm以下であり、Relative Span Factor(R.S.F)が、1.2以下である。
である。
【発明の効果】
【0008】
本発明によると、生分解性樹脂を含有し、化粧品用として肌への付着性と肌上での柔らかな使用感に優れた樹脂粒子を提供することができる。
【図面の簡単な説明】
【0009】
図1は、本実施形態の方法で製造された粒子と噴霧乾燥法で製造された粒子の粒度分布の一例を示す図である。
図2は、液柱共鳴液滴吐出手段の一例を示す概略断面図である。
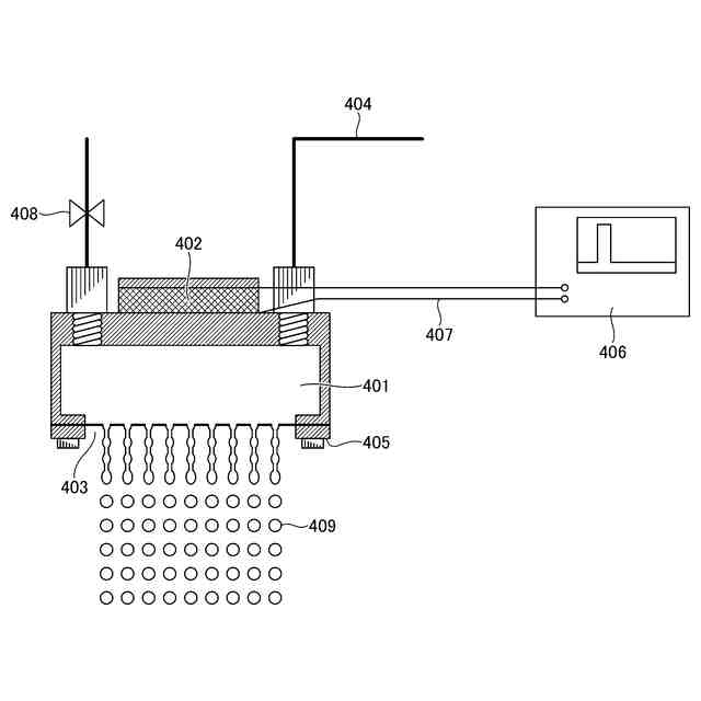
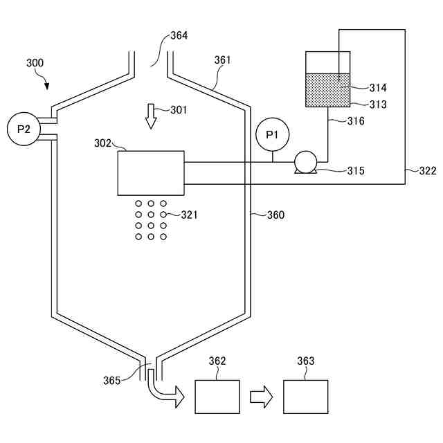
図3は、樹脂粒子の製造装置の一例を示す概略図である。
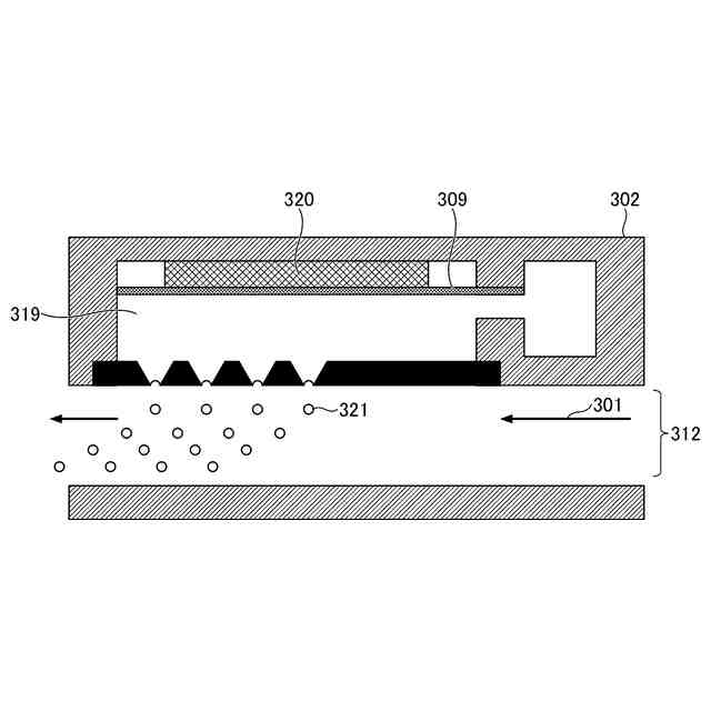
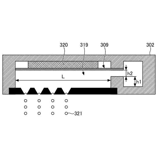
図4は、樹脂粒子の製造装置に用いられる液滴吐出手段の一例を示す概略断面図である。
図5は、樹脂粒子の製造装置に用いられる液滴吐出手段の他の一例を示す概略断面図である。
図6は、レイリー分裂液滴吐出手段の一例を示す概略断面図である。
【発明を実施するための形態】
【0010】
本発明者らは、化粧品用の樹脂粒子について検討したところ、以下の知見を得た。
従来技術では、体積平均粒径や重量平均粒子径などの指標を用いて、粒子の特性を判断している。本発明者らは、生分解性樹脂を含有する樹脂粒子において、体積平均粒径を5μm以上50μm以下、Relative Span Factor(R.S.F)を1.2以下に制御することにより、化粧品用として肌への付着性と肌上での柔らかな使用感に優れた樹脂粒子を提供することが可能であることを見出した。
(【0011】以降は省略されています)
この特許をJ-PlatPat(特許庁公式サイト)で参照する
関連特許
株式会社リコー
移動体
1か月前
株式会社リコー
画像形成装置
1か月前
株式会社リコー
服薬支援装置
15日前
株式会社リコー
画像形成装置
15日前
株式会社リコー
画像形成装置
24日前
株式会社リコー
液体吐出装置
1日前
株式会社リコー
外観検査装置
9日前
株式会社リコー
画像形成装置
1か月前
株式会社リコー
画像形成装置
1か月前
株式会社リコー
画像形成装置
1か月前
株式会社リコー
機器及び異常判定方法
1か月前
株式会社リコー
画像形成装置及びシステム
1か月前
株式会社リコー
定着装置及び画像形成装置
1日前
株式会社リコー
画像形成装置、及び、機器
23日前
株式会社リコー
定着装置、及び画像形成装置
1か月前
株式会社リコー
光走査装置及び画像形成装置
22日前
株式会社リコー
延長トレイ及び画像形成装置
1か月前
株式会社リコー
画像読取装置及び画像読取方法
1か月前
株式会社リコー
画像形成装置及び異常判定方法
15日前
株式会社リコー
シート供給装置、画像形成装置
22日前
株式会社リコー
画像形成装置および画像形成方法
15日前
株式会社リコー
表示装置、切替方法、プログラム
1か月前
株式会社リコー
画像形成装置、及び画像形成方法
9日前
株式会社リコー
樹脂粒子、及び樹脂粒子の製造方法
1か月前
株式会社リコー
加熱装置、定着装置、画像形成装置
25日前
株式会社リコー
媒体処理装置及び画像形成システム
1か月前
株式会社リコー
加熱搬送装置、及び、画像形成装置
23日前
株式会社リコー
通信装置、通信方法、及びプログラム
1か月前
株式会社リコー
通信端末、通信方法、及びプログラム
1か月前
株式会社リコー
読取装置、読取方法およびプログラム
1か月前
株式会社リコー
加熱装置、定着装置及び画像形成装置
1か月前
株式会社リコー
シート給送装置及び画像形成システム
1か月前
株式会社リコー
加熱装置、定着装置及び画像形成装置
9日前
株式会社リコー
後処理装置、及び、画像形成システム
2日前
株式会社リコー
外観検査方法、および外観検査システム
1日前
株式会社リコー
樹脂粒子、トナー、及び、画像形成装置
22日前
続きを見る
他の特許を見る