TOP
|
特許
|
意匠
|
商標
特許ウォッチ
Twitter
他の特許を見る
10個以上の画像は省略されています。
公開番号
2025159872
公報種別
公開特許公報(A)
公開日
2025-10-22
出願番号
2024062704
出願日
2024-04-09
発明の名称
定着装置、及び画像形成装置
出願人
株式会社リコー
代理人
個人
主分類
G03G
15/20 20060101AFI20251015BHJP(写真;映画;光波以外の波を使用する類似技術;電子写真;ホログラフイ)
要約
【課題】定着部材からの熱がベイパーチャンバーを介して保持部材に移動することを抑制し、熱効率の良い定着装置を提供する。
【解決手段】本発明の定着装置は、回転可能に設けられた無端状の定着部材と、定着部材を加熱する加熱手段と、定着部材の外側に設けられ、定着部材を加圧する加圧回転体と、定着部材の内側に設けられ、定着部材と加圧回転体との間にニップ部を形成するニップ形成部材とを備える。また、ニップ形成部材は、定着部材の内周面から熱が伝達されるベイパーチャンバーと、ベイパーチャンバーを保持する保持部材とを含み、保持部材は、複数の凸形状部を有し、凸形状部でベイパーチャンバーと接している。
したがって、定着部材からの熱がベイパーチャンバーを介して保持部材に移動することを抑制し、熱効率を向上できる。
【選択図】図7
特許請求の範囲
【請求項1】
回転可能に設けられた無端状の定着部材と、
前記定着部材を加熱する加熱手段と、
前記定着部材の外側に設けられ、前記定着部材を加圧する加圧回転体と、
前記定着部材の内側に設けられ、前記定着部材と前記加圧回転体との間にニップ部を形成するニップ形成部材とを備える定着装置において、
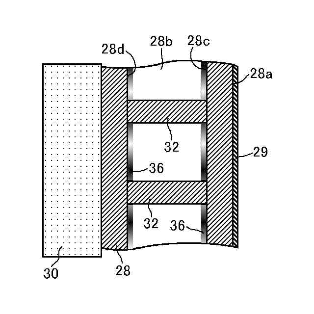
前記ニップ形成部材は、前記定着部材の内周面から熱が伝達されるベイパーチャンバーと、前記ベイパーチャンバーを保持する保持部材とを含み、
前記保持部材は、複数の凸形状部を有し、前記凸形状部で前記ベイパーチャンバーと接していることを特徴とする定着装置。
続きを表示(約 810 文字)
【請求項2】
前記ベイパーチャンバーは、中空部に複数の柱状部材を有し、
前記複数の凸形状部は、前記加圧回転体の加圧方向から見て、前記複数の柱状部材とそれぞれ互いに重なることを特徴とする、請求項1に記載の定着装置。
【請求項3】
前記凸形状部及び前記柱状部材の断面形状は、前記定着部材の軸方向に長い長方形又は楕円形であることを特徴とする、請求項2に記載の定着装置。
【請求項4】
前記保持部材の前記凸形状部は、前記ベイパーチャンバーと接触する部分に、前記保持部材よりも熱伝導性が小さい断熱部材が設けられていることを特徴とする、請求項1に記載の定着装置。
【請求項5】
前記複数の凸形状部の高さは、前記保持部材の中央部から長手方向両端部に向かうにつれて漸増又は漸減していることを特徴とする、請求項1に記載の定着装置。
【請求項6】
前記複数の凸形状部の高さは、前記保持部材の中央部から短手方向両端部に向かうにつれて漸増していることを特徴とする、請求項1に記載の定着装置。
【請求項7】
前記保持部材は、搬送方向の上流及び下流側において、前記ベイパーチャンバーの両側を挟んで保持することを特徴とする、請求項1に記載の定着装置。
【請求項8】
前記保持部材は、前記定着部材の搬送方向下流における前記ニップ部の出口に出口凸形状を有することを特徴とする、請求項1に記載の定着装置。
【請求項9】
前記ベイパーチャンバーは、前記定着部材との摺接面が低摩擦材料で形成されていることを特徴とする、請求項1に記載の定着装置。
【請求項10】
前記加熱手段は、前記定着部材の内周面に対向して配置されたヒータであることを特徴とする、請求項1に記載の定着装置。
(【請求項11】以降は省略されています)
発明の詳細な説明
【技術分野】
【0001】
本発明は、定着装置、及び画像形成装置に関する。
続きを表示(約 2,100 文字)
【背景技術】
【0002】
複写機、プリンタなどの画像形成装置において、記録材上に画像を定着する定着装置が用いられる。そのような定着装置は、発熱体の加熱幅よりも幅の狭い記録材を定着する際に、記録材が通過しない範囲で定着部材の温度上昇(いわゆる端部温度上昇)が生じることが知られている。
【0003】
この端部温度上昇を抑制する技術に関するものとして、例えば、特許文献1がある。この文献には、定着部材の内側に配置されるニップ形成部材が、定着部材の内周面から熱が伝達されるヒートパイプと、そのヒートパイプと定着部材の内周面の間に形成される摺動材のコーティング層とを有することが開示されている。この構成は、ヒートパイプの高い均熱性により、定着部材の端部温度上昇を効果的に抑制できる。
【0004】
さらに、中空のヒートパイプの強度面の課題に対応して、ヒートパイプの代替として中空内部に補強の柱状部材を設けたベイパーチャンバーを用いる技術も知られている。
【発明の概要】
【発明が解決しようとする課題】
【0005】
そのようなベイパーチャンバーは、保持部材によって定着装置内に保持される構成であるが、ベイパーチャンバーの高い熱伝導性により、定着部材からの熱がベイパーチャンバーを介して保持部材にも移動してしまい、熱効率が低下するおそれがあった。
【0006】
そこで本発明は、定着部材からの熱がベイパーチャンバーを介して保持部材に移動することを抑制し、熱効率の良い定着装置を提供することを目的とする。
【課題を解決するための手段】
【0007】
上記課題は、回転可能に設けられた無端状の定着部材と、前記定着部材を加熱する加熱手段と、前記定着部材の外側に設けられ、前記定着部材を加圧する加圧回転体と、前記定着部材の内側に設けられ、前記定着部材と前記加圧回転体との間にニップ部を形成するニップ形成部材とを備える定着装置において、前記ニップ形成部材は、前記定着部材の内周面から熱が伝達されるベイパーチャンバーと、前記ベイパーチャンバーを保持する保持部材とを含み、前記保持部材は、複数の凸形状部を有し、前記凸形状部で前記ベイパーチャンバーと接していることを特徴とする定着装置によって解決される。
【発明の効果】
【0008】
本発明の定着装置は、定着部材からの熱がベイパーチャンバーを介して保持部材に移動することを抑制し、熱効率を向上できる。
【図面の簡単な説明】
【0009】
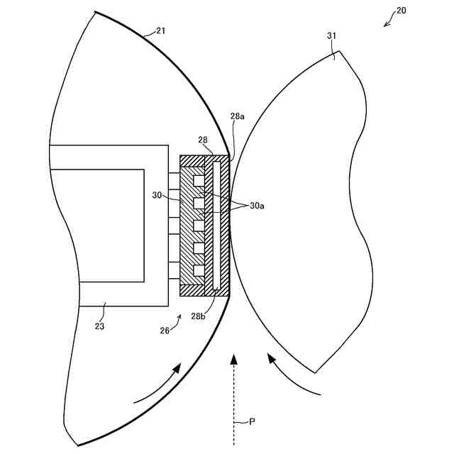
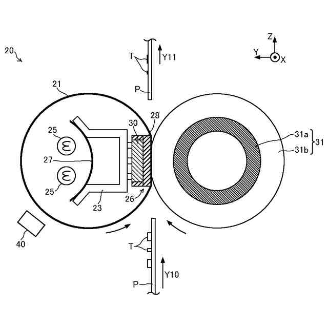
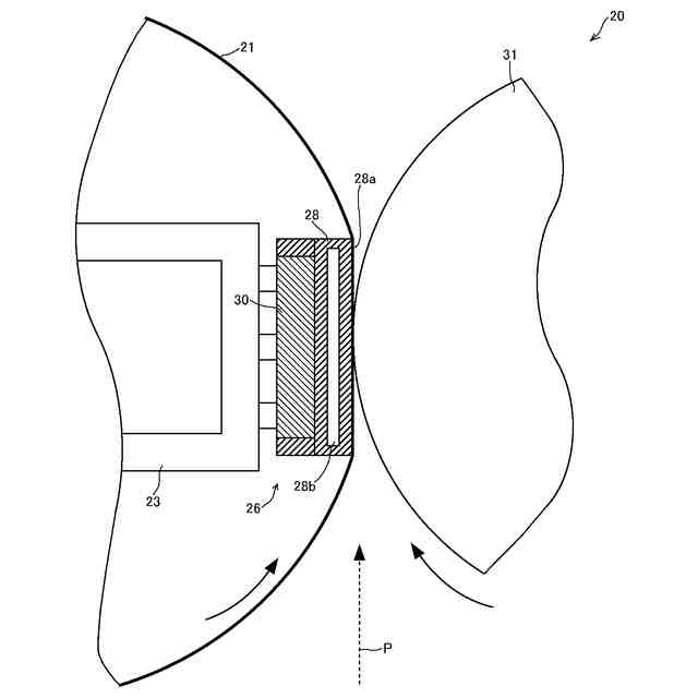
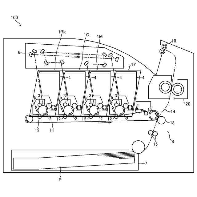
本発明の一実施形態に係る画像形成装置の全体構成を示す概略図である。
本発明の一実施形態に係る定着装置の断面構成図である。
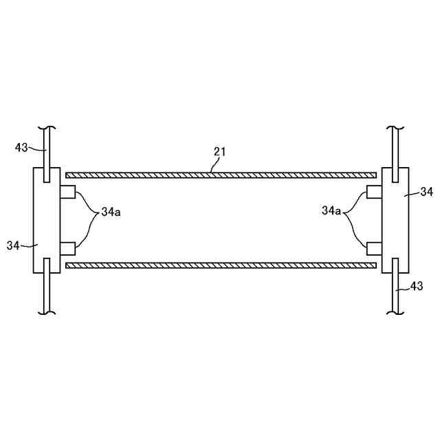
定着ベルト及びガイド部材の断面構成図である。
定着ベルト、加圧ローラ、補強部材、及びニップ形成部材の構成図である。
ニップ形成部材の構成の一例を示す部分断面図である。
ベイパーチャンバーの構成の一例を示す部分断面図である。
本発明の一実施形態に係るニップ形成部材の構成を示す部分断面図である。
本発明の一実施形態に係る、保持部材及びベイパーチャンバーの配置構成を示す斜視図である。
凸形状部と柱状部材の配置構成を示す部分断面図であり、(a)は一致した配置構成であり、(b)は不一致の配置構成である。
本発明の一実施形態に係るベイパーチャンバー内部に配置された柱状部材の形状を示す平面図であり、(a)は長方形形状、(b)は長円又は楕円形状である。
本発明の一変形例に係る保持部材の構成を示す部分断面図である。
(a)は複数の凸形状部の高さが、保持部材の長手方向に沿って漸減するニップ形成部材の断面図であり、(b)はその保持部材の斜視図である。
(a)は複数の凸形状部の高さが、保持部材の長手方向に沿って漸増するニップ形成部材の断面図であり、(b)はその保持部材の斜視図である。
(a)は複数の凸形状部の高さが、保持部材の搬送方向に沿って漸増するニップ形成部材の断面図であり、(b)はその保持部材の斜視図である。
図14のニップ形成部材を用いたニップ形成部材の部分断面図である。
本発明の変形例に係るニップ形成部材の部分断面図(その1)である。
図16aの保持部材の斜視図である。
本発明の変形例に係るニップ形成部材の部分断面図(その2)である。
本発明の変形例に係る定着装置の断面構成図(その1)である。
本発明の変形例に係る定着装置の断面構成図(その2)である。
【発明を実施するための形態】
【0010】
以下、添付の図面に基づき、本発明について説明する。なお、本発明を説明するための各図面において、同一の機能もしくは形状を有する部材や構成部品などの構成要素については、判別が可能な限り同一符号を付すことにより一度説明した後ではその説明を省略する。
(【0011】以降は省略されています)
この特許をJ-PlatPat(特許庁公式サイト)で参照する
関連特許
株式会社リコー
移動体
2か月前
株式会社リコー
液体吐出装置
10日前
株式会社リコー
画像形成装置
1か月前
株式会社リコー
画像形成装置
1か月前
株式会社リコー
画像形成装置
1か月前
株式会社リコー
画像形成装置
1か月前
株式会社リコー
画像形成装置
24日前
株式会社リコー
服薬支援装置
24日前
株式会社リコー
外観検査装置
18日前
株式会社リコー
画像形成装置
1か月前
株式会社リコー
機器及び異常判定方法
1か月前
株式会社リコー
画像形成装置及びシステム
1か月前
株式会社リコー
画像形成装置、及び、機器
1か月前
株式会社リコー
定着装置及び画像形成装置
10日前
株式会社リコー
定着装置、及び画像形成装置
1か月前
株式会社リコー
光走査装置及び画像形成装置
1か月前
株式会社リコー
光源装置および画像表示装置
4日前
株式会社リコー
延長トレイ及び画像形成装置
1か月前
株式会社リコー
画像形成装置及び異常判定方法
24日前
株式会社リコー
画像読取装置及び画像読取方法
1か月前
株式会社リコー
シート供給装置、画像形成装置
1か月前
株式会社リコー
画像形成装置、及び画像形成方法
18日前
株式会社リコー
画像形成装置および画像形成方法
24日前
株式会社リコー
表示装置、切替方法、プログラム
1か月前
株式会社リコー
加熱搬送装置、及び、画像形成装置
1か月前
株式会社リコー
加熱装置、定着装置、画像形成装置
1か月前
株式会社リコー
樹脂粒子、及び樹脂粒子の製造方法
1か月前
株式会社リコー
媒体処理装置及び画像形成システム
3日前
株式会社リコー
媒体処理装置及び画像形成システム
1か月前
株式会社リコー
媒体処理装置及び画像形成システム
3日前
株式会社リコー
通信装置、通信方法、及びプログラム
1か月前
株式会社リコー
シート給送装置及び画像形成システム
1か月前
株式会社リコー
加熱装置、定着装置及び画像形成装置
1か月前
株式会社リコー
加熱装置、定着装置及び画像形成装置
18日前
株式会社リコー
読取装置、読取方法およびプログラム
1か月前
株式会社リコー
後処理装置、及び、画像形成システム
11日前
続きを見る
他の特許を見る