TOP
|
特許
|
意匠
|
商標
特許ウォッチ
Twitter
他の特許を見る
10個以上の画像は省略されています。
公開番号
2025171243
公報種別
公開特許公報(A)
公開日
2025-11-20
出願番号
2024076374
出願日
2024-05-09
発明の名称
加熱装置、定着装置及び画像形成装置
出願人
株式会社リコー
代理人
個人
,
個人
,
個人
主分類
G03G
15/20 20060101AFI20251113BHJP(写真;映画;光波以外の波を使用する類似技術;電子写真;ホログラフイ)
要約
【課題】圧縮コイルばねの誤組付けを防止する。
【解決手段】本発明の加熱装置は、第一の回転体と、第一の回転体の外周面との間に被加熱部材を挿通するニップ部Nを形成する第二の回転体と、第一の回転体及び第二の回転体の少なくとも一方を加熱する加熱源(ヒータ23)と、加熱源の温度を検知する温度センサ26と、温度センサを保持するセンサ保持部材29と、一端部がセンサ保持部材29に支持されると共に他端部が受け部材(ステー24)に支持された圧縮コイルばね30と、を備え、センサ保持部材29は、圧縮コイルばね30の一端部の内径に挿入されるボス部29bを有し、当該ボス部29bは、圧縮コイルばね30の一端部に形成される座巻部30aの内径に嵌合される固定部29b1を有すると共に、圧縮コイルばね30の中間部に形成される有効部30bが固定部29b1から離間していることを特徴とする。
【選択図】図6A
特許請求の範囲
【請求項1】
第一の回転体と、
前記第一の回転体の外周面との間に被加熱部材を挿通するニップ部を形成する第二の回転体と、
前記第一の回転体及び前記第二の回転体の少なくとも一方を加熱する加熱源と、
前記加熱源の温度を検知する温度センサと、
前記温度センサを保持するセンサ保持部材と、
一端部が前記センサ保持部材に支持されると共に他端部が受け部材に支持された圧縮コイルばねと、
を備え、
前記センサ保持部材は、前記圧縮コイルばねの一端部の内径に挿入されるボス部を有し、
当該ボス部は、前記圧縮コイルばねの一端部に形成される座巻部の内径に嵌合される固定部を有すると共に、前記圧縮コイルばねの中間部に形成される有効部が前記固定部から離間していることを特徴とする加熱装置。
続きを表示(約 530 文字)
【請求項2】
前記固定部の先端側に、前記圧縮コイルばねの有効部の内側に位置する案内部が形成されていることを特徴とする請求項1の加熱装置。
【請求項3】
前記案内部が、先端側に行くにつれて先細となるテーパ部を有することを特徴とする請求項2の加熱装置。
【請求項4】
前記テーパ部の外周に前記圧縮コイルばねの有効部が位置することを特徴とする請求項3の加熱装置。
【請求項5】
前記ボス部の基端部に、前記圧縮コイルばねの座巻部の内径から離間した小径部が形成されていることを特徴とする請求項1の加熱装置。
【請求項6】
前記ボス部の前記固定部の先端側に、前記圧縮コイルばねの座巻部の傾斜角と同じ傾斜角を有する螺旋端面が形成されていることを特徴とする請求項1の加熱装置。
【請求項7】
前記螺旋端面の終端の段差面を除く固定部端縁に、前記圧縮コイルばねが接触しないことを特徴とする請求項6の加熱装置。
【請求項8】
請求項1から7のいずれか1項の加熱装置を有することを特徴とする定着装置。
【請求項9】
請求項8の定着装置を有することを特徴とする画像形成装置。
発明の詳細な説明
【技術分野】
【0001】
本発明は加熱装置、定着装置及び画像形成装置に係り、特に加熱源に温度センサを押圧する圧縮コイルばねの誤組付けを防止したものに関する。
続きを表示(約 1,700 文字)
【背景技術】
【0002】
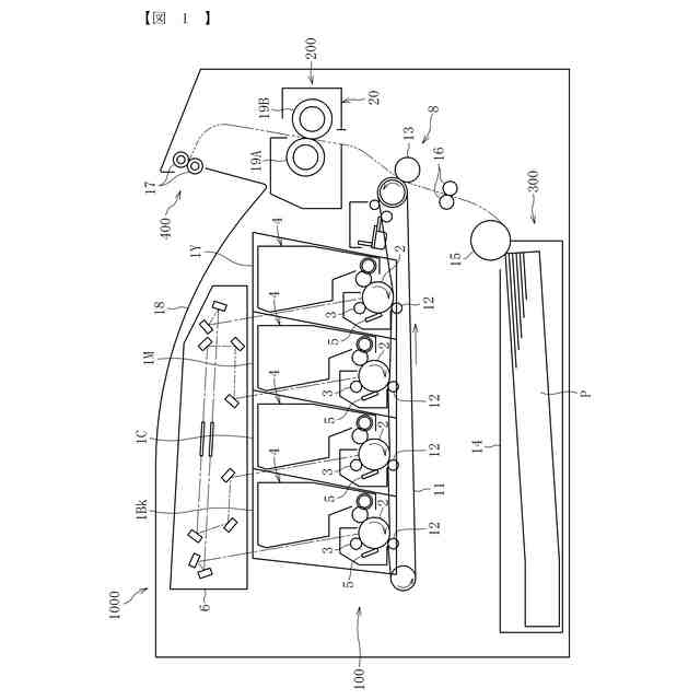
複写機、プリンタなどの画像形成装置に搭載される加熱装置の一例として、シートを加熱して画像をシートに定着させる定着装置が知られている。一般的に、定着装置は、互いに接触してニップ部を形成する一対の回転体と、一対の回転体の少なくとも一方を加熱するヒータなどを備えている。ヒータによって回転体の一方又は両方が所定の温度に加熱された状態で、回転体同士の間(ニップ部)にシートが進入すると、シート上の未定着画像が加熱及び加圧され、未定着画像がシートに定着される。
【0003】
定着装置には、ヒータの温度を適切に維持したり過剰な温度上昇を防止したりする目的で、ヒータの温度を検知する温度センサが設けられている。当該温度センサは、ヒータに対してばねによって所定の押圧力で押付けられる。
【0004】
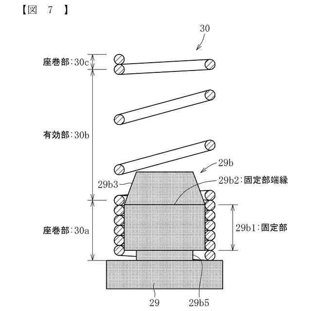
ばねの種類は複数知られており、板ばねを使用するもの(特許文献1:特開2016-114621号公報)、圧縮コイルばねを使用するもの(特許文献2:特開2015-121629号公報)、圧縮コイルばねと板ばねを併用するもの(特許文献3:特開2023-18604号公報)、引張りコイルばねを使用するもの(特許文献4:特開2015-118366号公報)などが知られている。ここで、圧縮コイルばねを使用する場合は、通常、圧縮コイルばねの一端が温度センサを保持するセンサ保持部材のボス部に位置決めされる。
【0005】
詳しくは図13A、図13Bに示すように、圧縮コイルばね30の一端部に形成された座巻部30aが、ボス部29bの外周面に嵌合される。ボス部29bは、座巻部30aの内径に圧嵌合される円柱状の固定部29b1を有する。固定部29b1の上端縁29b2から先端側に向け縮径したテーパ部29b3や、テーパ部29b3の先端から突き出た円柱状のガイド部29b4を有する場合もある。
【発明の開示】
【発明が解決しようとする課題】
【0006】
ここで、圧縮コイルばね30の有効部30b(の下端部)が固定部29b1に重なると、図13B(a)⇒(b)のように、有効部30bが固定部29b1を越えた箇所で巻線の傾斜の影響が出る。すなわち、固定部29b1を越えた箇所でモーメントMが発生し、このモーメントMによってばね荷重Pの方向が傾斜したまま圧縮コイルばね30を誤組付けしてしまう場合がある。
【0007】
そうすると、ヒータに対する温度センサの当接圧が設定圧(一定荷重)より減少したり、温度センサの当接位置が設定位置からズレたりなどして、ヒータの検知温度に誤差が発生する可能性がある。このような誤組付けは組付け後の検品では発見が難しく、製品不良率が非常に高いという課題があった。
【0008】
そこで、本発明は、圧縮コイルばねの誤組付けを防止することを課題とする。
【課題を解決するための手段】
【0009】
前記課題を解決するため、本発明に係る加熱装置は、第一の回転体と、前記第一の回転体の外周面との間に被加熱部材を挿通するニップ部を形成する第二の回転体と、前記第一の回転体及び前記第二の回転体の少なくとも一方を加熱する加熱源と、前記加熱源の温度を検知する温度センサと、前記温度センサを保持するセンサ保持部材と、一端部が前記センサ保持部材に支持されると共に他端部が受け部材に支持された圧縮コイルばねと、を備え、前記センサ保持部材は、前記圧縮コイルばねの一端部の内径に挿入されるボス部を有し、当該ボス部は、前記圧縮コイルばねの一端部に形成される座巻部の内径に嵌合される固定部を有すると共に、前記圧縮コイルばねの中間部に形成される有効部が前記固定部から離間していることを特徴とする。
【発明の効果】
【0010】
本発明によれば、圧縮コイルばねの誤組付けを防止することができる。
【図面の簡単な説明】
(【0011】以降は省略されています)
この特許をJ-PlatPat(特許庁公式サイト)で参照する
関連特許
株式会社リコー
外観検査装置
20日前
株式会社リコー
液体吐出装置
12日前
株式会社リコー
定着装置及び画像形成装置
12日前
株式会社リコー
光源装置および画像表示装置
6日前
株式会社リコー
媒体処理装置及び画像形成システム
5日前
株式会社リコー
媒体処理装置及び画像形成システム
5日前
株式会社リコー
加熱装置、定着装置及び画像形成装置
20日前
株式会社リコー
後処理装置、及び、画像形成システム
13日前
株式会社リコー
外観検査方法、および外観検査システム
12日前
株式会社リコー
カラーホイール、光源装置及び投射装置
1日前
株式会社リコー
投影システム、投影方法およびプログラム
今日
株式会社リコー
プリンタシステムのための自動制御システム
5日前
株式会社リコー
画像形成装置、画像形成方法及びプログラム
14日前
株式会社リコー
画像形成装置、画像形成方法及びプログラム
14日前
株式会社リコー
振動検出装置、バイタルセンサ、配管検査装置
7日前
株式会社リコー
画像形成装置、画像形成方法およびプログラム
今日
株式会社リコー
媒体処理装置、画像形成装置、画像形成システム
5日前
株式会社リコー
穿孔装置、後処理装置、及び、画像形成システム
6日前
株式会社リコー
表示装置、表示方法、プログラム、表示システム
20日前
株式会社リコー
画像読取装置、画像形成装置、および画像読取方法
12日前
株式会社リコー
先塗液の塗布状態の異常検出方法および液体吐出装置
12日前
株式会社リコー
機器、ジェスチャ認識方法、プログラム、表示システム
今日
株式会社リコー
粒子、試薬、医薬組成物、粉末吸入剤及び粒子の製造方法
13日前
株式会社リコー
情報処理システム、情報処理装置、方法およびプログラム
20日前
株式会社リコー
画像形成装置、交換部品、情報処理方法、及びプログラム
7日前
株式会社リコー
筆記装置、表示装置、および、コミュニケーションシステム
20日前
株式会社リコー
機器システム、制御方法、情報処理装置、プログラム、機器
20日前
株式会社リコー
情報伝達システム、情報処理装置、情報伝達方法及びプログラム
5日前
株式会社リコー
導電膜製造方法、焼結装置、電磁波シールド層及び電極パターン
20日前
株式会社リコー
画像形成装置、画像形成方法、画像形成システムおよびプログラム
14日前
株式会社リコー
情報処理システム、情報処理装置、情報処理方法、及びプログラム
12日前
株式会社リコー
情報処理装置、情報処理方法、プログラム、および情報処理システム
12日前
株式会社リコー
情報共有システム、情報共有方法、サーバー装置、プログラム、機器
20日前
株式会社リコー
手書き入力装置、手書き入力システム、手書き入力方法、プログラム
1日前
株式会社リコー
画像形成装置、画像形成装置の制御方法及び画像形成装置の制御プログラム
7日前
株式会社リコー
駆動装置、及び、画像形成装置
1日前
続きを見る
他の特許を見る