TOP
|
特許
|
意匠
|
商標
特許ウォッチ
Twitter
他の特許を見る
公開番号
2025171363
公報種別
公開特許公報(A)
公開日
2025-11-20
出願番号
2024076608
出願日
2024-05-09
発明の名称
外観検査装置
出願人
株式会社リコー
代理人
弁理士法人酒井国際特許事務所
主分類
G01N
21/88 20060101AFI20251113BHJP(測定;試験)
要約
【課題】外観検査において、GRAY領域の製品の欠陥を高精度に良否判別することのできる、外観検査装置を提供する。
【解決手段】本発明は、被検査体の撮像範囲の照度ムラが平均値を基準に±10%以下でありかつ前記被検査体の表面に光を照射する光源と、前記光源で光が照射された前記被検査体を撮像する撮像手段と、異なる撮像方法で前記撮像手段により撮像される複数の撮像画像から抽出した特徴量を用いて、機械学習にて、前記被検査体の欠陥の良否を判別する判別手段と、を備える。
【選択図】図1
特許請求の範囲
【請求項1】
被検査体の撮像範囲の照度ムラが平均値を基準に±10%以下でありかつ前記被検査体の表面に光を照射する光源と、
前記光源で光が照射された前記被検査体を撮像する撮像手段と、
異なる撮像方法で前記撮像手段により撮像される複数の撮像画像から抽出した特徴量を用いて、機械学習にて、前記被検査体の欠陥の良否を判別する判別手段と、
を備える、外観検査装置。
続きを表示(約 610 文字)
【請求項2】
前記光源で光が照射された前記被検査体を撮像する前記撮像手段は、画素数が8000px以上のラインスキャンカメラである、請求項1に記載の外観検査装置。
【請求項3】
前記光源で光が照射された前記被検査体を撮像する前記撮像手段の位置を、前記撮像手段への光の入射方向と直交方向に変えて、複数個所で撮像し、
前記判別手段は、複数個所の前記撮像画像から抽出した前記特徴量を用いて、前記被検査体の欠陥の良否を判別する、請求項1または2に記載の外観検査装置。
【請求項4】
前記判別手段は、3種類以上の異なる撮像方法で前記撮像手段により撮像される前記撮像画像から抽出した前記特徴量を用いて、機械学習にて、前記被検査体である感光体の良否を判別する、請求項1または2に記載の外観検査装置。
【請求項5】
前記判別手段は、前記撮像画像から抽出した前記特徴量として、欠陥の面積値を用いて、機械学習にて、前記被検査体の良否を判別する、請求項1または2に記載の外観検査装置。
【請求項6】
前記判別手段は、ある1つの撮像結果からルールベースで、前記被検査体の良否を判別した後に、異なる撮像方法で前記撮像手段により撮像される複数の前記撮像画像から抽出した前記特徴量を用いて、機械学習にて、前記被検査体の欠陥の良否を判別する、請求項1または2に記載の外観検査装置。
発明の詳細な説明
【技術分野】
【0001】
本発明は、外観検査装置に関する。
続きを表示(約 1,300 文字)
【背景技術】
【0002】
製造業において、市場に高品質かつ安心な製品を提供するために検査工程により良品または不良品を適切に判別する必要がある。一般に外観検査においては、カメラや照明等の撮像光学系を組み合わせ、製品の外観を撮影した後、適切な画像処理を行うことで製品の欠陥の有無や大きさを判別し、良否を判定する技術がある(特許文献1~3参照)。
【発明の概要】
【発明が解決しようとする課題】
【0003】
しかしながら、このような従来の技術では、ルールベースや機械学習モデルを用いて、良否(OKとNG)の閾値を引く際に、閾値付近には良品と不良品が混在する領域(GRAY領域)が生じる場合、不良品を流出させないために、GRAY領域は全てNGと判定するように閾値を引く関係上、一部良品をNGと判定し、不良品を過検出してしまう問題がある。
【0004】
本発明は、上記に鑑みてなされたものであって、外観検査において、GRAY領域の製品の欠陥を高精度に良否判別することのできる、外観検査装置を提供することを目的とする。
【課題を解決するための手段】
【0005】
上述した課題を解決し、目的を達成するために、本発明は、被検査体の撮像範囲の照度ムラが平均値を基準に±10%以下でありかつ前記被検査体の表面に光を照射する光源と、前記光源で光が照射された前記被検査体を撮像する撮像手段と、異なる撮像方法で前記撮像手段により撮像される複数の撮像画像から抽出した特徴量を用いて、機械学習にて、前記被検査体の欠陥の良否を判別する判別手段と、を備える。
【発明の効果】
【0006】
本発明によれば、外観検査において、GRAY領域の製品の欠陥を高精度に良否判別することができる、という効果を奏する。
【図面の簡単な説明】
【0007】
図1は、本実施の形態にかかる外観検査装置の概略図である。
図2は、本実施の形態にかかる外観検査装置の概略図である。
図3は、本実施の形態にかかる外観検査装置における制御処理の流れの一例を説明するための図である。
図4は、本実施の形態にかかる外観検査装置における制御処理の流れの一例を説明するための図である。
【発明を実施するための形態】
【0008】
以下に添付図面を参照して、外観検査装置の実施の形態を詳細に説明する。
【0009】
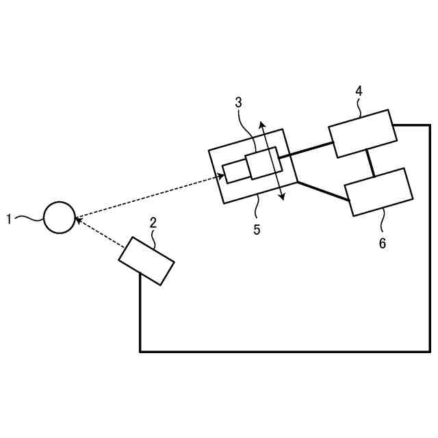
図1および図2は、本実施の形態にかかる外観検査装置の概略図である。図3および図4は、本実施の形態にかかる外観検査装置における制御処理の流れの一例を説明するための図である。撮像方式12は、被検査体1、光源2、撮像手段3、ステージ5、および制御部6を有している。撮像方式13は、被検査体1、光源7、撮像手段8、ステージ9、およびマルチスリット10,11を有している。
【0010】
被検査体1は、図1および図2に示す円筒型形状以外に、シート型形状も用いることができる。
(【0011】以降は省略されています)
この特許をJ-PlatPat(特許庁公式サイト)で参照する
関連特許
株式会社リコー
画像形成装置
1か月前
株式会社リコー
画像形成装置
1か月前
株式会社リコー
外観検査装置
20日前
株式会社リコー
画像形成装置
1か月前
株式会社リコー
画像形成装置
1か月前
株式会社リコー
液体吐出装置
12日前
株式会社リコー
画像形成装置
26日前
株式会社リコー
服薬支援装置
26日前
株式会社リコー
画像形成装置、及び、機器
1か月前
株式会社リコー
画像形成装置及びシステム
1か月前
株式会社リコー
定着装置及び画像形成装置
12日前
株式会社リコー
延長トレイ及び画像形成装置
1か月前
株式会社リコー
光走査装置及び画像形成装置
1か月前
株式会社リコー
光源装置および画像表示装置
6日前
株式会社リコー
画像形成装置及び異常判定方法
26日前
株式会社リコー
シート供給装置、画像形成装置
1か月前
株式会社リコー
画像読取装置及び画像読取方法
1か月前
株式会社リコー
画像形成装置、及び画像形成方法
20日前
株式会社リコー
画像形成装置および画像形成方法
26日前
株式会社リコー
加熱搬送装置、及び、画像形成装置
1か月前
株式会社リコー
樹脂粒子、及び樹脂粒子の製造方法
1か月前
株式会社リコー
加熱装置、定着装置、画像形成装置
1か月前
株式会社リコー
媒体処理装置及び画像形成システム
5日前
株式会社リコー
媒体処理装置及び画像形成システム
5日前
株式会社リコー
媒体処理装置及び画像形成システム
1か月前
株式会社リコー
読取装置、読取方法およびプログラム
1か月前
株式会社リコー
後処理装置、及び、画像形成システム
13日前
株式会社リコー
通信装置、通信方法、及びプログラム
1か月前
株式会社リコー
通信端末、通信方法、及びプログラム
1か月前
株式会社リコー
加熱装置、定着装置及び画像形成装置
20日前
株式会社リコー
外観検査方法、および外観検査システム
12日前
株式会社リコー
樹脂粒子、トナー、及び、画像形成装置
1か月前
株式会社リコー
カラーホイール、光源装置及び投射装置
1日前
株式会社リコー
投影システム、投影方法およびプログラム
今日
株式会社リコー
画像形成装置、情報処理方法及びプログラム
1か月前
株式会社リコー
画像形成装置、画像形成方法及びプログラム
14日前
続きを見る
他の特許を見る