TOP
|
特許
|
意匠
|
商標
特許ウォッチ
Twitter
他の特許を見る
10個以上の画像は省略されています。
公開番号
2025176546
公報種別
公開特許公報(A)
公開日
2025-12-04
出願番号
2024082778
出願日
2024-05-21
発明の名称
光源装置および画像表示装置
出願人
株式会社リコー
代理人
個人
主分類
G03B
21/14 20060101AFI20251127BHJP(写真;映画;光波以外の波を使用する類似技術;電子写真;ホログラフイ)
要約
【課題】画像表示装置により表示されるカラー画像の色温度の補正を可能にする。
【解決手段】光源装置は、発光素子から励起光を放射される励起光を励起光束とし、ダイクロイックミラーDMと、第1の集光光学系L3、L4を介して、波長変換部材2に集光させ、波長変換素子2により発生する反射励起光及び蛍光を、第1および第2の集光光学系L3、L4、L5を介して光均一化素子4の入射面上に集光させ、ダイクロイックミラーDMの位置および姿勢のうちの少なくとも一方の調整により、光均一化素子4の入射面における反射励起光LERの集光位置と蛍光LFの集光位置とが調整可能である。
【選択図】 図1
特許請求の範囲
【請求項1】
1個または複数個の発光素子から励起光を放射させ、放射される励起光を励起光束とする励起光用光源部と、
前記励起光束を照射され前記励起光束を反射する反射部と、前記励起光束と波長の異なる蛍光を放射する蛍光体層部とを有する波長変換部材と、
前記励起光束と前記蛍光の何れか一方を透過させ、他方を反射するダイクロイックミラーと、
前記ダイクロイックミラーを介した励起光束を前記波長変換部材に集光させる第1の集光光学系と、
前記波長変換部材からの反射励起光および前記蛍光を、前記第1の集光光学系を介して集光させる第2の集光光学系と、
該第2の集光光学系により集光される前記反射励起光および前記蛍光を均一化する光均一化素子と、を有し、
前記波長変換部材に入射する前記励起光束は、前記第1の集光光学系の光学的有効面の片側半分の面の中を通過し、前記反射励起光は前記第1の集光光学系の前記光学的有効面の光軸を介して反対側の片側半分の面を透過し、前記第2の集光光学系は、前記第1の集光光学系と前記光軸を共有し、
前記励起光用光源部における前記励起光の光路上の光学素子、および前記ダイクロイックミラー、および前記波長変換部材の何れかの、位置および姿勢のうちの少なくとも一方を調整することにより、前記光均一化素子の入射位置における前記反射励起光の集光位置と前記蛍光の集光位置とが調整可能である光源装置。
続きを表示(約 690 文字)
【請求項2】
請求項1記載の光源装置であって、
前記励起光用光源部における前記励起光の光路上の前記光学素子の、位置および姿勢のうちの少なくとも一方が調整可能である光源装置。
【請求項3】
請求項1記載の光源装置であって、
前記ダイクロイックミラーの位置および姿勢のうちの少なくとも一方が調整可能である光源装置。
【請求項4】
請求項1記載の光源装置であって、
前記波長変換部材の位置および姿勢のうちの少なくとも一方が調整可能である光源装置。
【請求項5】
請求項3記載の光源装置であって、
前記ダイクロイックミラーの姿勢が、ミラー法線に直交する方向において回転調整可能である光源装置。
【請求項6】
請求項5記載の光源装置であって、
前記ダイクロイックミラーの回転中心と、前記励起光束の前記ダイクロイックミラーにおける反射点が一致する光源装置。
【請求項7】
請求項1記載の光源装置であって、
前記励起光が青色光であり、前記蛍光が緑色成分と赤色成分を含む黄色光であり、前記青色光、緑色成分および赤色成分を分離する色分離手段を、前記光均一化素子に近接して有する光源装置。
【請求項8】
請求項1記載の前記光源装置を2個、前記光均一化素子を共通にし、該光均一化素子へ向かう各反射励起光および各蛍光を光合成素子により合成するように配置した光源装置。
【請求項9】
請求項1~8の何れか1項に記載の光源装置を用いる画像表示装置。
発明の詳細な説明
【技術分野】
【0001】
この発明は光源装置および画像表示装置に関する。
続きを表示(約 2,400 文字)
【背景技術】
【0002】
プロジェクタやヘッドアップディスプレイ、ウエアラブルディスプレイ等の画像表示装置用の光源として、半導体レーザ(LD)や発光ダイオード(LED)から放射される光を励起光として蛍光層に照射して蛍光を放射させ、励起光と蛍光とを用いてカラー画像を表示する光源装置が知られている(特許文献1)。
【0003】
このような光源装置では、3原色をなす光が時分割的に組み合わされてカラー画像を表示するが、光源装置を構成する光学素子相互の位置関係が、設計上の位置関係からずれると、表示されるカラー画像の色温度が変化して、カラー画像が、例えば、青っぽくなったり、赤っぽくなったりする「色味の変化」が発生し、表示されるカラー画像の画質を損なう問題がある。
【発明の概要】
【発明が解決しようとする課題】
【0004】
この発明は、前記色味の変化を補正できる新規な光源装置の提供を課題とする。
【課題を解決するための手段】
【0005】
この発明の光源装置は、1個または複数個の発光素子から励起光を放射させ、放射される励起光を励起光束とする励起光用光源部と、前記励起光束を照射され前記励起光束を反射する反射部と、前記励起光束と波長の異なる蛍光を放射する蛍光体層部とを有する波長変換部材と、前記励起光束と前記蛍光の何れか一方を透過させ、他方を反射するダイクロイックミラーと、前記ダイクロイックミラーを介した励起光束を前記波長変換部材に集光させる第1の集光光学系と、前記波長変換部材からの反射励起光および前記蛍光を、前記第1の集光光学系を介して集光させる第2の集光光学系と、該第2の集光光学系により集光される前記反射励起光および前記蛍光を均一化する光均一化素子と、を有し、前記波長変換部材に入射する前記励起光束は、前記第1の集光光学系の光学的有効面の片側半分の面の中を通過し、前記反射励起光は前記第1の集光光学系の前記光学的有効面の光軸を介して反対側の片側半分の面を透過し、前記第2の集光光学系は、前記第1の集光光学系と前記光軸を共有し、前記励起光用光源部における前記励起光の光路上の光学素子、および前記ダイクロイックミラー、および前記波長変換部材の何れかの、位置および姿勢のうちの少なくとも一方を調整することにより、前記光均一化素子の入射位置における前記反射励起光の集光位置と前記蛍光の集光位置とが調整可能である。
【発明の効果】
【0006】
この発明によれば、光源装置を構成する光学素子相互の位置関係の、設計上の位置関係からのずれに拘わらず、表示されるカラー画像の色味の変化を補正し、適正な色温度のカラー画像の表示を可能とすることができる。
【図面の簡単な説明】
【0007】
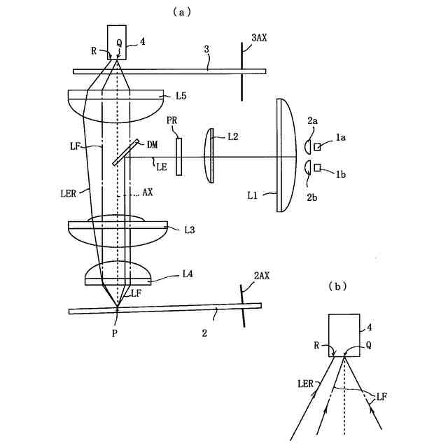
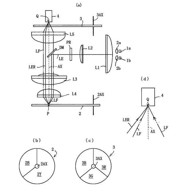
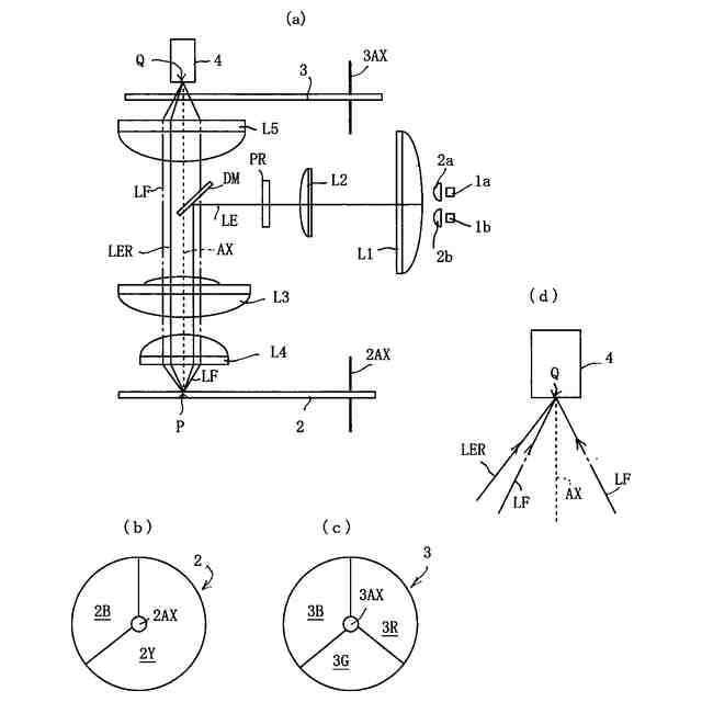
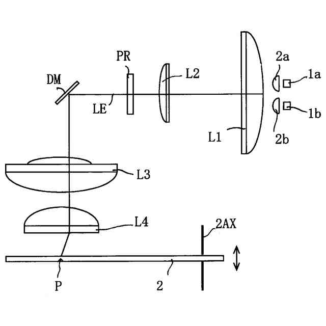
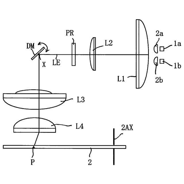
光源装置の基本的な構成の1例を説明する図である。
波長変換部材の正規態位からの傾きによる光均一化素子の入射面における蛍光の集光位置と反射励起光の集光位置の分離を説明する図である。
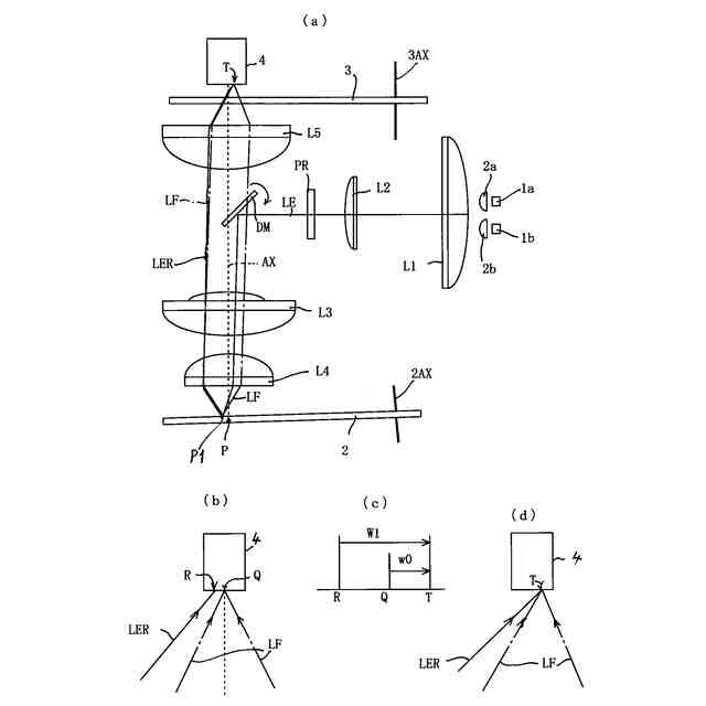
光源装置の実施の1形態を説明するための図である。
光源装置の実施の他の形態を説明するための図である。
光源装置の実施のさらに他の形態を説明するための図である。
光源装置の実施の別の形態を説明するための図である。
光源装置を2個用いる実施の形態例を説明するための図である。
画像表示装置としてのプロジェクタを説明する図である。
画像表示装置としてのウエアラブルディスプレイ装置の1例を説明する図である。
画像表示装置としてのウエアラブルディスプレイ装置の別例を説明する図である。
画像表示装置としてのウエアラブルディスプレイ装置の他の例を説明する図である。
画像表示装置としてのウエアラブルディスプレイ装置のさらに他の例を説明する図である。
画像表示装置としてのヘッドアップディスプレイ装置を説明する図である。
画像表示装置としてのヘッドアップディスプレイ装置の別例を説明する図である。
【発明を実施するための形態】
【0008】
以下、実施の形態を説明する。
先ず、光源装置の基本的な構成の1例を、図1に即して説明する。
図1(a)は、光源装置の基本的な構成の1例を示している。
図1(a)において、符号1a、1bは発光素子、符号2a、2bは集光レンズを示している。発光素子2a、2bは、半導体レーザ(LD)あるいは発光ダイオード(LED)であり、励起光を放射する。この例では、励起光は「青色光」である。
【0009】
集光レンズ2a、2bはマイクロレンズであり、それぞれ、対応する発光素子からの青色光を平行光束化する。マイクロレンズ2a、2bを通った励起光は、レンズL1、L2を透過し、ビームプロファイラPRに入射し、励起光束LEとなる。
【0010】
若干付言すると、図1(a)において、2個の発光素子1a、1bが示されているが、発光素子の数は2個に限らない。発光素子は1個であることも、3個以上であることもできる。発光素子の数は、表示されるカラー画像に応じて適宜に定められる。例えば、カラー画像を表示する画像表示装置が大画面表示のプロジェクタであるような場合には、それに応じて多数の発光素子のアレイが必要になるし、後述するウエアラブルディスプレイのような画像表示装置であれば、1個の発光素子で足りる場合もある。
上記の如く、マイクロレンズ2a、2bを通った励起光は、レンズL1、L2を透過し、光束を合成されてビームプロファイラPRを透過し、励起光束LEとなる。
(【0011】以降は省略されています)
この特許をJ-PlatPat(特許庁公式サイト)で参照する
関連特許
株式会社リコー
画像形成装置
1か月前
株式会社リコー
画像形成装置
29日前
株式会社リコー
画像形成装置
1か月前
株式会社リコー
画像形成装置
1か月前
株式会社リコー
画像形成装置
20日前
株式会社リコー
服薬支援装置
20日前
株式会社リコー
画像形成装置
1か月前
株式会社リコー
液体吐出装置
6日前
株式会社リコー
外観検査装置
14日前
株式会社リコー
機器及び異常判定方法
1か月前
株式会社リコー
画像形成装置、及び、機器
28日前
株式会社リコー
定着装置及び画像形成装置
6日前
株式会社リコー
画像形成装置及びシステム
1か月前
株式会社リコー
光走査装置及び画像形成装置
27日前
株式会社リコー
延長トレイ及び画像形成装置
1か月前
株式会社リコー
光源装置および画像表示装置
今日
株式会社リコー
定着装置、及び画像形成装置
1か月前
株式会社リコー
画像読取装置及び画像読取方法
1か月前
株式会社リコー
画像形成装置及び異常判定方法
20日前
株式会社リコー
シート供給装置、画像形成装置
27日前
株式会社リコー
画像形成装置、及び画像形成方法
14日前
株式会社リコー
表示装置、切替方法、プログラム
1か月前
株式会社リコー
画像形成装置および画像形成方法
20日前
株式会社リコー
加熱装置、定着装置、画像形成装置
1か月前
株式会社リコー
樹脂粒子、及び樹脂粒子の製造方法
1か月前
株式会社リコー
加熱搬送装置、及び、画像形成装置
28日前
株式会社リコー
媒体処理装置及び画像形成システム
1か月前
株式会社リコー
通信端末、通信方法、及びプログラム
1か月前
株式会社リコー
通信装置、通信方法、及びプログラム
1か月前
株式会社リコー
後処理装置、及び、画像形成システム
7日前
株式会社リコー
加熱装置、定着装置及び画像形成装置
1か月前
株式会社リコー
シート給送装置及び画像形成システム
1か月前
株式会社リコー
読取装置、読取方法およびプログラム
1か月前
株式会社リコー
加熱装置、定着装置及び画像形成装置
14日前
株式会社リコー
樹脂粒子、トナー、及び、画像形成装置
27日前
株式会社リコー
光源装置、画像投影装置および調整方法
1か月前
続きを見る
他の特許を見る