TOP
|
特許
|
意匠
|
商標
特許ウォッチ
Twitter
他の特許を見る
公開番号
2025174083
公報種別
公開特許公報(A)
公開日
2025-11-28
出願番号
2024080136
出願日
2024-05-16
発明の名称
液体吐出装置
出願人
株式会社リコー
代理人
個人
,
個人
,
個人
主分類
B41J
2/01 20060101AFI20251120BHJP(印刷;線画機;タイプライター;スタンプ)
要約
【課題】乾燥処理後のシートの吸湿に伴うシートの波打ちを抑制する。
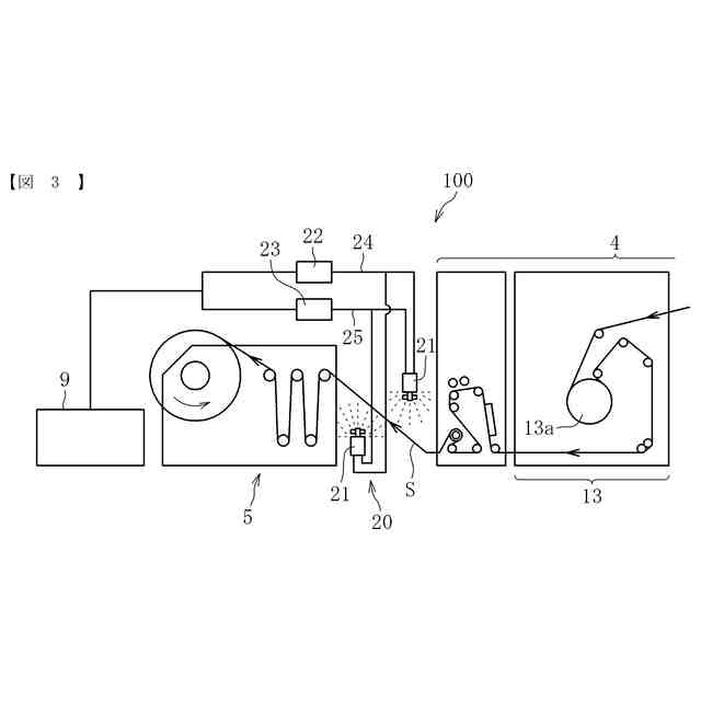
【解決手段】液体吐出装置は、ロール状に巻かれたシートSを繰り出して供給するシート供給部と、供給されたシートSに液体を吐出する液体吐出部と、液体が吐出されたシートSを乾燥させる乾燥部13と、乾燥されたシートSを巻き取って回収するシート回収部5と、乾燥部13とシート回収部5との間に配置され、シートSの両面に対して微細液滴を噴霧して加湿する加湿部20と、を備える。
【選択図】図3
特許請求の範囲
【請求項1】
ロール状に巻かれたシートを繰り出して供給するシート供給部と、
供給された前記シートに液体を吐出する液体吐出部と、
液体が吐出された前記シートを乾燥させる乾燥部と、
乾燥された前記シートを巻き取って回収するシート回収部と、
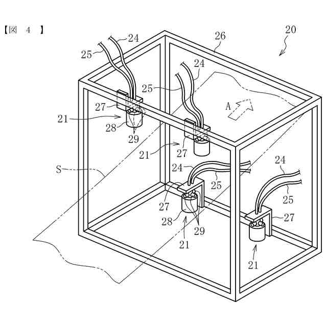
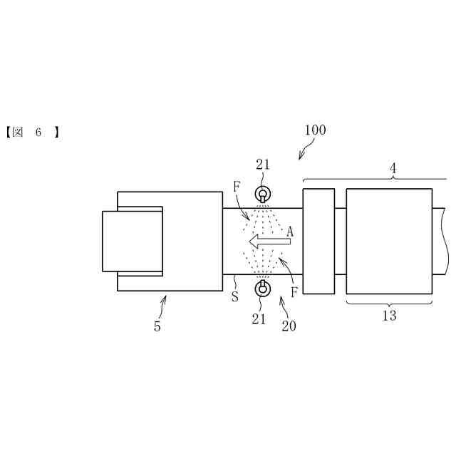
前記乾燥部と前記シート回収部との間に配置され、前記シートの両面に対して微細液滴を噴霧して加湿する加湿部と、
を備えることを特徴とする液体吐出装置。
続きを表示(約 790 文字)
【請求項2】
前記加湿部は、前記シートの両面のそれぞれに対して交差する方向から前記微細液滴を噴霧する請求項1に記載の液体吐出装置。
【請求項3】
前記加湿部は、前記微細液滴を噴霧する噴霧部を有し、
前記噴霧部は、前記シートの両面の幅方向に渡って複数配置される請求項2に記載の液体吐出装置。
【請求項4】
前記加湿部は、前記微細液滴を噴霧する噴霧部を有し、
前記噴霧部のノズルは、前記シートの両面に対して同じ距離を介して対向するように配置される請求項2に記載の液体吐出装置。
【請求項5】
前記加湿部は、前記シートの幅方向外側である横方向から前記微細液滴を噴霧する請求項1に記載の液体吐出装置。
【請求項6】
前記加湿部は、前記シート回収部の直前に配置される請求項1に記載の液体吐出装置。
【請求項7】
前記微細液滴の噴霧は、前記シートの供給動作及び回収動作の開始と同時又はその後に開始される請求項1に記載の液体吐出装置。
【請求項8】
前記微細液滴は、平均粒子径が10μm以下で、最大粒子径が50μm以下の霧状の液滴である請求項1に記載の液体吐出装置。
【請求項9】
前記微細液滴の噴霧量は、前記シートの種類、前記シート供給部及び前記シート回収部によるシート搬送速度、前記乾燥部の乾燥温度の少なくとも1つの情報に基づいて制御される請求項1に記載の液体吐出装置。
【請求項10】
前記加湿部を通過した後の前記シートの含水率を検出する含水率検出部を備え、
前記含水率検出部によって検出される前記シートの含水率に基づいて、前記微細液滴の噴霧量が制御される請求項1に記載の液体吐出装置。
(【請求項11】以降は省略されています)
発明の詳細な説明
【技術分野】
【0001】
本発明は、液体吐出装置に関する。
続きを表示(約 1,300 文字)
【背景技術】
【0002】
液体吐出装置の一例として、シートにインクを吐出して画像を形成するインクジェット式の画像形成装置が知られている。
【0003】
また、インクジェット式の画像形成装置においては、シートに吐出されたインクを乾燥させる乾燥ユニットが設けられているものがある。
【0004】
例えば、特許文献1(特開2012-111081号公報)においては、ロール紙に着弾したインクを乾燥させる乾燥ユニットを備える画像記録装置に関する発明が提案されている。この発明は、乾燥ユニットによってロール紙の水分含量が低下し過ぎた場合のロール紙の収縮を防止するため、印刷領域に供給される前のロール紙を加湿するというものである。
【0005】
しかしながら、特許文献1においては、乾燥に伴う紙の収縮を防止する技術については提案されているものの、乾燥処理後のシートの吸湿に伴うシートの波打ちを抑制する対策については提案されていない。
【発明の概要】
【発明が解決しようとする課題】
【0006】
そこで、本発明においては、乾燥処理後のシートの吸湿に伴うシートの波打ちを抑制することを課題とする。
【課題を解決するための手段】
【0007】
上記課題を解決するため、本発明に係る液体吐出装置は、ロール状に巻かれたシートを繰り出して供給するシート供給部と、供給された前記シートに液体を吐出する液体吐出部と、液体が吐出された前記シートを乾燥させる乾燥部と、乾燥された前記シートを巻き取って回収するシート回収部と、前記乾燥部と前記シート回収部との間に配置され、前記シートの両面に対して微細液滴を噴霧して加湿する加湿部と、を備えることを特徴とする。
【発明の効果】
【0008】
本発明によれば、乾燥処理後のシートの吸湿に伴うシートの波打ちを抑制できる。
【図面の簡単な説明】
【0009】
本発明の第1実施形態に係る画像形成装置の全体構成図である。
本発明の第1実施形態に係る制御部の構成を示すブロック図である。
本発明の第1実施形態に係る画像形成装置の特徴部分の構成を示す概略図である。
本発明の第1実施形態に係る加湿部の一例を示す斜視図である。
本発明の第1実施形態に係る加湿部の動作を説明するための図である。
本発明の第2実施形態に係る画像形成装置の概略平面図である。
本発明の第2実施形態に係る加湿部をシート搬送方向の上流側から見た概略図である。
本発明の第3実施形態に係る画像形成装置の概略図である。
【発明を実施するための形態】
【0010】
以下、添付の図面に基づき、本発明について説明する。なお、本発明を説明するための各図面において、同一の機能もしくは形状を有する部材及び構成部品などの構成要素については、判別が可能な限り同一符号を付し、一度説明した後ではその説明を省略する。
(【0011】以降は省略されています)
この特許をJ-PlatPat(特許庁公式サイト)で参照する
関連特許
株式会社リコー
画像形成装置
23日前
株式会社リコー
外観検査装置
8日前
株式会社リコー
画像形成装置
1か月前
株式会社リコー
画像形成装置
1か月前
株式会社リコー
液体吐出装置
今日
株式会社リコー
画像形成装置
29日前
株式会社リコー
画像形成装置
29日前
株式会社リコー
画像形成装置
14日前
株式会社リコー
服薬支援装置
14日前
株式会社リコー
機器及び異常判定方法
1か月前
株式会社リコー
画像形成装置及びシステム
1か月前
株式会社リコー
画像形成装置、及び、機器
22日前
株式会社リコー
定着装置及び画像形成装置
今日
株式会社リコー
定着装置、及び画像形成装置
1か月前
株式会社リコー
延長トレイ及び画像形成装置
1か月前
株式会社リコー
光走査装置及び画像形成装置
21日前
株式会社リコー
画像形成装置及び異常判定方法
14日前
株式会社リコー
シート供給装置、画像形成装置
21日前
株式会社リコー
画像読取装置及び画像読取方法
1か月前
株式会社リコー
画像形成装置および画像形成方法
14日前
株式会社リコー
表示装置、切替方法、プログラム
1か月前
株式会社リコー
画像形成装置、及び画像形成方法
8日前
株式会社リコー
加熱搬送装置、及び、画像形成装置
22日前
株式会社リコー
樹脂粒子、及び樹脂粒子の製造方法
29日前
株式会社リコー
媒体処理装置及び画像形成システム
1か月前
株式会社リコー
加熱装置、定着装置、画像形成装置
24日前
株式会社リコー
シート給送装置及び画像形成システム
1か月前
株式会社リコー
加熱装置、定着装置及び画像形成装置
8日前
株式会社リコー
後処理装置、及び、画像形成システム
1日前
株式会社リコー
通信端末、通信方法、及びプログラム
1か月前
株式会社リコー
通信装置、通信方法、及びプログラム
1か月前
株式会社リコー
読取装置、読取方法およびプログラム
1か月前
株式会社リコー
加熱装置、定着装置及び画像形成装置
1か月前
株式会社リコー
樹脂粒子、トナー、及び、画像形成装置
21日前
株式会社リコー
外観検査方法、および外観検査システム
今日
株式会社リコー
光源装置、画像投影装置および調整方法
1か月前
続きを見る
他の特許を見る