TOP
|
特許
|
意匠
|
商標
特許ウォッチ
Twitter
他の特許を見る
10個以上の画像は省略されています。
公開番号
2025179003
公報種別
公開特許公報(A)
公開日
2025-12-09
出願番号
2025033966
出願日
2025-03-04
発明の名称
カラーホイール、光源装置及び投射装置
出願人
株式会社リコー
代理人
個人
主分類
G03B
21/14 20060101AFI20251202BHJP(写真;映画;光波以外の波を使用する類似技術;電子写真;ホログラフイ)
要約
【課題】原色の色純度を高め、発色の良いカラーホイールの提供。
【解決手段】各々異なる光透過特性を有する複数の色フィルタが配列された第1のフィルタ群/第2のフィルタ群と、を含み、両群の複数の色フィルタが円周方向に並ぶように第1のフィルタ群と第2のフィルタ群とが配置されたカラーホイールであって、第1のフィルタ群と第2のフィルタ群とは、複数の色フィルタのうち、光透過特性が同じもしくは類似する色フィルタ同士が隣接する箇所を少なくとも1か所形成するように配置され、第1のフィルタ群および第2のフィルタ群のそれぞれに配列された複数の色フィルタの、異なる色毎の面積もしくは中心角度を不均等に設定するとともに、第1のフィルタ群を成す複数の色フィルタの各色の面積比もしくは前記中心角度の角度比と、第2のフィルタ群を成す前記複数の色フィルタの各色の面積比もしくは前記中心角度の角度比とが略等しい。
【選択図】図5
特許請求の範囲
【請求項1】
異なる光透過特性を有する複数の色フィルタが配列された第1のフィルタ群と、
異なる光透過特性を有する複数の色フィルタが配列された第2のフィルタ群と、
を含み、
前記第1のフィルタ群の前記複数の色フィルタと、前記第2のフィルタ群の前記複数の色フィルタとが円周方向に並ぶように前記第1のフィルタ群と前記第2のフィルタ群とが配置されたカラーホイールであって、
前記第1のフィルタ群と前記第2のフィルタ群とは、それぞれに配列された前記複数の色フィルタのうち、光透過特性が同じもしくは類似する色フィルタ同士が隣接する箇所を少なくとも1か所形成するように配置され、
前記第1のフィルタ群および前記第2のフィルタ群のそれぞれに配列された前記複数の色フィルタの、異なる色毎の面積もしくは中心角度を不均等に設定するとともに、
前記第1のフィルタ群を成す前記複数の色フィルタの各色の面積比もしくは前記中心角度の角度比と、前記第2のフィルタ群を成す前記複数の色フィルタの各色の面積比もしくは前記中心角度の角度比とが略等しいことを特徴とするカラーホイール。
続きを表示(約 1,000 文字)
【請求項2】
請求項1に記載のカラーホイールであって、
前記色フィルタ同士が隣接した2つの色フィルタの合算された中心角度は、前記複数の色フィルタに入射する光のスポット径に対応する中心角度の2倍以上であることを特徴とするカラーホイール。
【請求項3】
請求項2に記載のカラーホイールであって、
前記スポット径は、前記光の射影のうち、前記色フィルタの境界が走査する方向の長さで規定されることを特徴とするカラーホイール。
【請求項4】
請求項1に記載のカラーホイールであって、
前記色フィルタに入射する光の射影のうち、前記色フィルタの境界が走査する方向の長さ:α、前記色フィルタの境界が走査する方向と垂直な方向の長さ:βとしたとき、β>αであることを特徴とするカラーホイール。
【請求項5】
請求項1に記載のカラーホイールであって、
前記色フィルタに入射する光の射影のうち、前記色フィルタの境界が走査する方向の長さ:α、前記色フィルタの境界が走査する方向と垂直な方向の長さ:βとしたとき、α>βであることを特徴とするカラーホイール。
【請求項6】
請求項1に記載のカラーホイールであって、
前記色フィルタに対して2以上の光が入射することを特徴とするカラーホイール。
【請求項7】
請求項5に記載のカラーホイールであって
前記2以上の入射光を包括するように形成した仮想的な楕円の長軸方向が、当該カラーホイールの円周方向に略平行であることを特徴とするカラーホイール。
【請求項8】
請求項6に記載のカラーホイールであって、
前記2以上の入射光はそれぞれ別の光源から生成されることを特徴とするカラーホイール。
【請求項9】
請求項1に記載のカラーホイールであって、
前記第1のフィルタ群と前記第2のフィルタ群のそれぞれに配列された前記複数の色フィルタのうち、隣接する光透過性が同じ前記色フィルタ同士は、一つの部品からできていることを特徴とするカラーホイール。
【請求項10】
請求項7に記載のカラーホイールであって、
前記カラーホイールを通過させた後に、長辺短辺を有した矩形の光ミキシング素子(ライトトンネル)を設け、該光ミキシング素子の長辺を光源スポット光の配列方向に沿って配置したことを特徴とするカラーホイール。
(【請求項11】以降は省略されています)
発明の詳細な説明
【技術分野】
【0001】
この発明は、カラーホイールと、カラーホイールを搭載した光源装置及び投射装置に関する。
続きを表示(約 2,900 文字)
【背景技術】
【0002】
デジタル・ライト・プロセッシング(Digital Light Processing)方式を使用したプロジェクタでは、円環状に様々な透過率特性を持つ色フィルタを備えるカラーホイールを回転させて、カラーホイールに光を透過させることで赤、青、緑、黄等の各色の光を時分割によって出力する技術が既に用いられている(例えば、特許文献1~4等参照)。
カラーホイールを用いる場合、一般的にはカラーホイールを連続して回転させ、1周で1フレームを生成することとなる。また、カラーホイールの隣接する異なる色フィルタ間に跨って同時に光が入射してしまう期間は、スポークタイムと呼ばれ、複数の色フィルタの色が混ざってしまうために光の色純度が低下し、純粋な色光として扱えなくなってしまう。
スポークタイムの増加は、色純度の低下による発色性能の悪化や、その部分の色光を使えないことによるプロジェクタの明るさの低下等を生じてしまうため、出来る限り抑えることが望ましい。
【0003】
さて、このようなカラーホイールを用いた画像投射装置において、フレームレートの向上や疑似4Kとすることによる画質向上等を目的として、カラーホイールの色フィルタの分割数(セグメント数)を2倍にして、1回転で2フレームを生成する方式が知られている。
しかしながら、カラーホイールのセグメント数が倍に増えれば、単純にスポークタイムもまた倍増してしまう。
【0004】
また、プロジェクタの明るさを確保するために、レーザ光源と蛍光体モジュールを2つ合成して照明光として利用する構成も知られている。このような構成では、カラーホイール上には2つのスポットが並ぶことになるので、さらにスポークタイムが大きくなってしまう懸念もある。
また、従来の一つの光源システムであってもカラーホイール上のスポットの径のサイズが大きくなるような場合、特にスポーク走査方向に延びるスポットとなる場合にもスポークタイムが大きくなってしまう懸念があった。
【発明の概要】
【発明が解決しようとする課題】
【0005】
本発明は、かかる問題点を解決するためのものであり、色フィルタのセグメント数を増大させつつもスポークタイムを低減して色純度を高めるカラーホイールの提供を目的とする。
【課題を解決するための手段】
【0006】
本発明のカラーホイールは、異なる光透過特性を有する複数の色フィルタが配列された第1のフィルタ群と、異なる光透過特性を有する複数の色フィルタが配列された第2のフィルタ群と、を含み、第1のフィルタ群の複数の色フィルタと、第2のフィルタ群の複数の色フィルタとが円周方向に並ぶように第1のフィルタ群と第2のフィルタ群とが配置されたカラーホイールであって、第1のフィルタ群と第2のフィルタ群とは、それぞれに配列された複数の色フィルタのうち、光透過特性が同じもしくは類似する色フィルタ同士が隣接する箇所を少なくとも1か所形成するように配置され、第1のフィルタ群および第2のフィルタ群のそれぞれに配列された複数の色フィルタの、異なる色毎の面積もしくは中心角度を不均等に設定するとともに、第1のフィルタ群を成す複数の色フィルタの各色の面積比もしくは前記中心角度の角度比と、第2のフィルタ群を成す前記複数の色フィルタの各色の面積比もしくは前記中心角度の角度比とが略等しいことを特徴とする。
【発明の効果】
【0007】
本発明によれば、色フィルタのセグメント数を増大させつつもスポークタイムを低減して色純度を高めることができる。
【図面の簡単な説明】
【0008】
本発明の実施形態として画像投射装置の構成の一例を示す図である。
画像投射装置の制御部の構成の一例を示すブロック図である。
本発明の一実施形態を適用可能な光源装置の概略図である。
図3に示した波長変換素子の構成の一例を表す図である。
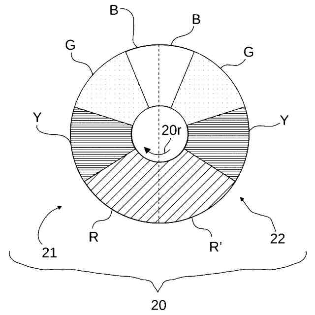
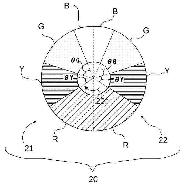
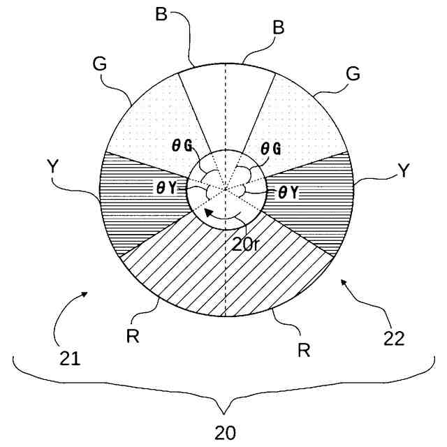
図3に示したカラーホイールのセグメント構成の一例を表す図である。
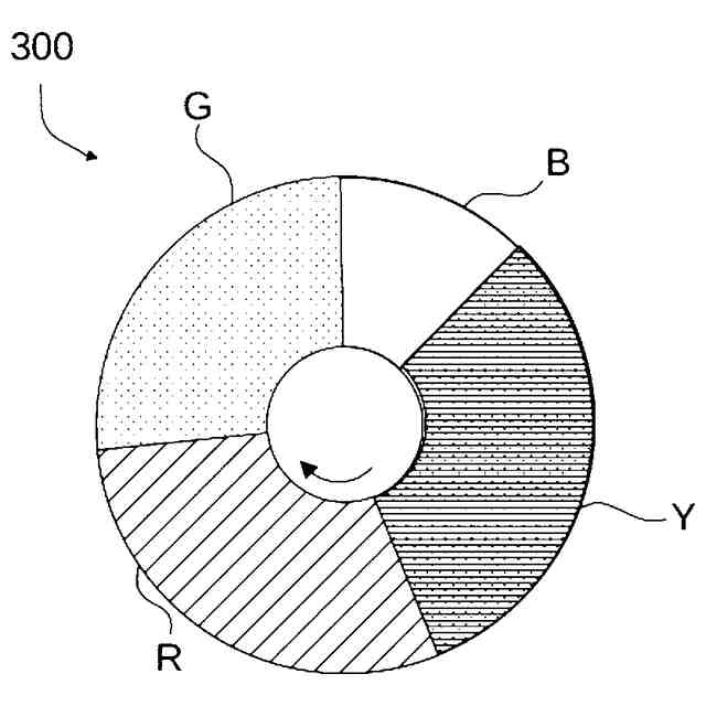
従来のカラーホイールのセグメント構成の比較例を示す図である。
カラーホイールにおけるスポークタイムの概念を示す模式図である。
図5の第1の変形例を示す図である。
図5に示したカラーホイールのセグメントの構成の第2の変形例を示す図である。
図5に示したカラーホイールのセグメントの構成の第3の変形例を示す図である。
図5に示したカラーホイールのセグメントの構成の第4の変形例を示す図である。
光源を2つ備えた光源装置において本発明を適用した構成の一例を示す図である。
図12で示すカラーホイールにおける透過光の一例を示す図である。
カラーホイールの径方向に沿って2つの入射光を配置した例を示す図である。
本発明における透過光の入射位置とそれによる効果を示すための光軸を示した模式図である。
図15の透過光の入射位置とカラーホイールとの位置関係の一例を示した模式図である。
従来のカラーホイールにおける有効期間と中心角度の関係を示す図である。
図17に示した構成を単に8枚に増加させた比較例を示す図である。
本発明のカラーホイールにおけるセグメントの配置の一例を示す図である。
図19に示した構成の回転と有効期間の一例を示す図である。
本発明におけるスポット径の算出方法の一例を示す図である。
スポット径の構成の一例を拡大して表示した図である。
本発明における光強度によるスポット径の形状の算出方法の一例を示す図である。
【発明を実施するための形態】
【0009】
図1は、本発明の第1の実施形態として、光源装置10を備えた画像投射装置100の構成の一例を示す図である。
画像投射装置100は、照明装置となる光源装置10と、光源装置10によって生成される照明光を変調する空間光変調器であるDMD(Digital Micromirror Device)101と、光源装置10から出力された光を略均一に照明してDMD101へと導く照明光学系102と、DMD101によって空間変調された光を投射面104へと拡大して投射する投射光学系103と、を有している。
画像投射装置100は、かかる構成により投射面104に投射画像を生成する。
【0010】
DMD101は、表面に配置された微小鏡面によって入射した光束を反射することで、光源装置10から出射された光束に画像情報を付与する二次元光変調器である。
なお、本実施例では、二次元光変調器としてDMD101を用いたがその他透過型液晶素子や反射型液晶素子等を用いても良い。
(【0011】以降は省略されています)
この特許をJ-PlatPat(特許庁公式サイト)で参照する
関連特許
株式会社リコー
液体吐出装置
11日前
株式会社リコー
画像形成装置
1か月前
株式会社リコー
画像形成装置
25日前
株式会社リコー
画像形成装置
1か月前
株式会社リコー
服薬支援装置
25日前
株式会社リコー
画像形成装置
1か月前
株式会社リコー
外観検査装置
19日前
株式会社リコー
画像形成装置
1か月前
株式会社リコー
画像形成装置
1か月前
株式会社リコー
機器及び異常判定方法
1か月前
株式会社リコー
定着装置及び画像形成装置
11日前
株式会社リコー
画像形成装置及びシステム
1か月前
株式会社リコー
画像形成装置、及び、機器
1か月前
株式会社リコー
定着装置、及び画像形成装置
1か月前
株式会社リコー
光源装置および画像表示装置
5日前
株式会社リコー
光走査装置及び画像形成装置
1か月前
株式会社リコー
延長トレイ及び画像形成装置
1か月前
株式会社リコー
画像読取装置及び画像読取方法
1か月前
株式会社リコー
シート供給装置、画像形成装置
1か月前
株式会社リコー
画像形成装置及び異常判定方法
25日前
株式会社リコー
画像形成装置、及び画像形成方法
19日前
株式会社リコー
画像形成装置および画像形成方法
25日前
株式会社リコー
表示装置、切替方法、プログラム
1か月前
株式会社リコー
樹脂粒子、及び樹脂粒子の製造方法
1か月前
株式会社リコー
媒体処理装置及び画像形成システム
4日前
株式会社リコー
媒体処理装置及び画像形成システム
4日前
株式会社リコー
媒体処理装置及び画像形成システム
1か月前
株式会社リコー
加熱搬送装置、及び、画像形成装置
1か月前
株式会社リコー
加熱装置、定着装置、画像形成装置
1か月前
株式会社リコー
シート給送装置及び画像形成システム
1か月前
株式会社リコー
後処理装置、及び、画像形成システム
12日前
株式会社リコー
通信装置、通信方法、及びプログラム
1か月前
株式会社リコー
加熱装置、定着装置及び画像形成装置
1か月前
株式会社リコー
加熱装置、定着装置及び画像形成装置
19日前
株式会社リコー
読取装置、読取方法およびプログラム
1か月前
株式会社リコー
通信端末、通信方法、及びプログラム
1か月前
続きを見る
他の特許を見る