TOP
|
特許
|
意匠
|
商標
特許ウォッチ
Twitter
他の特許を見る
10個以上の画像は省略されています。
公開番号
2025177461
公報種別
公開特許公報(A)
公開日
2025-12-05
出願番号
2024084314
出願日
2024-05-23
発明の名称
媒体処理装置及び画像形成システム
出願人
株式会社リコー
代理人
弁理士法人武和国際特許事務所
主分類
B65H
37/04 20060101AFI20251128BHJP(運搬;包装;貯蔵;薄板状または線条材料の取扱い)
要約
【課題】シンプルな構成で媒体に付与する液体の状態を検出可能な技術を提供する。
【解決手段】媒体処理装置は、少なくとも1枚の媒体に液体を付与する液体付与手段と、液体付与手段で液体が付与された複数の媒体に後処理を施す後処理手段と、液体付与手段及び後処理手段を媒体の幅方向に移動させる移動機構と、液体付与手段に搭載されて、媒体に付与する液体を貯留する第一貯液部と、第一貯液部に供給される液体を貯留する第二貯液部と、第二貯液部から第一貯液部に液体を供給する液体供給経路と、移動機構を制御する制御部とを備える。制御部は、移動機構の駆動源の負荷が閾値を超えた場合に、移動機構を停止させる。
【選択図】図23
特許請求の範囲
【請求項1】
少なくとも1枚の媒体に液体を付与する液体付与手段と、
前記液体付与手段で液体が付与された複数の前記媒体に後処理を施す後処理手段と、
前記液体付与手段及び前記後処理手段を前記媒体の幅方向に移動させる移動機構と、
前記液体付与手段に搭載されて、前記媒体に付与する液体を貯留する第一貯液部と、
前記第一貯液部に供給される液体を貯留する第二貯液部と、
前記第二貯液部から前記第一貯液部に液体を供給する液体供給経路と、
前記移動機構を制御する制御部と、を備え、
前記制御部は、前記移動機構の駆動源の負荷が閾値を超えた場合に、前記移動機構を停止させることを特徴とする媒体処理装置。
続きを表示(約 820 文字)
【請求項2】
請求項1に記載の媒体処理装置において、
ユーザに情報を報知する報知部を備え、
前記制御部は、前記駆動源の負荷が前記閾値を超えた場合に、前記液体供給経路の凍結を、前記報知部を通じて報知することを特徴とする媒体処理装置。
【請求項3】
請求項2に記載の媒体処理装置において、
ユーザの操作を受け付ける操作部を備え、
前記制御部は、前記媒体処理装置の寒冷地での使用を示すユーザの操作を前記操作部を通じて受け付けた状態で、前記駆動源の負荷が前記閾値を超えた場合に、前記報知部を通じて前記液体供給経路の凍結を報知することを特徴とする媒体処理装置。
【請求項4】
請求項3に記載の媒体処理装置において、
前記制御部は、前記媒体処理装置の寒冷地での使用を示すユーザの操作を前記操作部を通じて受け付けていない状態で、前記駆動源の負荷が前記閾値を超えた場合に、前記報知部を通じて前記媒体処理装置の異常を報知することを特徴とする媒体処理装置。
【請求項5】
請求項1に記載の媒体処理装置において、
前記移動機構は、前記媒体の幅方向に延設されて、前記液体付与手段及び前記後処理手段の移動を案内する案内軸を備え、
前記液体供給経路は、前記案内軸に螺旋状に巻回されて伸縮するコイルチューブであることを特徴とする媒体処理装置。
【請求項6】
請求項1に記載の媒体処理装置において、
前記後処理手段は、複数の前記媒体を加圧変形させて綴じる圧着手段であることを特徴とする媒体処理装置。
【請求項7】
前記媒体に画像を形成する画像形成装置と、
前記画像形成装置によって画像が形成された複数の前記媒体に前記後処理を施す請求項1に記載の媒体処理装置と、を備えることを特徴とする画像形成システム。
発明の詳細な説明
【技術分野】
【0001】
本発明は、媒体処理装置及び画像形成システムに関する。
続きを表示(約 2,800 文字)
【背景技術】
【0002】
従来より、画像形成装置によって画像が形成されたシート状の媒体を束にして綴じる処理を行う媒体処理装置が知られている。なお、シート状の媒体の例として用紙が広く知られているので、本明細書では、シート状の媒体の束に関しては複数の用紙を積層した「用紙束」を例に用いることとする。また、媒体処理装置には、省資源化や環境負荷の低減を鑑みる観点から、金属製の綴じ針を用いずに、凹凸状の綴じ歯で用紙束を挟持して加圧変形させる所謂「圧着綴じ」が可能な圧着手段を備えるものがある。
【0003】
圧着綴じには、用紙束を構成する用紙の枚数が多いほど用紙束に綴じ歯が食い込みにくくなって、綴じた用紙が剥がれ落ちるなど、綴じ状態を適切に維持することが困難になるという課題がある。そこで、圧着綴じを行う媒体処理装置には、綴じ強度を上げる目的で、用紙上において綴じ歯が接触する位置に予め液体を付与して、綴じ歯が用紙束に食い込み易くするための液体付与手段を備えるものがある(例えば、特許文献1を参照)。
【発明の概要】
【発明が解決しようとする課題】
【0004】
例えば、上記構成の媒体処理装置を寒冷地で使用する場合において、液体付与手段に供給する液体の凍結による不具合を回避するために、サーミスタを搭載して液体の状態を検出するか、ヒータ等で液体を加温するなどが考えられる。しかしながら、このような方法では、部品点数の増加に伴う媒体処理装置の大型化及び高コスト化の課題がある。
【0005】
本発明は、媒体に液体を付与してから後処理を施す媒体処理装置において、シンプルな構成で媒体に付与する液体の状態を検出可能な技術を提供することを目的とする。
【課題を解決するための手段】
【0006】
上記課題を解決するために、本発明の一態様は、少なくとも1枚の媒体に液体を付与する液体付与手段と、前記液体付与手段で液体が付与された複数の前記媒体に後処理を施す後処理手段と、前記液体付与手段及び前記後処理手段を前記媒体の幅方向に移動させる移動機構と、前記液体付与手段に搭載されて、前記媒体に付与する液体を貯留する第一貯液部と、前記第一貯液部に供給される液体を貯留する第二貯液部と、前記第二貯液部から前記第一貯液部に液体を供給する液体供給経路と、前記移動機構を制御する制御部と、を備え、前記制御部は、前記移動機構の駆動源の負荷が閾値を超えた場合に、前記移動機構を停止させることを特徴とする。
【発明の効果】
【0007】
本発明によれば、媒体に液体を付与してから後処理を施す媒体処理装置において、シンプルな構成で媒体に付与する液体の状態を検出することができる。
【図面の簡単な説明】
【0008】
画像形成システムの全体構成を示す図。
第一実施形態に係る後処理装置の内部構造を示す図。
端綴じ処理部を搬送方向の上流側から見た模式図。
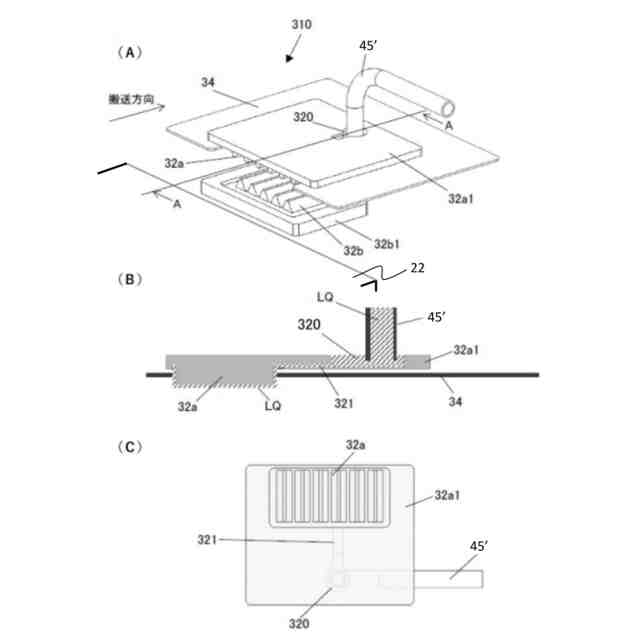
端綴じ処理部を主走査方向の液体付与部側から見た模式図。
端綴じ処理部の圧着部の構成を示す模式図。
端綴じ処理部の変形例を示す図。
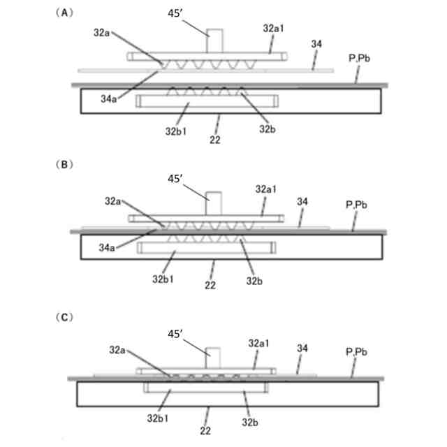
端綴じ処理部の変形例に係る液体付与圧着部を示す図。
図7の液体付与圧着部による液体付与動作及び圧着綴じ動作を示す図。
針綴じ処理部を搬送方向の上流側から見た模式図。
針綴じ処理部の変形例を搬送方向の上流側から見た模式図。
第一実施形態に係る後処理装置を制御する制御ブロックのハードウェア構成図。
端綴じ処理部による綴じ処理のフローチャート。
端綴じ処理部による綴じ処理中における液体付与部及び圧着部の位置を示す図。
後処理装置における第二貯液部の配置及び構成を示す図。
後処理装置における第二貯液部の着脱構成を示す図。
本実施形態に係る液体付与部の動作の例を説明する図。
本実施形態に係る液体付与部の動作の例を説明する拡大図。
本実施形態に係る液体付与部の動作の例を説明する図。
本実施形態に係る液体付与部の動作の例を説明する図。
本実施形態に係る液体付与部の動作の例を説明する図。
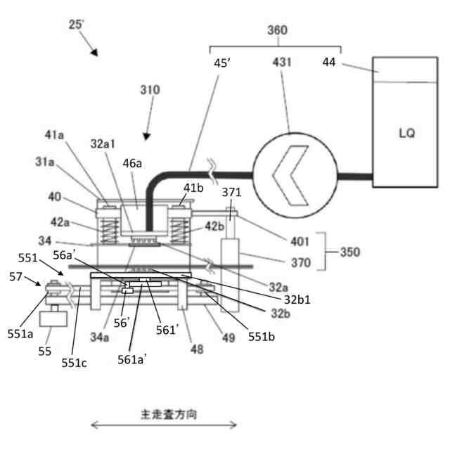
端綴じ処理部及びコイルチューブの斜視図。
寒冷地設定画面(A)、凍結報知画面(B)、JAM報知画面(C)の外面例。
端綴じ処理部移動処理のフローチャート。
端綴じ処理部移動処理における端綴じ処理部移動モータの負荷(駆動電流の大きさ)の時間変化の例を示すグラフ。
第二実施形態に係る後処理装置3Aの内部構造を示す図。
第二実施形態に係る内部トレイを用紙の厚み方向から見た図。
第二実施形態に係る圧着部を搬送方向の下流側から見た模式図。
第二実施形態に係る液体付与部を用紙の厚み方向から見た図。
図28のXXV-XXVにおける断面図。
図28のXXVI-XXVIにおける断面図。
第二実施形態に係る後処理装置の制御ブロックのハードウェア構成図。
第二実施形態に係る後処理装置の後処理フローチャート。
画像形成システムの変形例の全体構成を示す図。
後処理装置の制御部の変形例1を示す図。
後処理装置の制御部の変形例2を示す図。
【発明を実施するための形態】
【0009】
[画像形成システム1の実施形態]
以下、本発明に係る画像形成システム1について、図面を参照しながら説明する。図1は、画像形成システム1の全体構成を示す図である。画像形成システム1は、シート状の媒体の一種としての用紙Pに画像を形成する画像形成機能、画像が形成された用紙Pに対して所定の後処理を施す後処理機能、などを備える。図1に示すように、画像形成システム1は、画像形成機能を有する画像形成装置2と、本発明に係る後処理機能を有する媒体処理装置としての後処理装置3と、を連携して動作するように構成されている。
【0010】
なお、本実施形態では、画像形成システム1において処理の対象とするシート状の媒体として「紙」を前提にする説明をしている。しかし、本実施形態に係る処理の対象は、紙に限定されるものではない。例えば、従来から知られている画像形成プロセスを利用して画像形成が可能な媒体であれば、その種類などは問わない。また、折り処理や綴じ処理の対象物となりうる媒体も、これに含むものとし、素材や仕様などを限定するものではない。
(【0011】以降は省略されています)
この特許をJ-PlatPat(特許庁公式サイト)で参照する
関連特許
株式会社リコー
液体吐出装置
8日前
株式会社リコー
服薬支援装置
22日前
株式会社リコー
外観検査装置
16日前
株式会社リコー
画像形成装置
22日前
株式会社リコー
定着装置及び画像形成装置
8日前
株式会社リコー
光走査装置及び画像形成装置
29日前
株式会社リコー
光源装置および画像表示装置
2日前
株式会社リコー
画像形成装置及び異常判定方法
22日前
株式会社リコー
画像形成装置および画像形成方法
22日前
株式会社リコー
画像形成装置、及び画像形成方法
16日前
株式会社リコー
媒体処理装置及び画像形成システム
1日前
株式会社リコー
媒体処理装置及び画像形成システム
1日前
株式会社リコー
加熱装置、定着装置及び画像形成装置
16日前
株式会社リコー
後処理装置、及び、画像形成システム
9日前
株式会社リコー
樹脂粒子、トナー、及び、画像形成装置
29日前
株式会社リコー
外観検査方法、および外観検査システム
8日前
株式会社リコー
画像形成装置、画像形成方法及びプログラム
10日前
株式会社リコー
画像形成装置、画像形成方法及びプログラム
10日前
株式会社リコー
プリンタシステムのための自動制御システム
1日前
株式会社リコー
情報処理装置、情報処理方法およびプログラム
17日前
株式会社リコー
画像形成装置、画像形成方法およびプログラム
22日前
株式会社リコー
振動検出装置、バイタルセンサ、配管検査装置
3日前
株式会社リコー
画像処理装置、画像処理方法およびプログラム
24日前
株式会社リコー
表示装置、表示方法、プログラム、表示システム
24日前
株式会社リコー
表示装置、表示方法、プログラム、表示システム
16日前
株式会社リコー
穿孔装置、後処理装置、及び、画像形成システム
2日前
株式会社リコー
媒体処理装置、画像形成装置、画像形成システム
1日前
株式会社リコー
画像読取装置、画像形成装置、および画像読取方法
8日前
株式会社リコー
シート収容装置、シート給送装置及び画像形成装置
22日前
株式会社リコー
先塗液の塗布状態の異常検出方法および液体吐出装置
8日前
株式会社リコー
シート処理装置、シート処理方法及び画像形成システム
29日前
株式会社リコー
粒子、試薬、医薬組成物、粉末吸入剤及び粒子の製造方法
9日前
株式会社リコー
画像形成装置、交換部品、情報処理方法、及びプログラム
3日前
株式会社リコー
情報処理システム、情報処理装置、方法およびプログラム
16日前
株式会社リコー
筆記装置、表示装置、および、コミュニケーションシステム
16日前
株式会社リコー
機器システム、制御方法、情報処理装置、プログラム、機器
16日前
続きを見る
他の特許を見る