TOP
|
特許
|
意匠
|
商標
特許ウォッチ
Twitter
他の特許を見る
10個以上の画像は省略されています。
公開番号
2025169692
公報種別
公開特許公報(A)
公開日
2025-11-14
出願番号
2024074663
出願日
2024-05-02
発明の名称
シート収容装置、シート給送装置及び画像形成装置
出願人
株式会社リコー
代理人
個人
主分類
B65H
1/24 20060101AFI20251107BHJP(運搬;包装;貯蔵;薄板状または線条材料の取扱い)
要約
【課題】規制部材の位置変化に連動して底板部材を給送部材に向けて付勢する付勢力を切り替える構成の小型化を図る。
【解決手段】底板部材110上のシートを給送する給送部材41に向けて底板部材を付勢する主付勢手段111と、給送部材に向けて底板部材を付勢する補助付勢手段121と、底板部材上のシートのシート幅方向位置を規制するシート幅方向位置規制部材104と、を有するシート収容装置100であって、補助付勢手段の付勢部と底板部材の被付勢部との間に配置され、補助付勢手段が底板部材を付勢する際に付勢部と被付勢部との間に挟み込まれる挟込部材122と、規制部材の位置変化に連動して、付勢部が挟込部材を介して被付勢部を付勢可能な付勢可能状態と付勢部が挟込部材を介して被付勢部を付勢する付勢力を付勢可能状態よりも抑制する付勢抑制状態とに、挟込部材の状態を切り替える切替手段123とを有する。
【選択図】図5
特許請求の範囲
【請求項1】
シートが積載される底板部材と、
前記底板部材に積載されたシートを給送する給送部材に向けて前記底板部材を付勢する主付勢手段と、
前記給送部材に向けて前記底板部材を付勢する補助付勢手段と、
前記底板部材に積載されたシートのシート給送方向に対して直交するシート幅方向の位置を規制するシート幅方向位置規制部材、及び、前記底板部材に積載されたシートのシート給送方向の位置を規制するシート給送方向位置規制部材のうちの少なくとも一方の規制部材と、を有するシート収容装置であって、
前記補助付勢手段の付勢部と該付勢部によって付勢される前記底板部材の被付勢部との間に配置され、前記補助付勢手段が前記給送部材に向けて前記底板部材を付勢する際に前記付勢部と前記被付勢部との間に挟み込まれる挟込部材と、
前記規制部材の位置変化に連動して、前記付勢部が前記挟込部材を介して前記被付勢部を付勢可能な付勢可能状態と前記付勢部が前記挟込部材を介して前記被付勢部を付勢する付勢力を前記付勢可能状態よりも抑制する付勢抑制状態とに、前記挟込部材の状態を切り替える切替手段とを有することを特徴とするシート収容装置。
続きを表示(約 1,400 文字)
【請求項2】
請求項1に記載のシート収容装置において、
前記挟込部材は、前記補助付勢手段の付勢部の付勢方向へ変位が可能な構成であり、
前記切替手段は、前記挟込部材を上記変位が可能な状態にすることで前記付勢可能状態に切り替えるとともに、前記挟込部材の上記変位が抑制された状態にすることで前記付勢抑制状態に切り替えることを特徴とするシート収容装置。
【請求項3】
請求項2に記載のシート収容装置において、
前記切替手段は、前記挟込部材に接触することで該挟込部材の上記変位を抑制する変位抑制部材を備えるとともに、該変位抑制部材が前記挟込部材の上記変位を抑制する抑制位置と、該変位抑制部材が前記挟込部材の上記変位を抑制しない非抑制位置とに、該変位抑制部材を前記規制部材の位置変化に連動して移動させる移動機構を備えることを特徴とするシート収容装置。
【請求項4】
請求項2に記載のシート収容装置において、
前記切替手段は、前記挟込部材に接触することで該挟込部材の上記変位を抑制する変位抑制部材を備え、
前記変位抑制部材は前記規制部材と一体的に移動することを特徴とするシート収容装置。
【請求項5】
請求項3に記載のシート収容装置において、
前記移動機構は、前記規制部材の位置変化に連動して移動する第一ギヤ部材と、該第一ギヤ部材に噛み合って回転する第二ギヤ部材とを備え、該第二ギヤ部材の回転により前記変位抑制部材を前記非抑制位置と前記抑制位置とに移動させることを特徴とするシート収容装置。
【請求項6】
請求項5に記載のシート収容装置において、
前記第一ギヤ部材は、前記規制部材の位置変化に連動して直線移動し、該直線移動方向の一部の箇所のみに前記第二ギヤ部材と噛み合うギヤ部を備えており、
前記ギヤ部は、前記規制部材が特定位置を通過するときだけ前記第二ギヤ部材と噛み合う箇所に配置されていることを特徴とするシート収容装置。
【請求項7】
請求項5に記載のシート収容装置において、
前記第二ギヤ部材は、該第二ギヤ部材の回転方向における一部の箇所のみに前記変位抑制部材に設けられたギヤと噛み合うギヤ部を備えており、
前記ギヤ部は、前記規制部材が特定位置を通過するときだけ前記変位抑制部材に設けられたギヤと噛み合う箇所に配置されていることを特徴とするシート収容装置。
【請求項8】
請求項5に記載のシート収容装置において、
前記変位抑制部材は、前記第二ギヤ部材の回転によりシート給送方向に沿って直線移動することを特徴とするシート収容装置。
【請求項9】
請求項5に記載のシート収容装置において、
前記変位抑制部材は、前記第二ギヤ部材と一体回転することを特徴とするシート収容装置。
【請求項10】
請求項4に記載のシート収容装置において、
前記切替手段が連動する規制部材は、前記底板部材に積載されたシートのシート幅方向両側の各位置を規制する2つのシート幅方向位置規制部材を含み、
前記補助付勢手段、前記挟込部材及び前記切替手段は、前記2つのシート幅方向位置規制部材のそれぞれに対応して設けられていることを特徴とするシート収容装置。
(【請求項11】以降は省略されています)
発明の詳細な説明
【技術分野】
【0001】
本発明は、シート収容装置、シート給送装置及び画像形成装置に関するものである。
続きを表示(約 2,500 文字)
【背景技術】
【0002】
従来、シートが積載される底板部材と、前記底板部材に積載されたシートを給送する給送部材に向けて前記底板部材を付勢する主付勢手段と、前記給送部材に向けて前記底板部材を付勢する補助付勢手段と、を有するシート収容装置が知られている。
【0003】
例えば、特許文献1には、2つの押し上げばね(主付勢手段と補助付勢手段)の付勢力で回転する押し上げレバーが押上板(底板部材)の下面を上方へ押し上げ、押上板上に積載されたシートが給送ローラ(給送部材)に接触するシート収容装置が開示されている。このシート収容装置には、押上板に積載されたシートのシート幅方向位置を規制する幅規制部材(シート幅方向位置規制部材)が設けられている。このシート収容装置では、シートサイズの大小による給送ローラとシートとの接触圧の差を小さくするために、幅規制部材の変位に連動して押上板を押し上げる付勢力を変更する構成が採用されている。
【0004】
詳しくは、押し上げレバーの回転軸上には、前記2つの押し上げばねのそれぞれの付勢力によって回転する2つの回転レバーが設けられており、第一押し上げばねに対応する第一回動レバーは押し上げレバーの回転軸と常に一体的に回転する。一方、第二押し上げばねに対応する第二回動レバーは、押し上げレバーの回転軸と係合する係合状態と係合しない非係合状態とに切替可能な構成となっている。大サイズシートに対応する位置に幅規制部材が変位した場合、第二回動レバーは押し上げレバーの回転軸と係合状態になり、2つの押し上げばねの付勢力が2つの回動レバーを介して押し上げレバーに付与され、押上板を上方へ押し上げる。小サイズシートに対応する位置に幅規制部材が変位した場合、第二回動レバーは押し上げレバーの回転軸と非係合状態になり、第一押し上げばねの付勢力のみが第一回動レバーを介して押し上げレバーに付与され、押上板を上方へ押し上げる。
【発明の概要】
【発明が解決しようとする課題】
【0005】
ところが、従来のシート収容装置は、底板部材に積載されたシートの位置を規制する規制部材の位置変化に連動して底板部材を給送部材に向けて付勢する付勢力を切り替える構成が大型であり、装置の大型化を招くという課題があった。
【課題を解決するための手段】
【0006】
上述した課題を解決するために、本発明は、シートが積載される底板部材と、前記底板部材に積載されたシートを給送する給送部材に向けて前記底板部材を付勢する主付勢手段と、前記給送部材に向けて前記底板部材を付勢する補助付勢手段と、前記底板部材に積載されたシートのシート給送方向に対して直交するシート幅方向の位置を規制するシート幅方向位置規制部材、及び、前記底板部材に積載されたシートのシート給送方向の位置を規制するシート給送方向位置規制部材のうちの少なくとも一方の規制部材と、を有するシート収容装置であって、前記補助付勢手段の付勢部と該付勢部によって付勢される前記底板部材の被付勢部との間に配置され、前記補助付勢手段が前記給送部材に向けて前記底板部材を付勢する際に前記付勢部と前記被付勢部との間に挟み込まれる挟込部材と、前記規制部材の位置変化に連動して、前記付勢部が前記挟込部材を介して前記被付勢部を付勢可能な付勢可能状態と前記付勢部が前記挟込部材を介して前記被付勢部を付勢する付勢力を前記付勢可能状態よりも抑制する付勢抑制状態とに、前記挟込部材の状態を切り替える切替手段とを有することを特徴とする。
【発明の効果】
【0007】
本発明によれば、規制部材の位置変化に連動して底板部材を給送部材に向けて付勢する付勢力を切り替える構成を備えるシート収容装置の小型化を図ることができる。
【図面の簡単な説明】
【0008】
実施形態1に係るプリンタを示す概略模式図。
同プリンタにおける感光体とその周囲の構成を拡大して示す拡大模式図。
同プリンタにおける給紙カセットを示す斜視図。
同給紙カセットにおける底板ロック部材を示す拡大斜視図。
(a)は、加圧レバー押え部材が非抑制位置をとるときの給紙カセットの平面図。(b)は、加圧レバー押え部材が抑制位置をとるときの給紙カセットの平面図。
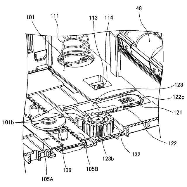
同給紙カセットにおける補助スプリング及び加圧レバーの構成を示す拡大斜視図。
補助スプリングの付勢力により加圧レバーを介して底板が押し上げている状態を示す説明図。
補助スプリングの付勢力により付勢される加圧レバーを示す断面図。
加圧レバー押え部材が抑制位置をとる状態を示す説明図。
実施形態1における切替手段の他の例を示す説明図。
変形例1における給紙カセットの平面図。
変形例2における給紙カセットを模式的に示す平面図。
実施形態2における給紙カセットを模式的に示す平面図。
実施形態2における切替手段の他の例を示す説明図。
【発明を実施するための形態】
【0009】
〔実施形態1〕
以下、本発明を適用した画像形成装置として、電子写真方式で画像を形成する電子写真プリンタ(以下、単にプリンタという)を例に挙げた実施形態(以下、本実施形態を「実施形態1」という。)説明する。
【0010】
まず、実施形態1に係るプリンタの基本的な構成について説明する。
図1は、実施形態1に係るプリンタを示す概略模式図である。
同図において、本プリンタは、潜像担持体としての感光体1や、本体筐体50に対して着脱可能に構成されたシート収容装置としての給紙カセット100などを備えている。給紙カセット100の内部には、複数の記録シートSをシート束の状態で収容している。
(【0011】以降は省略されています)
この特許をJ-PlatPat(特許庁公式サイト)で参照する
関連特許
株式会社リコー
液体吐出装置
9日前
株式会社リコー
外観検査装置
17日前
株式会社リコー
定着装置及び画像形成装置
9日前
株式会社リコー
光源装置および画像表示装置
3日前
株式会社リコー
画像形成装置、及び画像形成方法
17日前
株式会社リコー
媒体処理装置及び画像形成システム
2日前
株式会社リコー
媒体処理装置及び画像形成システム
2日前
株式会社リコー
加熱装置、定着装置及び画像形成装置
17日前
株式会社リコー
後処理装置、及び、画像形成システム
10日前
株式会社リコー
外観検査方法、および外観検査システム
9日前
株式会社リコー
画像形成装置、画像形成方法及びプログラム
11日前
株式会社リコー
プリンタシステムのための自動制御システム
2日前
株式会社リコー
画像形成装置、画像形成方法及びプログラム
11日前
株式会社リコー
振動検出装置、バイタルセンサ、配管検査装置
4日前
株式会社リコー
情報処理装置、情報処理方法およびプログラム
18日前
株式会社リコー
穿孔装置、後処理装置、及び、画像形成システム
3日前
株式会社リコー
表示装置、表示方法、プログラム、表示システム
17日前
株式会社リコー
媒体処理装置、画像形成装置、画像形成システム
2日前
株式会社リコー
画像読取装置、画像形成装置、および画像読取方法
9日前
株式会社リコー
先塗液の塗布状態の異常検出方法および液体吐出装置
9日前
株式会社リコー
粒子、試薬、医薬組成物、粉末吸入剤及び粒子の製造方法
10日前
株式会社リコー
情報処理システム、情報処理装置、方法およびプログラム
17日前
株式会社リコー
画像形成装置、交換部品、情報処理方法、及びプログラム
4日前
株式会社リコー
筆記装置、表示装置、および、コミュニケーションシステム
17日前
株式会社リコー
機器システム、制御方法、情報処理装置、プログラム、機器
17日前
株式会社リコー
情報伝達システム、情報処理装置、情報伝達方法及びプログラム
2日前
株式会社リコー
導電膜製造方法、焼結装置、電磁波シールド層及び電極パターン
17日前
株式会社リコー
情報処理システム、情報処理装置、情報処理方法、及びプログラム
9日前
株式会社リコー
画像形成装置、画像形成方法、画像形成システムおよびプログラム
11日前
株式会社リコー
液体吐出システム、液体吐出装置、液体吐出方法およびプログラム
17日前
株式会社リコー
情報共有システム、情報共有方法、サーバー装置、プログラム、機器
17日前
株式会社リコー
情報処理装置、情報処理方法、プログラム、および情報処理システム
9日前
株式会社リコー
画像形成装置、画像形成装置の制御方法及び画像形成装置の制御プログラム
17日前
株式会社リコー
画像形成装置、画像形成装置の制御方法及び画像形成装置の制御プログラム
4日前
株式会社リコー
情報処理装置、プログラム、データ処理方法、データ出力システム、サーバー装置
11日前
株式会社リコー
通信端末、通信システム、通信方法およびプログラム
17日前
続きを見る
他の特許を見る