TOP
|
特許
|
意匠
|
商標
特許ウォッチ
Twitter
他の特許を見る
10個以上の画像は省略されています。
公開番号
2025145381
公報種別
公開特許公報(A)
公開日
2025-10-03
出願番号
2024045527
出願日
2024-03-21
発明の名称
媒体処理装置及び画像形成システム
出願人
株式会社リコー
代理人
弁理士法人武和国際特許事務所
主分類
B65H
37/04 20060101AFI20250926BHJP(運搬;包装;貯蔵;薄板状または線条材料の取扱い)
要約
【課題】液体付与によって媒体が吸収する液体量に応じて液体付与量を調整する媒体処理装置を提供する。
【解決手段】少なくとも一枚の媒体の一部に液体付与をする液体付与手段と、液体付与手段において液体付与をされた少なくとも一枚の媒体を含む媒体束に処理を施す媒体処理手段と、液体付与手段及び媒体処理手段の動作を制御する制御手段と、を備え、液体付与手段は、媒体に接触して液体を付与する液体付与部材と、液体付与部材を、媒体に接触する液体付与位置と液体付与位置から離間した離間位置との間で移動させて媒体に押圧させる押圧手段と、液体付与により媒体に付与された液体量を検知する液体付与量検知手段と、を含み、制御手段は、押圧手段による液体付与部材の移動量と媒体への接触時間とを設定する液体付与制御モードを少なくとも液体量に応じて変更する媒体処理装置による。
【選択図】図28
特許請求の範囲
【請求項1】
少なくとも一枚の媒体の一部に液体付与をする液体付与手段と、
前記液体付与手段において液体付与をされた少なくとも一枚の前記媒体を含む媒体束に処理を施す媒体処理手段と、
前記液体付与手段及び前記媒体処理手段の動作を制御する制御手段と、
を備え、
前記液体付与手段は、
前記媒体に接触して液体を付与する液体付与部材と、
前記液体付与部材を、前記媒体に接触する液体付与位置と当該液体付与位置から離間した離間位置との間で移動させて前記媒体に押圧させる押圧手段と、
前記液体付与により前記媒体に付与された液体量を検知する液体付与量検知手段と、を含み、
前記制御手段は、前記押圧手段による前記液体付与部材の移動量と前記媒体への接触時間とを設定する液体付与制御モードを、少なくとも前記液体量に応じて変更する、
ことを特徴とする媒体処理装置。
続きを表示(約 940 文字)
【請求項2】
前記制御手段は、
前記液体量と、前記媒体に対して前記媒体処理手段における処理の前に施された処理によって変化した当該媒体の温度と、当該媒体の温度変化をもたらした位置から前記媒体処理手段までの、当該媒体の搬送距離と、に基づいて、
前記液体付与制御モードを変更する、
請求項1に記載の媒体処理装置。
【請求項3】
前記制御手段は、前記媒体束を形成する一枚目の前記媒体の、前記温度と前記搬送距離とに基づいて当該一枚目の媒体に対する前記移動量と前記接触時間とを設定して前記液体付与をし、
当該一枚目の媒体の液体量に基づいて、前記液体付与制御モードを変更する、
請求項2に記載の媒体処理装置。
【請求項4】
前記制御手段は、
前記媒体束を構成する一枚目の前記媒体における前記温度に対し、二枚目以降の前記媒体の前記温度が所定値以下である場合、当該温度が所定値以下となった当該媒体の前記液体付与制御モードを、当該温度と前記搬送距離とに基づいて変更する、
請求項2又は3に記載の媒体処理装置。
【請求項5】
前記液体付与量検知手段は、前記媒体束を構成する前記媒体のうち、一枚目の媒体を前記液体量の検知対象とする、
請求項1に記載の媒体処理装置。
【請求項6】
前記液体付与量検知手段は、前記媒体束を構成する媒体の全てを前記液体量の検知対象とする、
請求項1に記載の媒体処理装置。
【請求項7】
前記制御手段は、
前記液体量が所定値以上であるとき、前記液体付与をしないように前記液体付与手段を制御する、
請求項1に記載の媒体処理装置。
【請求項8】
前記処理は、前記媒体束の一部を加圧変形させて綴る圧着綴じである、
請求項1に記載の媒体処理装置。
【請求項9】
前記媒体に画像を形成する画像形成装置と、
前記画像形成装置によって画像が形成された複数の前記媒体に対し前記処理を施す請求項1に記載の媒体処理装置と、
を備えることを特徴とする画像形成システム。
発明の詳細な説明
【技術分野】
【0001】
本発明は、媒体処理装置及び画像形成システムに関する。
続きを表示(約 2,900 文字)
【背景技術】
【0002】
シート状の媒体を積み重ねたシート束を綴る媒体処理装置が知られている。当該媒体処理装置に適用される綴じ処理として、シート束に貫通させる針状の部材(綴じ部材)を用いて綴る「針綴じ処理」や、シート束の一部を加圧変形させて綴る「圧着綴じ処理」などが知られている。
【0003】
媒体処理装置において、液体付与量を調整する目的で、綴じ強度に影響を与える要因となる環境条件(前処理や周囲の温度・搬送距離)によって付与量を最適にする内容が開示されている(例えば、特許文献1を参照)。
【発明の概要】
【発明が解決しようとする課題】
【0004】
特許文献1には、環境条件に基づいて液体付与において媒体に付与させる液体量を調整するが、媒体の種類が同じであっても、製造時期、製造ロット、製造後の保管環境により、付与された液体を保持可能な量は異なるものとなる。この点、特許文献1のように環境条件に基づく調整によって、液体付与量を調整するだけでは、綴じ処理の品質への影響を抑制する点において課題がある。
【0005】
本発明は、液体付与によって媒体が吸収する液体量に応じて液体付与量を調整する媒体処理装置を提供することを目的とする。
【課題を解決するための手段】
【0006】
上記課題を解決するために、本発明の一態様は、媒体処理装置に関し、少なくとも一枚の媒体の一部に液体付与をする液体付与手段と、前記液体付与手段において液体付与をされた少なくとも一枚の前記媒体を含む媒体束に処理を施す媒体処理手段と、前記液体付与手段及び前記媒体処理手段の動作を制御する制御手段と、を備え、前記液体付与手段は、前記媒体に接触して液体を付与する液体付与部材と、前記液体付与部材を、前記媒体に接触する液体付与位置と当該液体付与位置から離間した離間位置との間で移動させて前記媒体に押圧させる押圧手段と、前記液体付与により前記媒体に付与された液体量を検知する液体付与量検知手段と、を含み、前記制御手段は、前記押圧手段による前記液体付与部材の移動量と前記媒体への接触時間とを設定する液体付与制御モードを、少なくとも前記液体量に応じて変更する、ことを特徴とする。
【発明の効果】
【0007】
本発明によれば、液体付与によって媒体が吸収する液体量に応じて液体付与量を調整することができる。
【図面の簡単な説明】
【0008】
画像形成システムの全体構成を示す図。
第一実施形態に係る後処理装置の内部構造を示す図。
端綴じ処理部を搬送方向の上流側から見た模式図。
端綴じ処理部を主走査方向の液体付与手段側から見た模式図。
端綴じ処理部の圧着手段の構成を示す模式図。
端綴じ処理部の変形例を示す図。
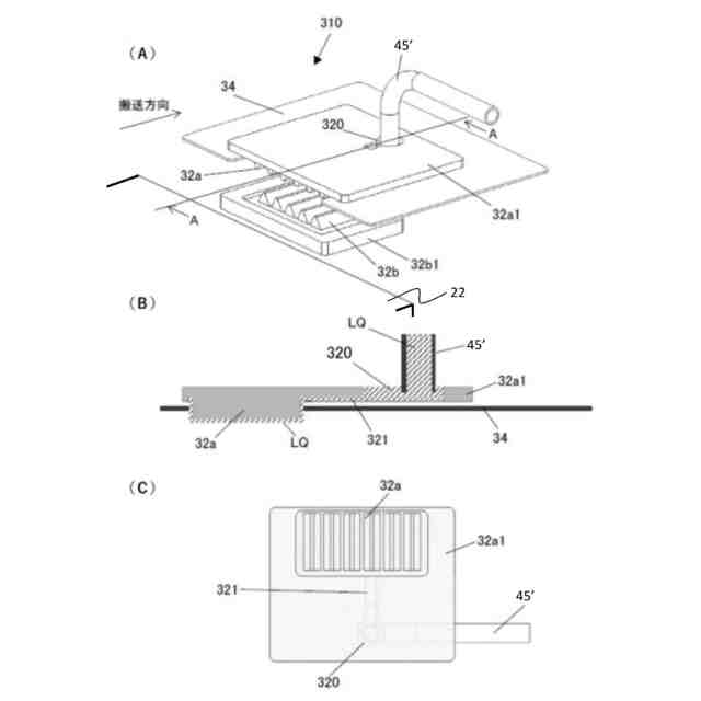
端綴じ処理部の変形例に係る液体付与圧着部を示す図。
図7の液体付与圧着部による液体付与動作及び圧着綴じ動作を示す図。
針綴じ処理部を搬送方向の上流側から見た模式図。
針綴じ処理部の変形例を搬送方向の上流側から見た模式図。
後処理装置における第二貯液タンクの配置及び構成を示す図。
後処理装置における第二貯液タンクの着脱構成を示す図。
第一実施形態に係る後処理装置を制御する制御ブロックのハードウェア構成図。
端綴じ処理部による綴じ処理のフローチャート。
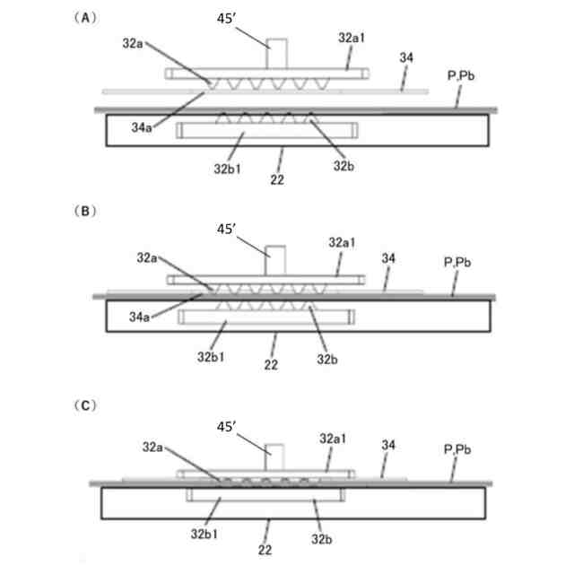
1箇所綴じの実行中における端綴じ処理部の位置を示す図。
2箇所綴じの実行中における端綴じ処理部の位置を示す図。
媒体処理装置に搬送されるまでの搬送時間と上流側で加熱された用紙温度の変化の相関を例示するグラフ。
画像形成システムの例に中継周辺機を明示した全体構成図。
画像形成システムの構成による搬送距離の例を示す図。
画像形成システムの別例に対し中継周辺機を明示した全体構成図。
画像形成システムの構成による搬送距離の別例を示す図。
画像形成プロセスの定着温度と搬送距離に基づく液体付与パターンの種類の例を示す図。
画像形成プロセスの定着温度と搬送距離に基づき選択される液体付与パターン例を示す図。
画像形成プロセスの定着温度と搬送距離に基づき選択される液体付与パターン例を示す図。
画像形成プロセスの定着温度と搬送距離に基づき選択される液体付与パターン例を示す図。
液体付与パターンに基づく押し込み量と液体付与時間の設定値例を示す図。
端綴じ処理部の別例を主走査方向の液体付与手段側から見た模式図。
液体付与制御処理の例を示すフローチャート。
液体付与制御パターンに基づく押し込み量と液体付与時間の調整値例を示す図。
液体付与制御処理の別例を示すフローチャート。
液体付与制御処理の別例を示すフローチャート。
液体付与制御処理の別例を示すフローチャート。
第二実施形態に係る後処理装置の内部構造を示す図。
第二実施形態に係る内部トレイを用紙の厚み方向から見た図。
第二実施形態に係る圧着手段を搬送方向の下流側から見た模式図。
第二実施形態に係る液体付与手段を用紙の厚み方向から見た図。
図36のXXV-XXVにおける断面図。
図36のXXVI-XXVIにおける断面図。
第二実施形態に係る後処理装置の制御ブロックのハードウェア構成図。
第二実施形態に係る後処理装置の後処理フローチャート。
画像形成システムの変形例の全体構成を示す図。
後処理装置の制御部の変形例1を示す図。
後処理装置の制御部の変形例2を示す図。
【発明を実施するための形態】
【0009】
[画像形成システム1の実施形態]
以下、本発明に係る画像形成システム1について、図面を参照しながら説明する。図1は、画像形成システム1の全体構成を示す図である。画像形成システム1は、シート状の媒体の一種としての用紙Pに画像を形成する画像形成機能、画像が形成された用紙Pに対して所定の後処理を施す後処理機能、などを有する。図1に示すように、画像形成システム1は、画像形成機能を有する画像形成装置2と、本発明に係る後処理機能を有する媒体処理装置としての後処理装置3と、を連携して動作するように構成されている。
【0010】
なお、本実施形態では、画像形成システム1において処理の対象とするシート状の媒体 として「紙」を前提にする説明をしている。しかし、本実施形態に係る処理の対象は、紙に限定されるものではない。例えば、従来から知られている画像形成プロセスを利用して画像形成が可能な媒体であれば、その種類などは問わない。また、折り処理や綴じ処理の対象物となりうる媒体も、これに含むものとし、素材や仕様などを限定するものではない。
(【0011】以降は省略されています)
この特許をJ-PlatPat(特許庁公式サイト)で参照する
関連特許
株式会社リコー
画像形成装置
今日
株式会社リコー
画像形成装置
5日前
株式会社リコー
機器及び異常判定方法
5日前
株式会社リコー
画像形成装置及びシステム
3日前
株式会社リコー
延長トレイ及び画像形成装置
今日
株式会社リコー
定着装置、及び画像形成装置
5日前
株式会社リコー
表示装置、切替方法、プログラム
10日前
株式会社リコー
媒体処理装置及び画像形成システム
今日
株式会社リコー
通信装置、通信方法、及びプログラム
3日前
株式会社リコー
通信端末、通信方法、及びプログラム
3日前
株式会社リコー
読取装置、読取方法およびプログラム
今日
株式会社リコー
シート給送装置及び画像形成システム
6日前
株式会社リコー
加熱装置、定着装置及び画像形成装置
4日前
株式会社リコー
光源装置、画像投影装置および調整方法
10日前
株式会社リコー
通信装置、状態制御方法、及びプログラム
6日前
株式会社リコー
ノード、データ共有方法、及びプログラム
17日前
株式会社リコー
画像形成装置、情報処理方法及びプログラム
3日前
株式会社リコー
画像形成装置、及び、プロセスカートリッジ
10日前
株式会社リコー
画像形成装置、情報処理方法およびプログラム
4日前
株式会社リコー
画像読取装置、画像判定方法およびプログラム
3日前
株式会社リコー
モノクロ用光走査装置及びモノクロ画像形成装置
3日前
株式会社リコー
対話装置、対話システム、対話方法及びプログラム
17日前
株式会社リコー
情報処理装置、情報処理システムおよび情報処理方法
17日前
株式会社リコー
電気機器、画像形成装置、制御方法、及びプログラム
13日前
株式会社リコー
情報処理システム、情報処理装置および情報処理方法
17日前
株式会社リコー
情報処理装置、画面作成方法、プログラム、及び情報処理システム
13日前
株式会社リコー
情報処理装置、画面作成方法、プログラム、及び情報処理システム
4日前
株式会社リコー
情報処理装置、情報処理方法、プログラム、および情報処理システム
17日前
株式会社リコー
手書き入力装置、手書き入力システム、手書き入力方法、プログラム
17日前
株式会社リコー
表示装置、表示方法、プログラム
10日前
株式会社リコー
画像処理装置、方法、およびプログラム
10日前
株式会社リコー
情報処理システム、情報処理方法およびプログラム
12日前
株式会社リコー
通信端末、取引システム、表示方法、及びプログラム
5日前
株式会社リコー
情報処理システム、サービス提供システム、設定方法
12日前
株式会社リコー
通信端末、画像通信システム、表示方法、及びプログラム
10日前
株式会社リコー
情報処理システム、サーバ、情報処理方法、及びプログラム
10日前
続きを見る
他の特許を見る