TOP
|
特許
|
意匠
|
商標
特許ウォッチ
Twitter
他の特許を見る
10個以上の画像は省略されています。
公開番号
2025154161
公報種別
公開特許公報(A)
公開日
2025-10-10
出願番号
2024057018
出願日
2024-03-29
発明の名称
対話装置、対話システム、対話方法及びプログラム
出願人
株式会社リコー
代理人
個人
,
個人
主分類
G10L
13/08 20130101AFI20251002BHJP(楽器;音響)
要約
【課題】対話エージェントを用いてユーザと円滑に対話する。
【解決手段】ユーザの発話に対して対話エージェントを用いて応答する対話装置であって、前記ユーザによる第1発話を検出する発話検出部と、前記発話検出部で検出された前記第1発話の内容に対する前記対話エージェントからの応答を出力するよう制御する発話出力部と、を備え、前記発話出力部は、所定の条件に合致する場合、前記応答を出力する前に、前記ユーザとの対話を円滑にする第2発話を、前記対話エージェントから出力するよう制御する、ことを特徴とする。
【選択図】図6
特許請求の範囲
【請求項1】
ユーザの発話に対して対話エージェントを用いて応答する対話装置であって、
前記ユーザによる第1発話を検出する発話検出部と、
前記発話検出部で検出された前記第1発話の内容に対する前記対話エージェントからの応答を出力するよう制御する発話出力部と、
を備え、
前記発話出力部は、所定の条件に合致する場合、前記応答を出力する前に、前記ユーザとの対話を円滑にする第2発話を、前記対話エージェントから出力するよう制御する、
ことを特徴とする対話装置。
続きを表示(約 1,000 文字)
【請求項2】
前記第2発話は、ターンを保持する発話又はターンを譲渡する発話を含む、
請求項1に記載の対話装置。
【請求項3】
前記第1発話の検出状態に基づいて、前記対話のターン状態を管理する状態管理部をさらに備え、
前記発話出力部は、前記ターン状態に関する前記条件に基づいて前記第2発話を出力する、
請求項2に記載の対話装置。
【請求項4】
前記状態管理部は、前記第1発話の終了を検出した場合、前記ターン状態を前記対話エージェントのターンに移行し、
前記発話出力部は、前記ターン状態が前記対話エージェントのターンに移行したとき、ターンを保持する前記第2発話を出力する、
請求項3に記載の対話装置。
【請求項5】
前記状態管理部は、前記ターン状態が前記対話エージェントのターンであるときに前記第1発話を検出した場合、前記ターン状態を前記ユーザのターンに移行し、
前記発話出力部は、前記ターン状態が前記ユーザのターンに移行したとき、ターンを譲渡する前記第2発話を出力する、
請求項3に記載の対話装置。
【請求項6】
前記発話検出部は、前記第1発話を認識した音声認識結果及び前記第1発話の時間長に基づいて、前記第1発話を検出したか否かを判定する、
請求項1から5のいずれかに記載の対話装置。
【請求項7】
前記第1発話に基づいて前記ユーザの感情を認識する感情認識部をさらに備え、
前記発話出力部は、前記感情の認識結果に応じた前記第2発話を出力する、
請求項1から5のいずれかに記載の対話装置。
【請求項8】
前記感情認識部は、前記第1発話から抽出された音響特徴量及び前記第1発話を認識した音声認識結果に基づいて、前記感情を認識する、
請求項7に記載の対話装置。
【請求項9】
前記第1発話を認識した音声認識結果に基づいて、前記第1発話に対する応答発話を生成する応答生成部をさらに備え、
前記発話出力部は、前記応答発話を生成しているとき、前記音声認識結果を要約した前記第2発話を出力する、
請求項1から5のいずれかに記載の対話装置。
【請求項10】
前記発話出力部は、前記応答発話の生成時間が閾値を超えた場合、ターンを保持する前記前記第2発話を出力する、
請求項9に記載の対話装置。
(【請求項11】以降は省略されています)
発明の詳細な説明
【技術分野】
【0001】
本発明は、対話装置、対話システム、対話方法及びプログラムに関する。
続きを表示(約 1,900 文字)
【背景技術】
【0002】
ユーザからのメッセージに対して、対話エージェントが自動で応答を行う対話システムが知られている。例えば、特許文献1には、ユーザ発話を入力する工程と、入力されたユーザ発話の韻律的特徴を抽出する工程と、抽出された韻律的特徴に基づき、ユーザ発話に応答する相槌を生成する工程と、を備え、相槌を生成する際、相槌の韻律的特徴がユーザ発話の韻律的特徴と合うように相槌の韻律を調整する音声対話方法が開示されている。
【発明の概要】
【発明が解決しようとする課題】
【0003】
しかしながら、従来技術では、ユーザとの円滑な対話が阻害されることがある。例えば、従来技術では、対話における応答と対話を円滑にする相槌等をどのように出力すべきか考慮されておらず、対話エージェントが適切なタイミングで対話ができないことがある。
【0004】
本発明の一実施形態は、上記のような技術的課題に鑑みて、対話エージェントを用いてユーザと円滑に対話することを目的とする。
【課題を解決するための手段】
【0005】
本発明の一実施形態である対話装置は、ユーザの発話に対して対話エージェントを用いて応答する対話装置であって、前記ユーザによる第1発話を検出する発話検出部と、前記発話検出部で検出された前記第1発話の内容に対する前記対話エージェントからの応答を出力するよう制御する発話出力部と、を備え、前記発話出力部は、所定の条件に合致する場合、前記応答を出力する前に、前記ユーザとの対話を円滑にする第2発話を、前記対話エージェントから出力するよう制御する、ことを特徴とする。
【発明の効果】
【0006】
本発明の一実施形態によれば、対話エージェントを用いてユーザと円滑に対話できる。
【図面の簡単な説明】
【0007】
一実施形態に係る対話システムのシステム構成の一例を示す図である。
一実施形態に係る対話エージェントの一例を示す図である。
一実施形態に係る対話エージェントの別の一例を示す図である。
一実施形態に係るコンピュータのハードウェア構成の一例を示す図である。
一実施形態に係る端末装置のハードウェア構成の一例を示す図である。
第1実施形態に係るサーバ装置の機能構成の一例を示す図である。
従来技術による対話の流れの一例を示すシーケンス図である。
第1実施形態による対話の流れの一例を示すシーケンス図である。
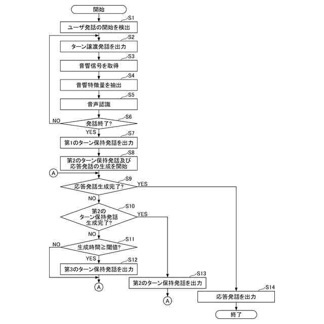
第1実施形態に係る対話方法の一例を示すフローチャートである。
第2実施形態に係る発話検出処理の一例を示すフローチャートである。
第3実施形態に係るサーバ装置の機能構成の一例を示す図である。
第3実施形態に係る感情判定規則の一例を示す図である。
第3実施形態に係る振る舞い決定規則の一例を示す図である。
第3実施形態に係る感情認識処理の一例を示すフローチャートである。
第4実施形態に係るサーバ装置の機能構成の一例を示す図である。
第4実施形態による対話の流れの一例を示すシーケンス図である。
第4実施形態に係る動作検出処理の一例を示すフローチャートである。
【発明を実施するための形態】
【0008】
以下、図面を参照しながら、本発明の実施の形態について、詳細に説明する。なお、図面中において同じ機能を有する構成部には同じ番号を付し、重複説明を省略する。
【0009】
[第1実施形態]
本発明の第1実施形態は、対話サービスを提供する情報処理システムである。以下、本実施形態に係る情報処理システムを、「対話システム」と呼ぶ。対話サービスは、対話エージェントと対話可能な情報通信サービスである。対話サービスでは、ユーザからのメッセージに対して、対話エージェントが自動で応答を行うことで、ユーザと対話エージェントとの対話が進行する。
【0010】
<システム構成>
図1は、一実施形態に係る対話システムのシステム構成の一例を示す図である。図1の例では、対話システム1は、例えば、インターネット、又はLAN(Local Area Network)等の通信ネットワークNに接続されたサーバ装置100と、端末装置10とを含む。
(【0011】以降は省略されています)
この特許をJ-PlatPat(特許庁公式サイト)で参照する
関連特許
株式会社リコー
移動体
25日前
株式会社リコー
画像形成装置
11日前
株式会社リコー
画像形成装置
6日前
株式会社リコー
画像形成装置
3日前
株式会社リコー
画像形成装置
3日前
株式会社リコー
機器及び異常判定方法
11日前
株式会社リコー
画像形成装置及びシステム
9日前
株式会社リコー
定着装置、及び画像形成装置
11日前
株式会社リコー
延長トレイ及び画像形成装置
6日前
株式会社リコー
画像読取装置及び画像読取方法
5日前
株式会社リコー
表示装置、切替方法、プログラム
16日前
株式会社リコー
媒体処理装置及び画像形成システム
6日前
株式会社リコー
樹脂粒子、及び樹脂粒子の製造方法
3日前
株式会社リコー
読取装置、読取方法およびプログラム
6日前
株式会社リコー
加熱装置、定着装置及び画像形成装置
10日前
株式会社リコー
通信装置、通信方法、及びプログラム
9日前
株式会社リコー
通信端末、通信方法、及びプログラム
9日前
株式会社リコー
シート給送装置及び画像形成システム
12日前
株式会社リコー
光源装置、画像投影装置および調整方法
16日前
株式会社リコー
通信装置、状態制御方法、及びプログラム
12日前
株式会社リコー
ノード、データ共有方法、及びプログラム
23日前
株式会社リコー
画像形成装置、及び、プロセスカートリッジ
16日前
株式会社リコー
画像形成装置、情報処理方法及びプログラム
9日前
株式会社リコー
画像形成装置、情報処理方法およびプログラム
1か月前
株式会社リコー
画像形成装置、情報処理方法およびプログラム
10日前
株式会社リコー
画像形成装置、画像処理方法およびプログラム
4日前
株式会社リコー
画像読取装置、画像判定方法およびプログラム
9日前
株式会社リコー
表示装置、表示方法、プログラム、表示システム
24日前
株式会社リコー
モノクロ用光走査装置及びモノクロ画像形成装置
9日前
株式会社リコー
画像読取装置、用紙斜行防止装置及び画像形成装置
4日前
株式会社リコー
対話装置、対話システム、対話方法及びプログラム
23日前
株式会社リコー
情報処理装置、情報処理システムおよび情報処理方法
23日前
株式会社リコー
情報処理システム、情報処理装置および情報処理方法
23日前
株式会社リコー
電気機器、画像形成装置、制御方法、及びプログラム
19日前
株式会社リコー
情報処理装置、設定システム、プログラム、情報処理方法
3日前
株式会社リコー
情報処理装置、画像形成装置、情報処理方法及びプログラム
3日前
続きを見る
他の特許を見る