TOP
|
特許
|
意匠
|
商標
特許ウォッチ
Twitter
他の特許を見る
10個以上の画像は省略されています。
公開番号
2025159103
公報種別
公開特許公報(A)
公開日
2025-10-17
出願番号
2025133622,2023134382
出願日
2025-08-08,2019-04-11
発明の名称
情報処理システム、サーバ、情報処理方法、及びプログラム
出願人
株式会社リコー
代理人
弁理士法人酒井国際特許事務所
主分類
G06F
3/0481 20220101AFI20251009BHJP(計算;計数)
要約
【課題】会議等のイベントにおいて、イベント全体の中の重要ポイントを容易に探し出すことができる、通信端末、管理システム、表示方法、及びプログラムを提供する。
【解決手段】電子黒板、ビデオ会議端末、カーナビゲーション装置、PC等の通信端末と、共用支援サーバ、スケジュール管理サーバ及び音声テキスト変換サーバが、通信ネットワークを介して通信する共用システムにおいて、通信端末は、実行されたイベントにおいて発生した音声データから変換されたテキストデータ及びイベントにおいてスナップショットによって発生した画面の画像データに係る画像を、それぞれ発生時間順に並列に表示手段に表示させる表示制御手段を備える。
【選択図】図34
特許請求の範囲
【請求項1】
実行されたイベントにおいて発生した音声データから変換されたテキストデータ及び前記イベントにおいてスナップショットによって発生した画面の画像データに係る画像を、それぞれ発生時間順に並列に表示手段に表示させる表示制御手段を有することを特徴とする通信端末。
続きを表示(約 1,200 文字)
【請求項2】
前記画像には、前記イベントで発生したアクションアイテムの内容を示す画像が含まれていることを特徴とする請求項1に記載の通信端末。
【請求項3】
共用体で行われる前記イベントで発生した前記音声データ及び前記画像データを管理する管理システムと通信可能な請求項1又は2に記載の通信端末であって、
前記管理システムよって送信された、前記テキストデータ、及び前記音声データから当該テキストデータに変換された時間に関する第1の時間情報、並びに、前記画像データ、及び当該画像データが発生された時間に関する第2の時間情報を受信する受信手段を有し、
前記表示制御手段は、前記受信手段によって受信された、前記テキストデータ、前記第1の時間情報、前記画像データ、及び前記第2の時間情報に基づいて、前記テキストデータ及び前記画像データを、それぞれ発生時間順に並列に表示手段に表示させることを特徴とする通信端末。
【請求項4】
前記表示制御手段は、前記音声データの全再生時間における再生箇所を表示することを特徴とする請求項1乃至3のいずれか一項に記載の通信端末。
【請求項5】
請求項4に記載の通信端末であって、
前記再生箇所の変更を受け付ける受付手段を有し、
前記表示制御手段は、前記変更で示される時間に対応する前記テキストデータ及び画像データを、それぞれ発生時間順に並列に前記表示手段に表示させることを特徴とする通信端末。
【請求項6】
前記通信端末は、パーソナルコンピュータであることを特徴とする請求項1乃至5のいずれか一項に記載の通信端末。
【請求項7】
前記通信端末は、
収音した音声から前記音声データを作成する音処理手段と、
描画された画像から前記画像データを作成する画像処理手段と、
を有する電子黒板であることを特徴とする請求項1乃至5のいずれか一項に記載の通信端末。
【請求項8】
請求項1乃至7のいずれか一項に記載の通信端末と、
前記共用体で行われる前記イベントで発生した前記音声データ及び前記画像データを管理する管理システムと、
を有する共用システムであって、
前記管理システムは、前記通信端末が受信するように、前記テキストデータ、及び前記音声データから当該テキストデータに変換された時間に関する第1の時間情報、並びに、前記画像データ、及び当該画像データが発生された時間に関する第2の時間情報を送信することを特徴とする共用システム。
【請求項9】
実行されたイベントにおいて発生した音声データから変換されたテキストデータ及び前記イベントにおいてスナップショットによって発生した画面の画像データに係る画像を、それぞれ発生時間順に並列に表示手段に表示させることを特徴とする表示方法。
【請求項10】
コンピュータに、請求項9に記載の方法を実行させるプログラム。
発明の詳細な説明
【技術分野】
【0001】
本開示内容は、通信端末、管理システム、表示方法、及びプログラムに関する。
続きを表示(約 2,400 文字)
【背景技術】
【0002】
近年、企業や教育機関、行政機関等における会議等において、大型ディスプレイに背景画像を表示させ、この背景画像の上にユーザが文字や数字、図形等のストローク画像を描画可能な電子黒板が利用されている(特許文献1参照)。
【0003】
また、会議等のイベントを行った場合、サーバがイベントにおける音声データをテキストデータに変換し、端末がテキストデータに係る画像を表示することで、自動的に議事録を作成する技術が知られている(特許文献2参照)。
【発明の概要】
【発明が解決しようとする課題】
【0004】
しかしながら、従来の方法では、利用者は、議事録の中から所望のテキストデータに係る画像を探し出すため、テキストの内容を最初から読み進めなければならないため、イベント全体の中の重要ポイントを容易に探し出すことができないという課題が生じる。
【課題を解決するための手段】
【0005】
上述した課題を解決すべく、請求項1に係る発明は、実行されたイベントにおいて発生した音声データから変換されたテキストデータに係る画像及び前記イベントにおいてスナップショットによって発生した画面の画像データに係る画像を、それぞれ発生時間順に並列に表示手段に表示させる表示制御手段を有することを特徴とする通信端末である。
【発明の効果】
【0006】
本発明によれば、テキストデータ及びスナップショットによる画像データに係る画像を発生時間順に並列に表示させるため、利用者は、上記画像を閲覧すれば容易にイベント全体の中の重要ポイントを探し出すことができる。これにより、イベント全体の中の重要ポイントを容易に探し出すことができるという効果を奏する。
【図面の簡単な説明】
【0007】
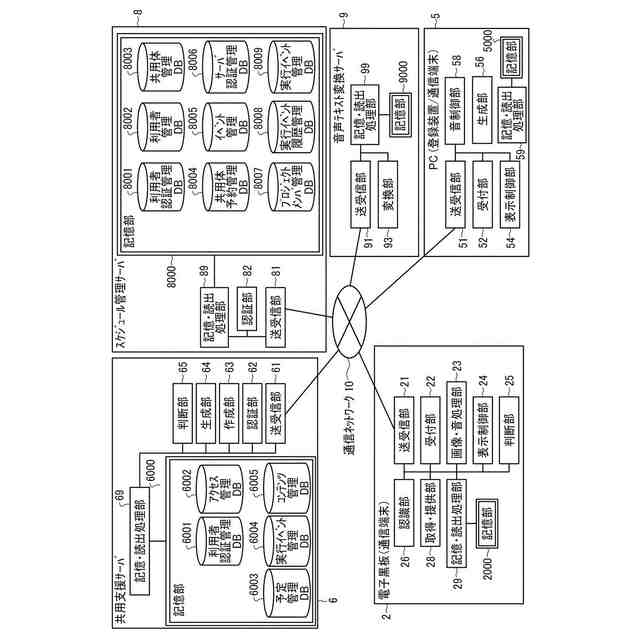
本実施形態に係る共用システムの概略図である。
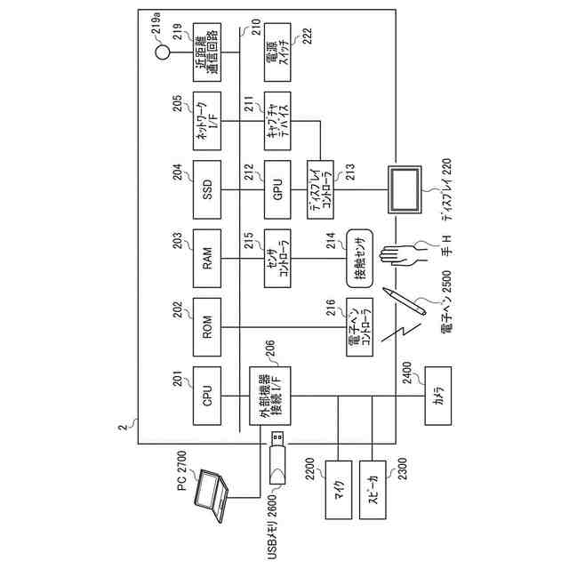
電子黒板のハードウェア構成図である。
ビデオ会議端末のハードウェア構成図である。
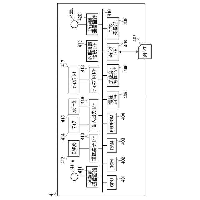
カーナビゲーション装置のハードウェア構成図である。
PC、サーバのハードウェア構成図である。
共用システムの機能ブロック図である。
(A)は利用者認証管理テーブルの概念図、(B)はアクセス管理テーブルの概念図、(C)は予定管理テーブルの概念図である。
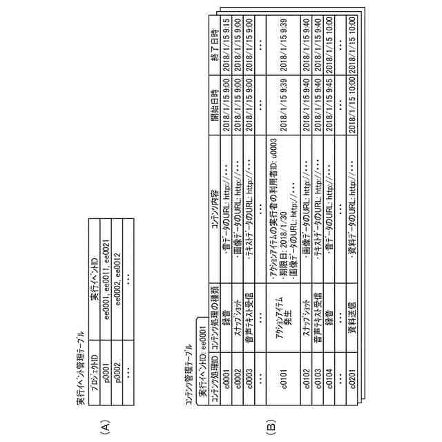
(A)は実行イベント管理テーブルの概念図、(B)コンテンツ管理テーブルの概念図である。
(A)は利用者認証管理テーブルの概念図、(B)は利用者管理テーブルの概念図、(C)は共用体管理テーブルの概念図である。
(A)は共用体予約管理テーブルの概念図、(B)はイベント管理テーブルの概念図である。
(A)は共用体予約管理テーブルの概念図、(B)はプロジェクトメンバ管理テーブルの概念図である。
(A)実行イベント履歴管理テーブルの概念図、(B)実行イベント管理テーブルの概念図である。
スケジュールの登録処理を示したシーケンス図である。
サインイン画面を示した図である。
PCの初期画面の例である。
スケジュール入力画面を示した図である。
イベントの開始処理を示したシーケンス図である。
共用体の予約リスト画面を示した図である。
イベントの開始処理を示したシーケンス図である。
プロジェクトリスト画面を示した図である。
イベントの詳細情報画面を示した図である。
利用者が電子黒板を利用する状態を示したイメージ図である。
実行イベント履歴の登録処理を示したシーケンス図である。
実行イベント履歴の登録処理を示したシーケンス図である。
アクションアイテムの登録処理を示したフォローチャートである。
アクションアイテムを認識する画面例である。
アクションアイテムを実行する候補者リストを示す画面例である。
アクションアイテムの期限日を選択するためのカレンダを示す画面例である。
イベントの終了処理を示したシーケンス図である。
実行イベント履歴の閲覧処理を示したシーケンス図である。
実行イベント履歴の閲覧処理を示したシーケンス図である。
PC上にプロジェクトリスト画面を示した図である。
PC上に実行イベントリスト画面を示した図である。
PC上に実行イベント履歴画面を示した図である。
PC上にアクションアイテム画面を示した図である。
ページネーションによる表示の変更処理を示したフローチャートである。
PC上に実行イベント履歴画面を示した図である。
PC上に実行イベント履歴画面を示した図である。
【発明を実施するための形態】
【0008】
以下に図面を用いて、本実施形態に係る共用システム1を詳細に説明する。なお、本実施形態において「ファイル」は、「電子ファイル」を示す。
【0009】
〔システム構成の概略〕
まず、共用システム1の構成の概略について説明する。図1は、本実施形態に係る共用システムの概略図である。
【0010】
図1に示されているように、本実施形態の共用システム1は、電子黒板2、ビデオ会議端末3、カーナビゲーション装置4、PC(Personal Computer、パーソナルコンピュータ)5、共用支援サーバ6、スケジュール管理サーバ8及び音声テキスト変換サーバ9によって構築されている。
(【0011】以降は省略されています)
この特許をJ-PlatPat(特許庁公式サイト)で参照する
関連特許
株式会社リコー
画像形成装置
1日前
株式会社リコー
機器及び異常判定方法
1日前
株式会社リコー
定着装置、及び画像形成装置
1日前
株式会社リコー
表示装置、切替方法、プログラム
6日前
株式会社リコー
加熱装置、定着装置及び画像形成装置
今日
株式会社リコー
シート給送装置及び画像形成システム
2日前
株式会社リコー
光源装置、画像投影装置および調整方法
6日前
株式会社リコー
通信装置、状態制御方法、及びプログラム
2日前
株式会社リコー
画像形成装置、及び、プロセスカートリッジ
6日前
株式会社リコー
画像形成装置、情報処理方法およびプログラム
今日
株式会社リコー
対話装置、対話システム、対話方法及びプログラム
13日前
株式会社リコー
電気機器、画像形成装置、制御方法、及びプログラム
9日前
株式会社リコー
情報処理装置、画面作成方法、プログラム、及び情報処理システム
9日前
株式会社リコー
情報処理装置、画面作成方法、プログラム、及び情報処理システム
今日
株式会社リコー
手書き入力装置、手書き入力システム、手書き入力方法、プログラム
13日前
株式会社リコー
表示装置、表示方法、プログラム
6日前
株式会社リコー
画像処理装置、方法、およびプログラム
6日前
株式会社リコー
情報処理システム、情報処理方法およびプログラム
8日前
株式会社リコー
情報処理システム、サービス提供システム、設定方法
8日前
株式会社リコー
通信端末、取引システム、表示方法、及びプログラム
1日前
株式会社リコー
通信端末、画像通信システム、表示方法、及びプログラム
6日前
株式会社リコー
情報処理システム、サーバ、情報処理方法、及びプログラム
6日前
株式会社リコー
情報処理装置、サービス提供システム、方法およびプログラム
9日前
株式会社リコー
電子機器、情報処理システム、情報処理方法およびプログラム
9日前
株式会社リコー
情報提供装置、情報処理システム、情報提供方法、及びプログラム
8日前
株式会社リコー
情報処理装置、プログラム、Webアプリケーション管理方法及び情報処理システム
6日前
株式会社リコー
電子写真画像形成用キャリア、電子写真画像形成用現像剤、電子写真画像形成方法、電子写真画像形成装置、及びプロセスカートリッジ
今日
個人
詐欺保険
9日前
個人
縁伊達ポイン
9日前
個人
地球保全システム
22日前
個人
QRコードの彩色
13日前
個人
冷凍食品輸出支援構造
1か月前
個人
為替ポイント伊達夢貯
1か月前
個人
残土処理システム
15日前
個人
農作物用途分配システム
8日前
個人
表変換編集支援システム
1か月前
続きを見る
他の特許を見る