TOP
|
特許
|
意匠
|
商標
特許ウォッチ
Twitter
他の特許を見る
10個以上の画像は省略されています。
公開番号
2025160868
公報種別
公開特許公報(A)
公開日
2025-10-23
出願番号
2024227554
出願日
2024-12-24
発明の名称
画像形成装置、情報処理方法およびプログラム
出願人
株式会社リコー
代理人
弁理士法人酒井国際特許事務所
主分類
G03G
21/00 20060101AFI20251016BHJP(写真;映画;光波以外の波を使用する類似技術;電子写真;ホログラフイ)
要約
【課題】紙厚の違いによるデータのばらつきが大きい場合でも、十分な予測精度で故障予測を行うことを目的とする。
【解決手段】搬送機構によって搬送された用紙を搬送経路上の所定の位置において検知する用紙検知部と、前記搬送経路上の所定区間において前記用紙を搬送するために要した搬送時間を示す搬送時間情報を前記用紙検知部による検知結果に応じて取得する搬送時間情報取得部と、前記用紙の厚さを示す紙厚情報を検知する紙厚検知部と、前記用紙の厚さ毎に搬送時間情報を記憶する検知情報記憶部と、前記搬送機構の故障時期を予測する予測部と、を備える。
【選択図】図4
特許請求の範囲
【請求項1】
搬送機構によって搬送された用紙を搬送経路上の所定の位置において検知する用紙検知部と、
前記搬送経路上の所定区間において前記用紙を搬送するために要した搬送時間を示す搬送時間情報を前記用紙検知部による検知結果に応じて取得する搬送時間情報取得部と、
前記用紙の厚さを示す紙厚情報を検知する紙厚検知部と、
前記用紙の厚さ毎に搬送時間情報を記憶する検知情報記憶部と、
前記搬送機構の故障時期を予測する予測部と、
を備え、
前記予測部は、前記検知情報記憶部が記憶した搬送時間情報と搬送された用紙の累積枚数を用いて、前記用紙の厚さ毎に前記所定の位置における前記搬送機構の故障時期を予測する、
画像形成装置。
続きを表示(約 1,700 文字)
【請求項2】
前記予測部は、前記用紙が第1の厚さである場合の第1の故障時期と、前記用紙が第2の厚さである場合の第2の故障時期と、を用いて、前記第1の厚さと前記第2の厚さの間の厚さの用紙に対する故障時期を算出する、
請求項1に記載の画像形成装置。
【請求項3】
前記画像形成装置が動作している環境の温度を検知する温度検知部をさらに備え、
前記予測部は、前記搬送時間情報、前記累積枚数及び前記環境の温度を用いて、前記用紙の厚さ毎に前記所定の位置における前記搬送機構の故障時期を予測する、
請求項1又は2に記載の画像形成装置。
【請求項4】
前記画像形成装置が動作している環境の湿度を検知する湿度検知部をさらに備え、
前記予測部は、前記搬送時間情報、前記累積枚数及び前記環境の湿度を用いて、前記用紙の厚さ毎に前記所定の位置における前記搬送機構の故障時期を予測する、
請求項1又は2に記載の画像形成装置。
【請求項5】
前記予測部は、予測結果である故障時期の変動を前記用紙の厚さ毎に監視し、故障時期の変動の割合が所定の割合を超えた場合は、該故障時期を予測結果から除外し、前記検知情報記憶部が記憶した最新の搬送時間情報を予測に用いない、
請求項1又は2に記載の画像形成装置。
【請求項6】
前記所定の位置における負荷トルクを検知する負荷トルク検知部をさらに備え、
前記予測部は、前記負荷トルク検知部が検知した負荷トルクの値を監視し、前記所定の位置における負荷トルクが所定の値を超えた場合は、該故障時期を予測結果から除外し、前記検知情報記憶部が記憶した最新の搬送時間情報を予測に用いない、
請求項1又は2に記載の画像形成装置。
【請求項7】
前記画像形成装置が動作している環境の温度、湿度、又は前記所定の位置における負荷トルクの少なくともいずれかを検知する補助情報検知部をさらに備え、
前記予測部は、前記搬送時間情報、前記累積枚数及び前記補助情報検知部で検知された情報と、前記用紙の厚さ毎に測定された実際の故障時期と、の関係を教師データとして機械学習させたモデルを用いて、前記用紙の厚さ毎に前記所定の位置における前記搬送機構の故障時期を予測する、
請求項1又は2に記載の画像形成装置。
【請求項8】
搬送機構によって搬送された用紙を搬送経路上の所定の位置において検知する用紙検知ステップと、
前記搬送経路上の所定区間において前記用紙を搬送するために要した搬送時間を示す搬送時間情報を前記用紙検知ステップによる検知結果に応じて取得する搬送時間情報取得ステップと、
前記用紙の厚さを示す紙厚情報を検知する紙厚検知ステップと、
前記用紙の厚さ毎に搬送時間情報を記憶する検知情報記憶ステップと、
前記搬送機構の故障時期を予測する予測ステップと、
を有し、
前記予測ステップは、前記検知情報記憶ステップが記憶した搬送時間情報と搬送された用紙の累積枚数を用いて、前記用紙の厚さ毎に前記所定の位置における前記搬送機構の故障時期を予測する、
情報処理方法。
【請求項9】
コンピュータを、
搬送機構によって搬送された用紙を搬送経路上の所定の位置において検知する用紙検知手段と、
前記搬送経路上の所定区間において前記用紙を搬送するために要した搬送時間を示す搬送時間情報を前記用紙検知手段による検知結果に応じて取得する搬送時間情報取得手段と、
前記用紙の厚さを示す紙厚情報を検知する紙厚検知手段と、
前記用紙の厚さ毎に搬送時間情報を記憶する検知情報記憶手段と、
前記搬送機構の故障時期を予測する予測手段と、
として機能させるものであって、
前記予測手段は、前記検知情報記憶手段が記憶した搬送時間情報と搬送された用紙の累積枚数を用いて、前記用紙の厚さ毎に前記所定の位置における前記搬送機構の故障時期を予測する、
プログラム。
発明の詳細な説明
【技術分野】
【0001】
本発明は、画像形成装置、情報処理方法およびプログラムに関する。
続きを表示(約 2,400 文字)
【背景技術】
【0002】
近年、プリンタ、ファクシミリ、スキャナ、複写機として利用可能な複合機において、画像形成出力用の用紙の搬送に際して、用紙を搬送する機構の経時劣化を認識し、故障予測を行う技術が用いられている。
【0003】
特許文献1には、搬送された用紙を搬送経路上の所定の位置において検知する用紙検知部と、前記搬送経路上の所定区間において前記用紙を搬送するために要した搬送時間の情報である搬送時間情報を前記用紙検知部による検知結果に応じて取得する搬送時間情報取得部と、前記搬送された用紙の摩擦係数に関する情報である摩擦係数関連情報を取得する摩擦係数関連情報取得部と、前記取得された搬送時間情報に基づいて前記搬送機構の劣化を判断する劣化判断部とを含み、前記劣化判断部は、前記取得された摩擦係数関連情報に基づいて前記劣化の判断結果を変える画像形成装置が開示されている。
【発明の概要】
【発明が解決しようとする課題】
【0004】
しかしながら、従来の技術によれば、異なる紙厚に対しても同じ実測カーブを用いて故障予測を行っているため、紙厚の違いによるデータのばらつきが大きい場合には十分な予測精度が得られないという問題があった。
【0005】
本発明は、上記に鑑みてなされたものであって、紙厚の違いによるデータのばらつきが大きい場合でも、十分な予測精度で故障予測を行うことを目的とする。
【課題を解決するための手段】
【0006】
上述した課題を解決し、目的を達成するために、本発明は、搬送機構によって搬送された用紙を搬送経路上の所定の位置において検知する用紙検知部と、前記搬送経路上の所定区間において前記用紙を搬送するために要した搬送時間を示す搬送時間情報を前記用紙検知部による検知結果に応じて取得する搬送時間情報取得部と、前記用紙の厚さを示す紙厚情報を検知する紙厚検知部と、前記用紙の厚さ毎に搬送時間情報を記憶する検知情報記憶部と、前記搬送機構の故障時期を予測する予測部と、を備えることを特徴とする。
【発明の効果】
【0007】
本発明によれば、紙厚の違いによるデータのばらつきが大きい場合でも、十分な予測精度で故障予測を行うことができる、という効果を奏する。
【図面の簡単な説明】
【0008】
図1は、第1の実施の形態に係る画像形成装置のハードウェア構成を示すブロック図である。
図2は、第1の実施の形態に係る画像形成装置の機能構成を示すブロック図である。
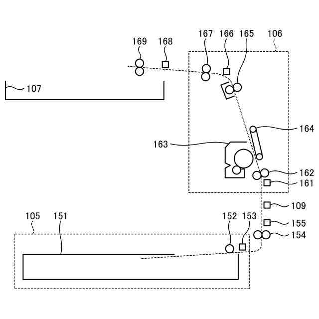
図3は、第1の実施の形態に係る給紙テーブル、プリントエンジン、排紙トレイ及び夫々の間の用紙の搬送経路を模式的に示す図である。
図4は、第1の実施の形態に係るエンジン制御部の機能構成の一例を示す図である。
図5は、タイミング閾値記憶部が記憶する情報の一例を示す図である。
図6は、画像形成装置の通常動作における用紙搬送機構の動作状態及びタイミングセンサの検知状態を示すタイミングチャートである。
図7は、検知情報記憶部が記憶する搬送時間情報の一例を示す図である。
図8は、用紙の厚さ毎に予測された故障時期の例を示す図である。
図9Aは、第1の実施の形態に係る処理の一例を示すフローチャートである。
図9Bは、第1の実施の形態に係る故障時期の予測処理の一例を示すフローチャートである。
図10は、故障時期の予測結果の例を示す図である。
図11は、第2の実施の形態に係る画像形成装置の機能構成を示すブロック図である。
図12は、第2の実施の形態に係るエンジン制御部の機能構成の一例を示す図である。
図13は、検知情報記憶部が記憶する情報の一例を示す図である。
図14は、突発的に搬送時間が大きくなった場合の予測精度の低下の例を示す図である。
図15は、突発的に搬送時間が小さくなった場合の予測精度の低下の例を示す図である。
図16は、第3の実施の形態に係る故障時期の予測処理の一例を示すフローチャートである。
図17は、第4の実施の形態に係る給紙テーブル、プリントエンジン、排紙トレイ及び夫々の間の用紙の搬送経路を模式的に示す図である。
図18は、第4の実施の形態に係るエンジン制御部の機能構成の一例を示すフローチャートである。
図19は、第4の実施の形態に係る故障時期の予測処理の一例を示すフローチャートである。
図20は、学習済モデルを用いた予測処理の機能構成を模式的に示した図である。
【発明を実施するための形態】
【0009】
以下に添付図面を参照して、画像形成装置、情報処理方法およびプログラムの実施の形態を詳細に説明する。
【0010】
(第1の実施の形態)
図1は、本実施形態に係る画像形成装置1のハードウェア構成を示すブロック図である。図1に示すように、本実施形態に係る画像形成装置1は、一般的なサーバやPC(Personal Computer)等の情報処理端末と同様の構成に加えて、画像形成を実行するエンジンを有する。即ち、本実施形態に係る画像形成装置1は、CPU(Central Processing Unit)10、RAM(Random Access Memory)20、ROM(Read Only Memory)30、エンジン40、HDD(Hard Disk Drive)50及びI/F(インタフェース)60がバス90を介して接続されている。また、I/F60にはLCD(Liquid Crystal Display)70及び操作部80が接続されている。
(【0011】以降は省略されています)
この特許をJ-PlatPat(特許庁公式サイト)で参照する
関連特許
株式会社リコー
液体吐出装置
9日前
株式会社リコー
定着装置及び画像形成装置
9日前
株式会社リコー
光源装置および画像表示装置
3日前
株式会社リコー
媒体処理装置及び画像形成システム
2日前
株式会社リコー
媒体処理装置及び画像形成システム
2日前
株式会社リコー
外観検査方法、および外観検査システム
9日前
株式会社リコー
プリンタシステムのための自動制御システム
2日前
株式会社リコー
振動検出装置、バイタルセンサ、配管検査装置
4日前
株式会社リコー
媒体処理装置、画像形成装置、画像形成システム
2日前
株式会社リコー
穿孔装置、後処理装置、及び、画像形成システム
3日前
株式会社リコー
画像読取装置、画像形成装置、および画像読取方法
9日前
株式会社リコー
先塗液の塗布状態の異常検出方法および液体吐出装置
9日前
株式会社リコー
画像形成装置、交換部品、情報処理方法、及びプログラム
4日前
株式会社リコー
粒子、試薬、医薬組成物、粉末吸入剤及び粒子の製造方法
10日前
株式会社リコー
情報伝達システム、情報処理装置、情報伝達方法及びプログラム
2日前
株式会社リコー
情報処理システム、情報処理装置、情報処理方法、及びプログラム
9日前
株式会社リコー
情報処理装置、情報処理方法、プログラム、および情報処理システム
9日前
株式会社リコー
画像形成装置、画像形成装置の制御方法及び画像形成装置の制御プログラム
4日前
株式会社リコー
機器、情報処理システム、プログラム、不具合解消方法
2日前
株式会社リコー
電気音響変換器、アレイスピーカ、ウェアラブルデバイス、スピーカ、超音波発信器および電気音響変換器の製造方法
9日前
個人
表示装置
1か月前
個人
雨用レンズカバー
1か月前
日本精機株式会社
プロジェクタ
2日前
日本精機株式会社
車両用投射装置
1か月前
キヤノン株式会社
撮像装置
1か月前
キヤノン株式会社
撮像装置
1か月前
キヤノン株式会社
撮像装置
1か月前
キヤノン株式会社
撮像装置
9日前
株式会社リコー
画像形成装置
1か月前
株式会社リコー
画像形成装置
1か月前
株式会社リコー
画像形成装置
23日前
株式会社リコー
画像形成装置
1か月前
株式会社リコー
画像形成装置
1か月前
キヤノン株式会社
トナー
2か月前
キヤノン株式会社
画像形成装置
1か月前
キヤノン株式会社
トナー
1か月前
続きを見る
他の特許を見る