TOP
|
特許
|
意匠
|
商標
特許ウォッチ
Twitter
他の特許を見る
公開番号
2025146369
公報種別
公開特許公報(A)
公開日
2025-10-03
出願番号
2024047108
出願日
2024-03-22
発明の名称
シート給紙装置、および画像形成装置
出願人
株式会社リコー
代理人
弁理士法人酒井国際特許事務所
主分類
B65H
7/06 20060101AFI20250926BHJP(運搬;包装;貯蔵;薄板状または線条材料の取扱い)
要約
【課題】初期段階で異常紙を検知し印刷動作を止めずジャム紙を取り除くことでマシンダウンタイムを削減することができる、シート給紙装置、および画像形成装置を提供する。
【解決手段】本発明は、用紙積層部と、前記用紙積層部から紙を吸着搬送する搬送部と、前記用紙積層部からの紙の搬送前に紙状態を検知するセンサ部と、前記センサ部の検知結果に基づき紙の異常を判定する判定部と、前記判定部の判定結果に基づき、紙の搬送経路を切り替える切替部と、を備える。
【選択図】図1
特許請求の範囲
【請求項1】
用紙積層部と、
前記用紙積層部から紙を吸着搬送する搬送部と、
前記用紙積層部からの紙の搬送前に紙状態を検知するセンサ部と、
前記センサ部の検知結果に基づき紙の異常を判定する判定部と、
前記判定部の判定結果に基づき、紙の搬送経路を切り替える切替部と、
を備えるシート給紙装置。
続きを表示(約 450 文字)
【請求項2】
前記センサ部は、前記用紙積層部にて紙をピックして2枚目と切り離された段階で紙状態を検知する、請求項1に記載のシート給紙装置。
【請求項3】
前記センサ部は、前記用紙積層部に積層された紙を、前記搬送部による紙の吸着から前記切替部までに紙状態を検知する、請求項1または2に記載のシート給紙装置。
【請求項4】
前記センサ部は、前記用紙積層部に設けられており、少なくとも1つが測距センサである、請求項1または2に記載のシート給紙装置。
【請求項5】
前記センサ部は、紙の4隅に対応する位置に設けられ、紙の搬送方向の上流側が光センサであり、前記搬送方向の下流側が測距センサである、請求項1または2に記載のシート給紙装置。
【請求項6】
前記搬送部は、紙を吸着して搬送可能なエアーピックベルトである、請求項1または2に記載のシート給紙装置。
【請求項7】
請求項1または2に記載のシート給紙装置を備える画像形成装置。
発明の詳細な説明
【技術分野】
【0001】
本発明は、シート給紙装置、および画像形成装置に関する。
続きを表示(約 1,800 文字)
【背景技術】
【0002】
給紙装置にセットされた紙が粗悪品(紙折れや破れ等)であると、印刷搬送中に紙が搬送経路と衝突してジャムを引き起こす。印刷中にジャムが発生すると、紙を取り除く作業や印刷を再開する処理作業によってマシン印刷のダウンタイムが発生する。そのため、ジャムを引き起こす紙状態を検知して異常紙を事前に取り除くことは重要な技術となっている。例えば、特許文献1には、搬送する用紙状態を検知してジャムを防止する目的で、光源と光学レンズを用いて射出光と反射光の移動量によって用紙状態を検知し、用紙異常搬送と判断する制御構成が開示されている。
【発明の概要】
【発明が解決しようとする課題】
【0003】
しかしながら、上記の技術では、印刷中に紙の状態を検知する手段はあるものの、異常紙を検出した場合は印刷動作を止めてオペレータがマシン外装を開けて搬送経路に残っている紙を手動で取り除いている。そのため、ジャム異常とはならないが、一度印刷を中断して紙を取り除く必要があるため必ず印刷ができないマシンダウンタイムが発生してしまう。
【0004】
本発明は、上記に鑑みてなされたものであって、初期段階で異常紙を検知し印刷動作を止めずジャム紙を取り除くことでマシンダウンタイムを削減することができる、シート給紙装置、および画像形成装置を提供することを目的とする。
【課題を解決するための手段】
【0005】
上述した課題を解決し、目的を達成するために、本発明は、用紙積層部と、前記用紙積層部から紙を吸着搬送する搬送部と、前記用紙積層部からの紙の搬送前に紙状態を検知するセンサ部と、前記センサ部の検知結果に基づき紙の異常を判定する判定部と、前記判定部の判定結果に基づき、紙の搬送経路を切り替える切替部と、を備える。
【発明の効果】
【0006】
本発明によれば、初期段階で異常紙を検知し印刷動作を止めずジャム紙を取り除くことでマシンダウンタイムを削減することができる、という効果を奏する。
【図面の簡単な説明】
【0007】
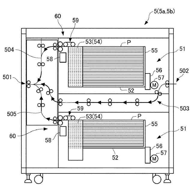
図1は、本実施の形態にかかる印刷システムの全体構成を示す側面図である。
図2は、本実施の形態にかかる連結型給紙装置の構成を示す側面図である。
図3は、本実施の形態にかかるエアー給紙装置の構成を示す斜視図である。
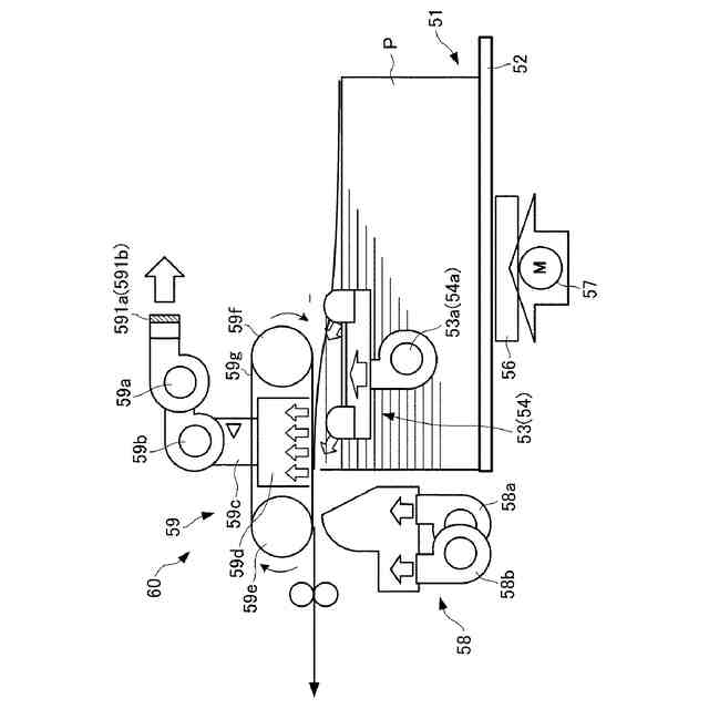
図4は、本実施の形態にかかるエアー給紙装置の側面構成を示す概念図である。
図5は、本実施の形態にかかる印刷システムが有するエアー給紙装置のハードウェア構成の一例を説明するための図である。
図6は、本実施の形態にかかる印刷システムが有するエアー給紙装置の機能構成の一例を示す図である。
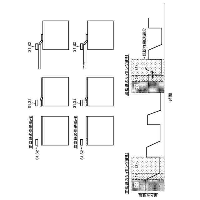
図7は、本実施の形態にかかる印刷システムが有するエアー給紙装置における紙状態の検知方法の一例を説明するための図である。
図8は、本実施の形態にかかる印刷システムが有するエアー給紙装置における搬送経路の切替処理の流れの一例示すフローチャートである。
【発明を実施するための形態】
【0008】
以下に添付図面を参照して、シート給紙装置、および画像形成装置の実施の形態を詳細に説明する。
【0009】
図1は、本実施の形態にかかる印刷システムの全体構成を示す側面図である。図2は、本実施の形態にかかる連結型給紙装置の構成を示す側面図である。図3は、本実施の形態にかかるエアー給紙装置の構成を示す斜視図である。図4は、本実施の形態にかかるエアー給紙装置の側面構成を示す概念図である。図1に示すように、本実施の形態にかかる印刷システム1は、画像形成装置2と、連結型給紙装置5a,5bを備える。
【0010】
画像形成装置2は、給紙部3、画像形成部4を有する装置本体2Mを備えたデジタル複合機である。装置本体2Mは、画像形成装置2および連結型給紙装置5a,5bの制御を行う制御部20を有する。装置本体2Mは、上面に、タッチパネル等で構成され、各種情報を表示するとともに、制御部20に対する印刷ジョブの実行開始等の各種入力操作を行う操作表示部25が備わっている。
(【0011】以降は省略されています)
この特許をJ-PlatPat(特許庁公式サイト)で参照する
関連特許
株式会社リコー
綴じ装置
1か月前
株式会社リコー
履帯式走行体
1か月前
株式会社リコー
感熱記録媒体
5日前
株式会社リコー
印刷システム
8日前
株式会社リコー
画像形成装置
1か月前
株式会社リコー
画像形成装置
8日前
株式会社リコー
画像形成装置
8日前
株式会社リコー
画像形成装置
8日前
株式会社リコー
画像形成装置
1か月前
株式会社リコー
画像形成装置
11日前
株式会社リコー
液体塗布装置
12日前
株式会社リコー
画像形成装置
19日前
株式会社リコー
画像形成装置
1か月前
株式会社リコー
画像形成装置
26日前
株式会社リコー
画像形成装置
4日前
株式会社リコー
画像形成装置
27日前
株式会社リコー
液体吐出装置
1か月前
株式会社リコー
画像形成装置
1か月前
株式会社リコー
映像表示装置
29日前
株式会社リコー
拡張アンテナ装置
11日前
株式会社リコー
情報処理システム
29日前
株式会社リコー
生体情報測定装置
5日前
株式会社リコー
画像形成システム
4日前
株式会社リコー
印刷応答補償機構
12日前
株式会社リコー
画像投射システム
19日前
株式会社リコー
投薬管理システム
27日前
株式会社リコー
液体を吐出する装置
5日前
株式会社リコー
カラー画像形成装置
1か月前
株式会社リコー
マーキングシステム
11日前
株式会社リコー
電極及びその製造方法
8日前
株式会社リコー
電極及びその製造方法
6日前
株式会社リコー
測定装置および測定方法
28日前
株式会社リコー
多孔質構造体の製造方法
8日前
株式会社リコー
測定装置および測定方法
28日前
株式会社リコー
測定装置および測定方法
28日前
株式会社リコー
定着装置及び画像形成装置
18日前
続きを見る
他の特許を見る