TOP
|
特許
|
意匠
|
商標
特許ウォッチ
Twitter
他の特許を見る
公開番号
2025139492
公報種別
公開特許公報(A)
公開日
2025-09-26
出願番号
2024038459
出願日
2024-03-12
発明の名称
拡張アンテナ装置
出願人
株式会社リコー
代理人
個人
主分類
H02J
50/40 20160101AFI20250918BHJP(電力の発電,変換,配電)
要約
【課題】第一コイルと第二コイルとの間を接続する接続線を安価としたり、曲げ等に強くて引き回しが容易になったりする拡張アンテナ装置を提供する。
【解決手段】送信元コイル11との間の電磁誘導により第一コイル51aに発生する誘導電流信号を、第一コイルに接続線を介して接続された第二コイル52aから電磁誘導により送信先コイル41に伝送する拡張アンテナ装置50であって、第一コイルの巻き線の一端側と第二コイルの巻き線の一端側は、単一の接続線53によって互いに接続され、第一コイルの巻き線の他端側51cと第二コイルの巻き線の他端側52cは、いずれも開放されている。
【選択図】図2
特許請求の範囲
【請求項1】
送信元コイルとの間の電磁誘導により第一コイルに発生する誘導電流信号を、該第一コイルに接続線を介して接続された第二コイルから電磁誘導により送信先コイルに伝送する拡張アンテナ装置であって、
前記第一コイルの巻き線の一端側と前記第二コイルの巻き線の一端側は、単一の接続線によって互いに接続され、
前記第一コイルの巻き線の他端側と前記第二コイルの巻き線の他端側は、いずれも開放されていることを特徴とする拡張アンテナ装置。
続きを表示(約 1,300 文字)
【請求項2】
請求項1に記載の拡張アンテナ装置において、
前記送信元コイルは、電磁誘導によりデータ送信を行うデータ送信用コイルであることを特徴とする拡張アンテナ装置。
【請求項3】
請求項2に記載の拡張アンテナ装置において、
前記第一コイル及び第二コイルは、前記送信元コイルからの前記データ送信の通信周波数に同調するように構成されていることを特徴とする拡張アンテナ装置。
【請求項4】
請求項1に記載の拡張アンテナ装置において、
前記送信元コイルは、電磁誘導により電力を伝送するワイヤレス給電用コイルであることを特徴とする拡張アンテナ装置。
【請求項5】
請求項4に記載の拡張アンテナ装置において、
前記第一コイル及び第二コイルは、前記送信元コイルからの電力の伝送周波数に同調するように構成されていることを特徴とする拡張アンテナ装置。
【請求項6】
請求項1乃至5のいずれか1項に記載の拡張アンテナ装置において、
前記単一の接続線は、非シールド線であることを特徴とする拡張アンテナ装置。
【請求項7】
請求項1乃至5のいずれか1項に記載の拡張アンテナ装置において、
前記単一の接続線によって互いに接続される前記第一コイル及び前記第二コイルを含む複数のコイルユニットを有し、
前記複数のコイルユニットのうちの一のコイルユニットを構成するコイルと該複数のコイルユニットのうちの他のコイルユニットを構成するコイルとが互いに電磁誘導により接続される箇所に配置されていることを特徴とする拡張アンテナ装置。
【請求項8】
請求項7に記載の拡張アンテナ装置において、
前記複数のコイルユニットは、3つ以上のコイルユニットであり、
前記3つ以上のコイルユニットのうちの少なくとも3つのコイルユニットそれぞれに含まれるコイル同士が互いに電磁誘導により接続される箇所に配置され、かつ、該少なくとも3つのコイルユニットそれぞれに含まれる他のコイル同士が互いに電磁誘導により接続されない箇所に配置されていることを特徴とする拡張アンテナ装置。
【請求項9】
請求項7に記載の拡張アンテナ装置において、
前記複数のコイルユニットは、3つ以上のコイルユニットであり、
前記3つ以上のコイルユニットのうちの第一コイルユニットの前記第二コイルとの間で電磁誘導により接続される送信先コイルが該3以上のコイルユニットのうちの第二コイルユニットの前記第一コイルとなり、かつ、該第二コイルユニットの前記第二コイルとの間で電磁誘導により接続される送信先コイルが該3以上のコイルユニットのうちの第三コイルユニットの前記第一コイルとなるように、配置されていることを特徴とする拡張アンテナ装置。
【請求項10】
請求項1乃至5のいずれか1項に記載の拡張アンテナ装置において、
前記単一の接続線の一部を巻き線とした第三コイルを備えることを特徴とする拡張アンテナ装置。
(【請求項11】以降は省略されています)
発明の詳細な説明
【技術分野】
【0001】
本発明は、拡張アンテナ装置に関するものである。
続きを表示(約 3,800 文字)
【背景技術】
【0002】
従来、送信元コイルとの間の電磁誘導により第一コイルに発生する誘導電流信号を、該第一コイルに接続線を介して接続された第二コイルから電磁誘導により送信先コイルに伝送する拡張アンテナ装置が知られている。
【0003】
特許文献1には、相互に離間しているが導電体により相互に接続されている2つのRFアンテナコイルを含むブリッジアンテナ(拡張アンテナ装置)が開示されている。2つのRFアンテナコイルのうちの一方(第二コイル)はRFIDタグ内のコイル(送信先コイル)に近接して配置され、他方(第一コイル)はリーダのコイル(送信元コイル)に近接して配置される。リーダのコイルによって生成された電磁搬送波(キャリヤ)信号は、前記他方のRFアンテナコイルに送信され、次いで導電体を通して前記一方のRFアンテナコイルに送信され、当該一方のRFアンテナコイルからRFIDタグのコイルへ送信される。
【0004】
また、特許文献2には、給電装置から離間している受電装置に電力を給電するための非接触延長コード(拡張アンテナ装置)が開示されている。非接触延長コードは、中継受電コイル(第一コイル)と中継送電コイル(第二コイル)を有し、各コイルそれぞれの巻き線の両端同士が互いに接続されている。中継受電コイルは、給電装置の送電コイル(送信元コイル)と磁気結合するように対向配置され、送電コイルが発生する交番磁界と交鎖して誘導起電力を中継送電コイルに出力する。中継送電コイルは、受電装置の受電コイル(送信先コイル)と磁気結合するように対向配置され、中継送電コイルが発生する交番磁界と交鎖して受電コイルに誘導起電力が発生する。
【発明の概要】
【発明が解決しようとする課題】
【0005】
ところが、従来の拡張アンテナ装置は、第一コイルと第二コイルとの間を接続する接続線が2線となり高価であったり、曲げ等に弱くて引き回しが難しかったりするといった問題があった。
【課題を解決するための手段】
【0006】
上述した課題を解決するために、本発明は、送信元コイルとの間の電磁誘導により第一コイルに発生する誘導電流信号を、該第一コイルに接続線を介して接続された第二コイルから電磁誘導により送信先コイルに伝送する拡張アンテナ装置であって、前記第一コイルの巻き線の一端側と前記第二コイルの巻き線の一端側は、単一の接続線によって互いに接続され、前記第一コイルの巻き線の他端側と前記第二コイルの巻き線の他端側は、いずれも開放されていることを特徴とするものである。
【発明の効果】
【0007】
本発明によれば、第一コイルと第二コイルとの間を接続する接続線を安価としたり、曲げ等に強くて引き回しが容易になったりする拡張アンテナ装置を提供することができる。
【図面の簡単な説明】
【0008】
実施形態1に係るRFIDタグ読取システムにおいて、拡張アンテナ装置を用いない使用態様を示す説明図。
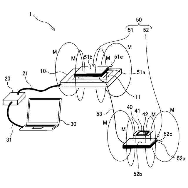
実施形態1に係るRFIDタグ読取システムにおいて、拡張アンテナ装置を用いる使用態様の一例を示す説明図。
同拡張アンテナ装置の等価回路を示す説明図。
(a)は、使用例1における拡張アンテナ装置の内部構造を示す平面図。(b)は、同拡張アンテナ装置を示す側面図。(c)は、同拡張アンテナ装置の第二コイル部の角度を同図(b)の角度から変えたときの側面図。
同拡張アンテナ装置をスマートフォンに装着して使用するときの説明図。
(a)は物流拠点の現場の様子を示すイメージ図。(b)は製造工場の現場の様子を示すイメージ図。(c)は医療や介護の現場の様子を示すイメージ図。
ユーザーの腕に装着されたスマートフォンに装着されている同拡張アンテナ装置を用いて薬パックのRFIDタグを読み取る様子を示すイメージ図。
(a)は、RFIDタグを備えた名札がユーザーの胸ポケットに取り付けられている様子を示すイメージ図。(b)は、ユーザーの胸ポケットに取り付けられた名札のRFIDタグを、スマートフォンで直接読み取る様子を示す説明図。
使用例2における拡張アンテナ装置を示す斜視図。
使用例3における拡張アンテナ装置を使用したRFIDタグ読取システムを示す説明図。
(a)は、同拡張アンテナ装置を構成する3つのコイルユニットの分解図。(b)は、同3つのコイルユニットを組み合わせた状態を示す説明図。
使用例4における拡張アンテナ装置を使用したRFIDタグ読取システムを示す説明図。
4つのコイルを単一の接続線で直列的に接続した比較構成例を示す説明図。
使用例5における拡張アンテナ装置をロボットアームに搭載した例を示す説明図。
使用例6における拡張アンテナ装置を使用したRFIDタグ読取システムを示す説明図。
同拡張アンテナ装置の構成を示す説明図。
変形例1における拡張アンテナ装置を使用したRFIDタグ読取システムを示す説明図。
使用例7における拡張アンテナ装置を使用したRFIDタグ読取システムを示す説明図。
使用例8における拡張アンテナ装置をRFIDタグを備えた収納箱に適用した例の説明図。
使用例8の収納箱のRFIDタグの情報を、互いに異なる3つの位置に配置されるリーダアンテナで読み取る状態を示す説明図。
リーダアンテナの拡張のために使用例8の拡張アンテナ装置を適用した例を示す説明図。
変形例2における拡張アンテナ装置を使用したRFIDタグ読取システムを示す説明図。
変形例2の拡張アンテナ装置に設けられるコイル切替器の構成を示す説明図。
変形例2の拡張アンテナ装置を用いてRFIDタグの情報を読み取る流れを示すフローチャート。
使用例9における拡張アンテナ装置を使用したRFIDタグ読取システムを示す説明図。
使用例9において、配薬トレイにセットされる小分けボックスを示す斜視図。
使用例9において、同配薬トレイにセットされる小分けボックス内の薬パックに備わったRFIDタグから読み取った情報を、ロボットアーム(ピッキングロボット)の制御に用いる例を示す説明図。
使用例10において、管理義務のある薬品などを保管する保管庫システムを示す説明図。
同保管庫システムに利用される拡張アンテナ装置を使用したRFIDタグ読取システム1を示す説明図。
同保管庫システムにおいて、保管ケースの各薬品載置場所に重量センサを設置した例を示す説明図。
使用例11における拡張アンテナ装置を使用したRFIDタグ読取システムを示す説明図。
実施形態2に係るワイヤレス給電システムにおいて、拡張アンテナ装置を用いない使用態様を示す説明図。
同ワイヤレス給電システムにおいて、拡張アンテナ装置を用いる使用態様の一例を示す説明図。
使用例12における拡張アンテナ装置を示す斜視図。
使用例13における拡張アンテナ装置を用いてスマートフォンを充電するワイヤレス給電システムの例を示す説明図。
同拡張アンテナ装置の構成を示す説明図。
使用例14における拡張アンテナ装置を用いて電気自動車を充電するワイヤレス給電システムの例を示す説明図。
使用例15における拡張アンテナ装置を用いて電気自動車を充電するワイヤレス給電システムの例を示す説明図。
使用例16における拡張アンテナ装置を用いて電気自動車を充電するワイヤレス給電システムの例を示す説明図。
(a)~(c)は、使用例17における拡張アンテナ装置を使用したRFIDタグ読取システムを示す説明図。
同拡張アンテナ装置を構成する1つのコイルユニットに関わる構成を示す説明図。
【発明を実施するための形態】
【0009】
〔実施形態1〕
以下、本発明を、RFIDタグの読み取りを行うRFIDリーダの通信可能領域を拡張する拡張アンテナ装置に適用した一実施形態(以下、本実施形態を「実施形態1」という。)について説明する。
なお、ここでいう通信可能領域の「拡張」とは、RFIDリーダの通信可能領域よりも離れた場所での通信を可能にすることを意味し、通信可能領域の広さを拡げることや、RFIDリーダから離れた場所まで通信可能領域を移動させることなどを含む。
【0010】
図1は、本実施形態1に係るRFIDタグ読取システム1において、拡張アンテナ装置を用いない使用態様を示す説明図である。
本実施形態1のRFIDタグ読取システムは、リーダアンテナ10と、RFIDリーダ20と、PC(パソコン)等の情報処理装置30と、を含む。RFIDリーダ20は、通信ケーブル31によって情報処理装置30に接続されている。
(【0011】以降は省略されています)
この特許をJ-PlatPat(特許庁公式サイト)で参照する
関連特許
株式会社リコー
移動体
19日前
株式会社リコー
画像形成装置
今日
株式会社リコー
画像形成装置
5日前
株式会社リコー
印刷システム
28日前
株式会社リコー
感熱記録媒体
25日前
株式会社リコー
画像形成装置
24日前
株式会社リコー
生体情報測定装置
25日前
株式会社リコー
画像形成システム
24日前
株式会社リコー
液体を吐出する装置
25日前
株式会社リコー
電極及びその製造方法
26日前
株式会社リコー
機器及び異常判定方法
5日前
株式会社リコー
電極及びその製造方法
28日前
株式会社リコー
多孔質構造体の製造方法
28日前
株式会社リコー
画像形成装置及びシステム
3日前
株式会社リコー
延長トレイ及び画像形成装置
今日
株式会社リコー
定着装置、及び画像形成装置
5日前
株式会社リコー
塗装システム、及び塗装方法
28日前
株式会社リコー
印刷装置および印刷システム
24日前
株式会社リコー
液体吐出装置及び液体吐出方法
24日前
株式会社リコー
定着装置、及び、画像形成装置
28日前
株式会社リコー
定着装置、及び、画像形成装置
28日前
株式会社リコー
ベルト装置、及び、画像形成装置
24日前
株式会社リコー
表示装置、切替方法、プログラム
10日前
株式会社リコー
パーソナライズビデオメカニズム
26日前
株式会社リコー
液体吐出装置、及び液体吐出方法
28日前
株式会社リコー
レーザ照射装置、レーザ照射方法
28日前
株式会社リコー
システム、方法およびプログラム
24日前
株式会社リコー
媒体処理装置及び画像形成システム
24日前
株式会社リコー
媒体処理装置及び画像形成システム
24日前
株式会社リコー
媒体処理装置及び画像形成システム
24日前
株式会社リコー
媒体処理装置及び画像形成システム
今日
株式会社リコー
媒体処理装置及び画像形成システム
26日前
株式会社リコー
媒体処理装置及び画像形成システム
25日前
株式会社リコー
媒体処理装置及び画像形成システム
24日前
株式会社リコー
mRNA発現量の免疫学的評価方法
25日前
株式会社リコー
液体吐出ヘッドおよび液体吐出装置
25日前
続きを見る
他の特許を見る