TOP
|
特許
|
意匠
|
商標
特許ウォッチ
Twitter
他の特許を見る
10個以上の画像は省略されています。
公開番号
2025144586
公報種別
公開特許公報(A)
公開日
2025-10-03
出願番号
2024044301
出願日
2024-03-20
発明の名称
ベルト装置、及び、画像形成装置
出願人
株式会社リコー
代理人
個人
主分類
G03G
15/16 20060101AFI20250926BHJP(写真;映画;光波以外の波を使用する類似技術;電子写真;ホログラフイ)
要約
【課題】補正機構によって傾斜されるローラ部材の幅方向の移動を規制する規制部材やローラ部材を摩耗しにくくする。
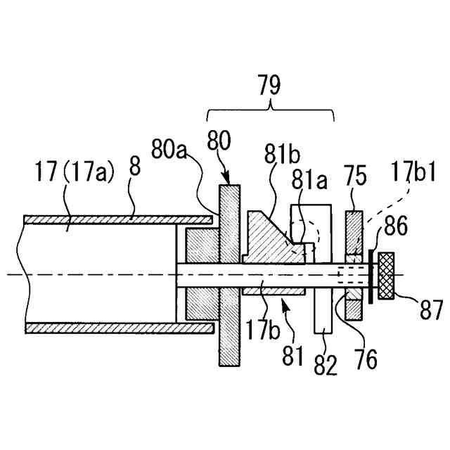
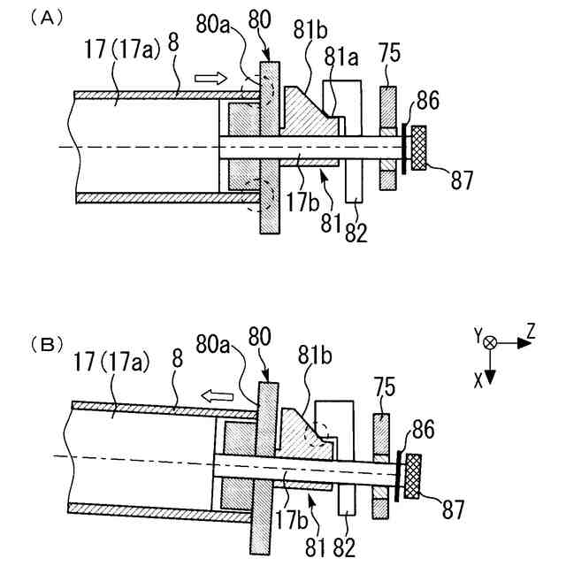
【解決手段】複数のローラ部材に張架・支持された中間転写ベルト8(ベルト部材)と、中間転写ベルト8が幅方向に移動する動作に連動して複数のローラ部材のうち補正ローラ17(1つのローラ部材)を傾斜させる補正機構79と、補正ローラ17の軸部17bを回転可能に保持する搖動側板75(保持部材)と、が設けられている。また、補正ローラ17の幅方向の移動を規制するネジ部材87(規制部材)が、軸部17bにおいて搖動側板75に対して幅方向の外側に、搖動側板75に間接的又は直接的に接触可能に配置されている。そして、ネジ部材87は、補正ローラ17とともに一体的に回転可能に軸部17bに固定されている。
【選択図】図4
特許請求の範囲
【請求項1】
複数のローラ部材に張架・支持されたベルト部材と、
前記ベルト部材が幅方向に移動する動作に連動して、前記複数のローラ部材のうち1つのローラ部材を傾斜させる補正機構と、
前記1つのローラ部材の軸部を回転可能に保持する保持部材と、
前記軸部において前記保持部材に対して幅方向の外側に前記保持部材に間接的又は直接的に接触可能に配置されて、前記1つのローラ部材の幅方向の移動を規制する規制部材と、
を備え、
前記規制部材は、前記1つのローラ部材とともに一体的に回転可能に前記軸部に固定されたことを特徴とするベルト装置。
続きを表示(約 650 文字)
【請求項2】
前記軸部において前記保持部材と前記規制部材との間に、少なくとも表面が低摩擦材料で形成された中間部材が設けられたことを特徴とする請求項1に記載のベルト装置。
【請求項3】
前記規制部材の外径が前記中間部材の内径よりも大きいことを特徴とする請求項2に記載のベルト装置。
【請求項4】
前記規制部材は、少なくとも表面が低摩擦材料で形成されたことを特徴とする請求項1に記載のベルト装置。
【請求項5】
前記規制部材は、前記軸部に対して着脱可能に設置されたことを特徴とする請求項1又は請求項2に記載のベルト装置。
【請求項6】
前記規制部材は、前記軸部の端面に形成されたネジ穴に螺合されたネジ部材であることを特徴とする請求項1又は請求項2に記載のベルト装置。
【請求項7】
前記規制部材は、前記軸部の端部に圧入されたことを特徴とする請求項1又は請求項2に記載のベルト装置。
【請求項8】
前記規制部材は、前記軸部の端部に接着又は溶接されたことを特徴とする請求項1又は請求項2に記載のベルト装置。
【請求項9】
前記規制部材は、前記軸部の端部にカシメられたことを特徴とする請求項1又は請求項2に記載のベルト装置。
【請求項10】
前記規制部材は、金属材料で形成されたことを特徴とする請求項1又は請求項2に記載のベルト装置。
(【請求項11】以降は省略されています)
発明の詳細な説明
【技術分野】
【0001】
この発明は、所定方向に走行するベルト部材が設置されたベルト装置と、それを備えた複写機、プリンタ、ファクシミリ、又は、それらの複合機等の画像形成装置と、に関するものである。
続きを表示(約 1,900 文字)
【背景技術】
【0002】
従来から、画像形成装置におけるベルト装置において、中間転写ベルトなどのベルト部材のベルト寄りを補正する補正機構が設置されたものが知られている(例えば、特許文献1参照。)。
補正機構は、ベルト部材が幅方向に移動(ベルト寄り)する動作に連動して、ベルト部材を張架・支持する複数のローラ部材のうち1つのローラ部材を傾斜させて、ベルト部材を逆方向に移動させるものである。
【0003】
一方、特許文献1には、補正機構によって傾斜されるローラ部材の幅方向の移動を規制するEリングなどの規制部材を、ローラ部材を回転可能に支持する支持部材に対して幅方向外側に中間部材を介して、ローラ部材の軸部に設置する技術が開示されている。
【発明の概要】
【発明が解決しようとする課題】
【0004】
従来のベルト装置は、規制部材がローラ部材の回転にともない連れ回らずに、ローラ部材が規制部材に摺接して少なくとも一方が摩耗してしまい、ベルト部材のベルト寄りを補正する機能が発揮されにくくなってしまうことがあった。
【0005】
この発明は、上述のような課題を解決するためになされたもので、補正機構によって傾斜されるローラ部材の幅方向の移動を規制する規制部材やローラ部材が摩耗しにくい、ベルト装置、及び、画像形成装置を提供することにある。
【課題を解決するための手段】
【0006】
この発明におけるベルト装置は、複数のローラ部材に張架・支持されたベルト部材と、前記ベルト部材が幅方向に移動する動作に連動して、前記複数のローラ部材のうち1つのローラ部材を傾斜させる補正機構と、前記1つのローラ部材の軸部を回転可能に保持する保持部材と、前記軸部において前記保持部材に対して幅方向の外側に前記保持部材に間接的又は直接的に接触可能に配置されて、前記1つのローラ部材の幅方向の移動を規制する規制部材と、を備え、前記規制部材は、前記1つのローラ部材とともに一体的に回転可能に前記軸部に固定されたものである。
【発明の効果】
【0007】
本発明によれば、補正機構によって傾斜されるローラ部材の幅方向の移動を規制する規制部材やローラ部材が摩耗しにくい、ベルト装置、及び、画像形成装置を提供することができる。
【図面の簡単な説明】
【0008】
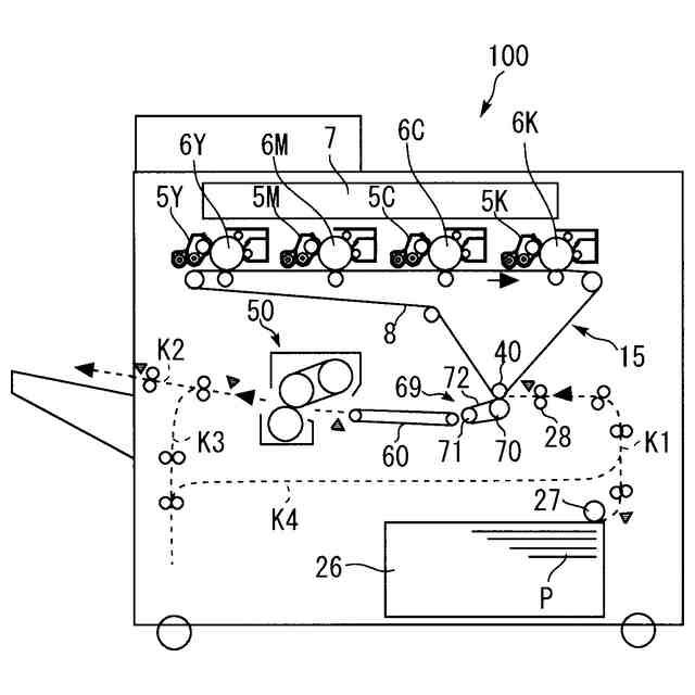
この発明の実施の形態における画像形成装置を示す全体構成図である。
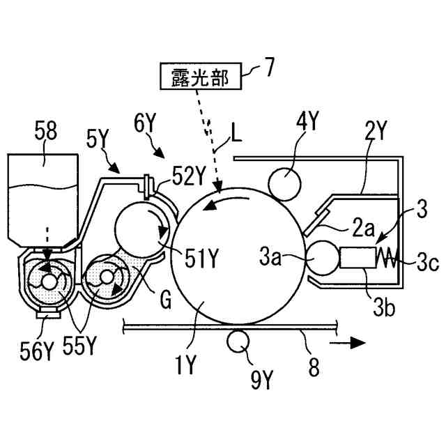
作像部の一部を拡大して示す構成図である。
中間転写ベルト装置とその近傍とを示す概略図である。
中間転写ベルトと補正ローラとの幅方向一端側を示す断面図である。
中間転写ベルト装置の一部を示す構成図である。
中間転写ベルトのベルト寄りが補正される動作を示す断面図である。
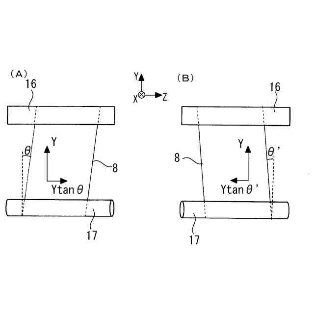
中間転写ベルトのベルト寄りが補正されるメカニズムを説明するための図である。
中間転写ベルト装置の要部を示す上面図である。
中間転写ベルトと補正ローラとを幅方向全域にわたって示す断面図である。
比較例としての、中間転写ベルトと補正ローラとの幅方向一端側を示す断面図である。
変形例1としての、中間転写ベルトと補正ローラとの幅方向一端側を示す断面図である。
変形例2としての、中間転写ベルトと補正ローラとの幅方向一端側を示す断面図である。
【発明を実施するための形態】
【0009】
以下、この発明を実施するための形態について、図面を参照して詳細に説明する。なお、各図中、同一又は相当する部分には同一の符号を付しており、その重複説明は適宜に簡略化ないし省略する。
【0010】
まず、図1及び図2にて、画像形成装置100における全体の構成・動作について説明する。
図1は画像形成装置としてのプリンタを示す構成図であり、図2はその作像部の一部を示す拡大図である。
図1に示すように、画像形成装置本体100の中央には、ベルト装置としての中間転写ベルト装置15が設置されている。また、中間転写ベルト装置15の中間転写ベルト8に対向するように、各色(イエロー、マゼンタ、シアン、ブラック)に対応した作像部6Y、6M、6C、6Kが並設されている。さらに、中間転写ベルト装置15の下方には、2次転写ベルト装置69が設置されている。
(【0011】以降は省略されています)
この特許をJ-PlatPat(特許庁公式サイト)で参照する
関連特許
株式会社リコー
綴じ装置
1か月前
株式会社リコー
画像形成装置
8日前
株式会社リコー
画像形成装置
1か月前
株式会社リコー
画像形成装置
27日前
株式会社リコー
画像形成装置
19日前
株式会社リコー
液体塗布装置
12日前
株式会社リコー
画像形成装置
4日前
株式会社リコー
画像形成装置
26日前
株式会社リコー
印刷システム
8日前
株式会社リコー
画像形成装置
1か月前
株式会社リコー
履帯式走行体
1か月前
株式会社リコー
画像形成装置
8日前
株式会社リコー
感熱記録媒体
5日前
株式会社リコー
映像表示装置
29日前
株式会社リコー
液体吐出装置
1か月前
株式会社リコー
画像形成装置
8日前
株式会社リコー
画像形成装置
11日前
株式会社リコー
画像形成装置
1か月前
株式会社リコー
画像形成装置
1か月前
株式会社リコー
画像投射システム
19日前
株式会社リコー
投薬管理システム
27日前
株式会社リコー
印刷応答補償機構
12日前
株式会社リコー
画像形成システム
4日前
株式会社リコー
拡張アンテナ装置
11日前
株式会社リコー
生体情報測定装置
5日前
株式会社リコー
情報処理システム
29日前
株式会社リコー
カラー画像形成装置
1か月前
株式会社リコー
液体を吐出する装置
5日前
株式会社リコー
マーキングシステム
11日前
株式会社リコー
電極及びその製造方法
8日前
株式会社リコー
電極及びその製造方法
6日前
株式会社リコー
測定装置および測定方法
28日前
株式会社リコー
測定装置および測定方法
28日前
株式会社リコー
多孔質構造体の製造方法
8日前
株式会社リコー
測定装置および測定方法
28日前
株式会社リコー
給送装置及び画像形成装置
1か月前
続きを見る
他の特許を見る