TOP
|
特許
|
意匠
|
商標
特許ウォッチ
Twitter
他の特許を見る
10個以上の画像は省略されています。
公開番号
2025138119
公報種別
公開特許公報(A)
公開日
2025-09-25
出願番号
2024036997
出願日
2024-03-11
発明の名称
液体塗布装置
出願人
株式会社リコー
代理人
弁理士法人酒井国際特許事務所
主分類
B41J
2/01 20060101AFI20250917BHJP(印刷;線画機;タイプライター;スタンプ)
要約
【課題】吐出ヘッドと洗浄機構との相対位置が変わっても、洗浄時において吐出ヘッドの洗浄機構に対する相対位置が適正となるように自動で調整することができる液体塗布装置を提供する。
【解決手段】吐出ヘッドを搭載するキャリッジと、キャリッジを水平面上で移動させる第1移動機構と、キャリッジを高さ方向に移動させる第2移動機構と、本体に固定された土台部と、水平面上で摺動可能となるように土台部に設置された板部と、板部に搭載され、吐出ヘッドのノズルをキャッピングするキャップ機構と、板部に搭載され、ノズルを洗浄するための洗浄液をノズルに噴射する洗浄機構と、第1移動機構によりキャリッジが第1位置に位置決めされ、第2移動機構によりキャリッジが第1位置からキャップ機構に向けて移動させられる場合に、ノズルがキャッピングされる位置となるように板部を土台部に対して摺動させるガイド手段と、を備える。
【選択図】図8
特許請求の範囲
【請求項1】
吐出ヘッドから液体を吐出して画像を形成する液体塗布装置であって、
前記吐出ヘッドを搭載するキャリッジと、
前記キャリッジを水平面上で移動させる第1移動機構と、
前記キャリッジを高さ方向に移動させる第2移動機構と、
前記液体塗布装置の本体に固定された土台部と、
前記土台部に対して水平面上で摺動可能となるように該土台部に設置された板部と、
前記板部に搭載され、前記吐出ヘッドのノズルをキャッピングするキャップ機構と、
前記板部に搭載され、前記ノズルを洗浄するための洗浄液を該ノズルに噴射する洗浄機構と、
前記第1移動機構により前記キャリッジが第1位置に位置決めされ、前記第2移動機構により前記キャリッジが前記第1位置から前記キャップ機構に向けて移動させられる場合に、前記ノズルがキャッピングされる位置となるように前記板部を前記土台部に対して摺動させるガイド手段と、
を備えた液体塗布装置。
続きを表示(約 1,200 文字)
【請求項2】
前記第2移動機構は、前記ノズルが前記キャップ機構でキャッピングされた状態から、前記キャリッジを前記第1位置まで移動させ、
前記第1移動機構は、前記キャリッジを前記第1位置から第2位置に位置決めし、
前記洗浄機構は、前記第2位置に位置する前記キャリッジに搭載された前記吐出ヘッドの前記ノズルに対して、前記洗浄液を噴射する請求項1に記載の液体塗布装置。
【請求項3】
前記ガイド手段は、
前記板部に立設され、先端部を有するピンと、
前記キャリッジに形成され、前記ピンを挿通させるための穴部と、
で構成された請求項1または2に記載の液体塗布装置。
【請求項4】
前記ガイド手段は、
前記キャリッジに立設され、先端部を有するピンと、
前記板部に形成され、前記ピンを挿通させるための穴部と、
で構成された請求項1または2に記載の液体塗布装置。
【請求項5】
前記ガイド手段は、
前記板部に立設され、先端部を有する2つのピンと、
前記キャリッジに形成され、前記2つのピンをそれぞれ挿通させるための2つの穴部と、
で構成された請求項1に記載の液体塗布装置。
【請求項6】
前記ガイド手段は、
前記キャリッジに立設され、先端部を有する2つのピンと、
前記板部に形成され、前記2つのピンをそれぞれ挿通させるための2つの穴部と、
で構成された請求項1に記載の液体塗布装置。
【請求項7】
前記2つの穴部のうち、一方の穴部は丸穴であり、他方の穴部が長穴であり、
前記他方の穴部の長軸の方向は、該他方の穴部の中心と前記一方の穴部の中心とを結ぶ方向である請求項5または6に記載の液体塗布装置。
【請求項8】
前記2つのピンの軸方向の長さは、それぞれ異なる請求項5または6に記載の液体塗布装置。
【請求項9】
前記ガイド手段は、前記板部の前記キャップ機構を挟んで相対する位置から立設され、対向する面の間隔が前記板部側に向けて狭くなるテーパ形状を有する2つのガイド部材であり、
前記第1移動機構により前記キャリッジが第1位置に位置決めされ、前記第2移動機構により前記キャリッジが前記第1位置から前記キャップ機構に向けて移動させられる場合に、前記キャリッジの周縁部が前記対向する面のうちいずれか一方の面に当接することによって、前記板部は、前記ノズルがキャッピングされる位置となるように前記土台部に対して水平面上で摺動させられる請求項1または2に記載の液体塗布装置。
【請求項10】
印刷データを複数の印刷画像に分割し、前記印刷画像それぞれに対応する印刷領域において前記吐出ヘッドを走査して該吐出ヘッドから印刷面に液体を吐出させる請求項1または2に記載の液体塗布装置。
発明の詳細な説明
【技術分野】
【0001】
本発明は、液体塗布装置に関する。
続きを表示(約 2,300 文字)
【背景技術】
【0002】
インク等の液体を吐出して画像を形成するインクジェット装置または画像形成装置(または液体を吐出する装置)において、吐出ヘッドに対する洗浄機構の位置を調整する技術が知られている。
【0003】
このような洗浄機構を有するインクジェット装置または画像形成装置(または液体を吐出する装置)として、液体を吐出するノズルをノズル面に有する液体吐出ヘッドと、ノズル面を払拭する払拭部材と、払拭部材をノズル面に押し当てる、回転可能な押し当て部材と、払拭部材をノズル面に接触させ、かつ、液体吐出ヘッドと払拭部材を相対的に移動させる払拭動作を行う移動手段と、を有し、押し当て部材は、表面の一部にノズル面のノズル形成部に対応する凹部を備えた構成が開示されている(例えば特許文献1)。
【発明の概要】
【発明が解決しようとする課題】
【0004】
しかしながら、従来の技術においては、吐出ヘッドと洗浄機構との相対位置が変わると、洗浄機構の位置を印字前に手動で再調整しなければならないという課題がある。
【0005】
本発明は、上記に鑑みてなされたものであって、吐出ヘッドと洗浄機構との相対位置が変わっても、洗浄時において吐出ヘッドの洗浄機構に対する相対位置が適正となるように自動で調整することができる液体塗布装置を提供することを目的とする。
【課題を解決するための手段】
【0006】
上述した課題を解決し、目的を達成するために、本発明は、吐出ヘッドから液体を吐出して画像を形成する液体塗布装置であって、前記吐出ヘッドを搭載するキャリッジと、前記キャリッジを水平面上で移動させる第1移動機構と、前記キャリッジを高さ方向に移動させる第2移動機構と、前記液体塗布装置の本体に固定された土台部と、前記土台部に対して水平面上で摺動可能となるように該土台部に設置された板部と、前記板部に搭載され、前記吐出ヘッドのノズルをキャッピングするキャップ機構と、前記板部に搭載され、前記ノズルを洗浄するための洗浄液を該ノズルに噴射する洗浄機構と、前記第1移動機構により前記キャリッジが第1位置に位置決めされ、前記第2移動機構により前記キャリッジが前記第1位置から前記キャップ機構に向けて移動させられる場合に、前記ノズルがキャッピングされる位置となるように前記板部を前記土台部に対して摺動させるガイド手段と、を備えたことを特徴とする。
【発明の効果】
【0007】
本発明によれば、吐出ヘッドと洗浄機構との相対位置が変わっても、洗浄時において吐出ヘッドの洗浄機構に対する相対位置が適正となるように自動で調整することができる。
【図面の簡単な説明】
【0008】
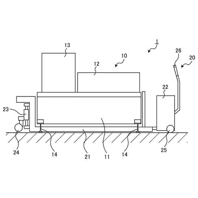
図1は、実施形態に係る液体塗布装置の全体構成を示す外観の一例を示す図である。
図2は、実施形態に係る液体塗布装置の印刷装置に対するキャリッジの走査が可能な範囲を示す図である。
図3は、実施形態に係る液体塗布装置のキャリッジの移動機構の構成の一例を示す図である。
図4は、実施形態に係る液体塗布装置がキャリッジの走査範囲外へ印刷する場合の動作の概要を説明する図である。
図5は、実施形態に係る液体塗布装置において台車で印刷装置を運んでいる状態の一例を示す図である。
図6は、実施形態に係る液体塗布装置において台車から印刷装置を印刷面に設置した状態の一例を示す図である。
図7は、実施形態に係る液体塗布装置のハードウェア構成の一例を示す図である。
図8は、実施形態に係る液体塗布装置の維持機構の構成の一例を示す図である。
図9は、実施形態に係る液体塗布装置の維持機構の段ねじの拡大図である。
図10は、実施形態に係る液体塗布装置の維持機構の穴部に維持機構のピンが挿入する場合の動作を説明する図である。
図11は、実施形態に係る液体塗布装置のインク吐出ヘッドの洗浄動作の説明する図である。
図12は、実施形態に係る液体塗布装置のインク吐出ヘッドの洗浄動作の説明する図である。
図13は、変形例1に係る液体塗布装置のキャリッジの移動機構の構成の一例を示す図である。
図14は、変形例1に係る液体塗布装置のインク吐出ヘッドのキャッピン時の動作の説明する図である。
図15は、変形例2に係る液体塗布装置のキャリッジの移動機構の構成の一例を示す図である。
【0009】
以下に、図面を参照しながら、本発明に係る液体塗布装置の実施形態を詳細に説明する。また、以下の実施形態によって本発明が限定されるものではなく、以下の実施形態における構成要素には、当業者が容易に想到できるもの、実質的に同一のもの、およびいわゆる均等の範囲のものが含まれる。さらに、以下の実施形態の要旨を逸脱しない範囲で構成要素の種々の省略、置換、変更および組み合わせを行うことができる。
【0010】
(液体塗布装置の全体構成および動作概要)
図1は、実施形態に係る液体塗布装置の全体構成を示す外観の一例を示す図である。図2は、実施形態に係る液体塗布装置の印刷装置に対するキャリッジの走査が可能な範囲を示す図である。図3は、実施形態に係る液体塗布装置のキャリッジの移動機構の構成の一例を示す図である。図1~図3を参照しながら、本実施形態に係る液体塗布装置1の全体構成および動作概要について説明する。
(【0011】以降は省略されています)
この特許をJ-PlatPat(特許庁公式サイト)で参照する
関連特許
株式会社リコー
移動体
21日前
株式会社リコー
画像形成装置
7日前
株式会社リコー
画像形成装置
2日前
株式会社リコー
機器及び異常判定方法
7日前
株式会社リコー
画像形成装置及びシステム
5日前
株式会社リコー
延長トレイ及び画像形成装置
2日前
株式会社リコー
定着装置、及び画像形成装置
7日前
株式会社リコー
画像読取装置及び画像読取方法
1日前
株式会社リコー
表示装置、切替方法、プログラム
12日前
株式会社リコー
媒体処理装置及び画像形成システム
2日前
株式会社リコー
シート給送装置及び画像形成システム
8日前
株式会社リコー
加熱装置、定着装置及び画像形成装置
6日前
株式会社リコー
読取装置、読取方法およびプログラム
2日前
株式会社リコー
通信装置、通信方法、及びプログラム
5日前
株式会社リコー
通信端末、通信方法、及びプログラム
5日前
株式会社リコー
光源装置、画像投影装置および調整方法
12日前
株式会社リコー
通信装置、状態制御方法、及びプログラム
8日前
株式会社リコー
ノード、データ共有方法、及びプログラム
19日前
株式会社リコー
画像形成装置、及び、プロセスカートリッジ
12日前
株式会社リコー
画像形成装置、情報処理方法及びプログラム
5日前
株式会社リコー
画像形成装置、情報処理方法およびプログラム
6日前
株式会社リコー
画像読取装置、画像判定方法およびプログラム
5日前
株式会社リコー
画像形成装置、画像処理方法およびプログラム
今日
株式会社リコー
モノクロ用光走査装置及びモノクロ画像形成装置
5日前
株式会社リコー
表示装置、表示方法、プログラム、表示システム
20日前
株式会社リコー
対話装置、対話システム、対話方法及びプログラム
19日前
株式会社リコー
画像読取装置、用紙斜行防止装置及び画像形成装置
今日
株式会社リコー
情報処理装置、情報処理システムおよび情報処理方法
19日前
株式会社リコー
情報処理システム、情報処理装置および情報処理方法
19日前
株式会社リコー
電気機器、画像形成装置、制御方法、及びプログラム
15日前
株式会社リコー
情報処理装置、情報処理システム、情報処理方法及びプログラム
19日前
株式会社リコー
情報処理装置、情報処理システム、情報処理方法及びプログラム
21日前
株式会社リコー
情報処理装置、画面作成方法、プログラム、及び情報処理システム
15日前
株式会社リコー
情報処理装置、画面作成方法、プログラム、及び情報処理システム
6日前
株式会社リコー
情報処理装置、情報処理方法、プログラム、および情報処理システム
19日前
株式会社リコー
手書き入力装置、手書き入力システム、手書き入力方法、プログラム
19日前
続きを見る
他の特許を見る