TOP
|
特許
|
意匠
|
商標
特許ウォッチ
Twitter
他の特許を見る
10個以上の画像は省略されています。
公開番号
2025148810
公報種別
公開特許公報(A)
公開日
2025-10-08
出願番号
2024049120
出願日
2024-03-26
発明の名称
情報処理装置、情報処理システム、情報処理方法及びプログラム
出願人
株式会社リコー
代理人
個人
,
個人
主分類
H04M
11/00 20060101AFI20251001BHJP(電気通信技術)
要約
【課題】電子機器で生成されたデータの欠落を抑制する。
【解決手段】データを管理する他の情報処理装置とネットワークを介して通信可能な情報処理装置が、電子機器で生成されたデータを他の情報処理装置に送信する送信部と、データの処理結果を他の情報処理装置から受信する受信部と、処理結果が示す第1の情報又は第2の情報に応じて通知を制御する通知制御部と、第2の情報に応じた通知に基づいて、データの送信を停止する停止制御部と、を備え、通知制御部は、第2の情報が所定の条件を示す第3の情報を含む場合、第1の情報に応じた通知として送信する。
【選択図】図5
特許請求の範囲
【請求項1】
データを管理する他の情報処理装置とネットワークを介して通信可能な情報処理装置であって、
電子機器で生成されたデータを前記他の情報処理装置に送信する送信部と、
前記データの処理結果を前記他の情報処理装置から受信する受信部と、
前記処理結果が示す第1の情報又は第2の情報に応じて通知を制御する通知制御部と、
前記第2の情報に応じた通知に基づいて、前記データの送信を停止する停止制御部と、
を備え、
前記通知制御部は、前記第2の情報が所定の条件を示す第3の情報を含む場合、前記第1の情報に応じた通知として送信する、
情報処理装置。
続きを表示(約 1,300 文字)
【請求項2】
前記第3の情報は、予め定めたエラーを示す情報である、
請求項1に記載の情報処理装置。
【請求項3】
前記予め定めたエラーは、時間が経過することで解消するエラーを含む、
請求項2に記載の情報処理装置。
【請求項4】
前記予め定めたエラーは、前記他の情報処理装置のメンテナンス中に発生するエラーを含む、
請求項2に記載の情報処理装置。
【請求項5】
前記送信部は、前記処理結果が前記第2の情報を示す場合、予め定めた時間間隔が経過した後に前記データを再送信する、
請求項1から4のいずれかに記載の情報処理装置。
【請求項6】
前記電子機器から取得した前記データを記憶装置に記憶する取得部と、
前記第1の情報に応じた通知に基づいて、前記データを前記記憶装置から削除する削除部と、
をさらに備え、
前記送信部は、前記時間間隔で前記記憶装置から取得した前記データを前記他の情報処理装置に送信する、
請求項5に記載の情報処理装置。
【請求項7】
前記停止制御部は、前記第2の情報に応じた通知を受けた回数を計数する、
請求項1から4のいずれかに記載の情報処理装置。
【請求項8】
前記停止制御部は、前記回数が予め定めた閾値以上となった場合、前記データの送信を停止する、
請求項7に記載の情報処理装置。
【請求項9】
第1の情報処理装置と第2の情報処理装置とがネットワークを介して通信可能な情報処理システムであって、
前記第1の情報処理装置は、
電子機器で生成されたデータを前記第2の情報処理装置に送信する送信部と、
前記データの処理結果を前記第2の情報処理装置から受信する受信部と、
前記処理結果が示す第1の情報又は第2の情報に応じて通知を制御する通知制御部と、
前記第2の情報に応じた通知に基づいて、前記データの送信を停止する停止制御部と、
を備え、
前記第2の情報処理装置は、
前記第1の情報処理装置から受信した前記データを記憶装置に記憶する記憶制御部を備え、
前記通知制御部は、前記第2の情報が所定の条件を示す第3の情報を含む場合、前記第1の情報に応じた通知として送信する、
情報処理システム。
【請求項10】
データを管理する他の情報処理装置とネットワークを介して通信可能な情報処理装置が、
電子機器で生成されたデータを前記他の情報処理装置に送信する手順と、
前記データの処理結果を前記他の情報処理装置から受信する手順と、
前記処理結果が示す第1の情報又は第2の情報に応じて通知を制御する通知制御部と、
前記第2の情報に応じた通知に基づいて、前記データの送信を停止する停止制御部と、
を実行し、
前記制御する手順は、前記第2の情報が所定の条件を示す第3の情報を含む場合、前記第1の情報に応じた通知として送信する、
情報処理方法。
(【請求項11】以降は省略されています)
発明の詳細な説明
【技術分野】
【0001】
本発明は、情報処理装置、情報処理システム、情報処理方法及びプログラムに関する。
続きを表示(約 1,800 文字)
【背景技術】
【0002】
近年、事務機器、産業機器、自動車、医療機器又は各種センサ等の電子機器を、インターネット等の通信ネットワークに接続可能とするIoT(Internet of Things)技術が利用されている。そのような電子機器は、例えば、エッジデバイス、IoT機器又はIoTデバイス等とも呼ばれている。そのようなエッジデバイス等が検知あるいは生成した様々なデータをインターネット経由でサーバ等に収集し、活用する技術が用いられている。
【0003】
従来よりデータの送信に失敗した回数に応じて、データの送信を制限する技術が知られている。例えば、特許文献1には、メールアドレス毎に、送信に失敗したエラー回数をカウントし、エラー回数が閾値を超えるメールアドレスへのメール送信を制御する未到達メール通知システムが開示されている。
【発明の概要】
【発明が解決しようとする課題】
【0004】
しかしながら、継続してデータを記録することが必要な仕組み(例えば、食品管理における環境センサなど)において、本来エラーではない状態(例えば、メンテナンス中など)に予期せぬエラーとして通知されることに伴い、動作が停止してしまうなどによって記録すべきデータが失われてしまう不都合が生じる場合がある。このような場合、従来技術では、データの送信を制限することとなり、データの欠落が発生することになってしまう。例えば、従来技術を用いても、データの送信に失敗した理由に関わらずデータの送信を制限しているため、データの欠落を抑制することができない。
【0005】
本発明の一実施形態は、上記のような課題に鑑みて、電子機器で生成されたデータの欠落を抑制することを目的とする。
【課題を解決するための手段】
【0006】
本発明の一実施形態である情報処理装置は、データを管理する他の情報処理装置とネットワークを介して通信可能な情報処理装置であって、電子機器で生成されたデータを他の情報処理装置に送信する送信部と、データの処理結果を他の情報処理装置から受信する受信部と、処理結果が示す第1の情報又は第2の情報に応じて通知を制御する通知制御部と、第2の情報に応じた通知に基づいて、データの送信を停止する停止制御部と、を備え、通知制御部は、第2の情報が所定の条件を示す第3の情報を含む場合、第1の情報に応じた通知として送信する。
【発明の効果】
【0007】
本発明の一実施形態によれば、電子機器で生成されたデータの欠落を抑制できる。
【図面の簡単な説明】
【0008】
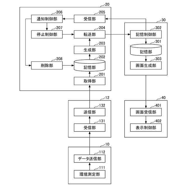
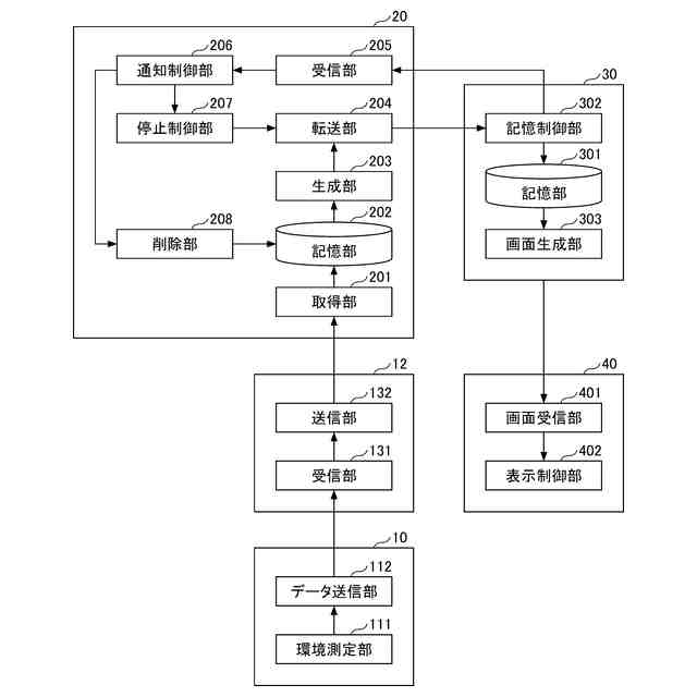
一実施形態における情報処理システムの全体構成の一例を示すブロック図である。
一実施形態におけるコンピュータのハードウェア構成の一例を示すブロック図である。
一実施形態における環境センサのハードウェア構成の一例を示すブロック図である。
一実施形態における中継機のハードウェア構成の一例を示すブロック図である。
一実施形態における情報処理システムの機能構成の一例を示すブロック図である。
一実施形態におけるデータ収集処理の一例を示すシーケンス図である。
一実施形態における環境データの一例を示す図である。
一実施形態におけるデータ登録処理の一例を示すシーケンス図である。
一実施形態における送信データの一例を示す図である。
一実施形態におけるエラー情報の一例を示す図である。
一実施形態における画面表示処理の一例を示すシーケンス図である。
業務画面の一例を示す図である。
【発明を実施するための形態】
【0009】
以下、図面を参照しながら、本発明の実施の形態について、詳細に説明する。なお、図面中において同じ機能を有する構成部には同じ番号を付し、重複説明を省略する。
【0010】
[実施形態]
本発明の一実施形態は、環境センサにより生成された環境データを用いた情報処理を行う情報処理システムである。環境センサは、1以上のセンサ素子を備え、設置された環境に関する1以上の情報を取得可能なセンサである。
(【0011】以降は省略されています)
この特許をJ-PlatPat(特許庁公式サイト)で参照する
関連特許
株式会社リコー
移動体
24日前
株式会社リコー
画像形成装置
2日前
株式会社リコー
画像形成装置
10日前
株式会社リコー
画像形成装置
5日前
株式会社リコー
画像形成装置
2日前
株式会社リコー
機器及び異常判定方法
10日前
株式会社リコー
画像形成装置及びシステム
8日前
株式会社リコー
定着装置、及び画像形成装置
10日前
株式会社リコー
延長トレイ及び画像形成装置
5日前
株式会社リコー
画像読取装置及び画像読取方法
4日前
株式会社リコー
表示装置、切替方法、プログラム
15日前
株式会社リコー
樹脂粒子、及び樹脂粒子の製造方法
2日前
株式会社リコー
媒体処理装置及び画像形成システム
5日前
株式会社リコー
シート給送装置及び画像形成システム
11日前
株式会社リコー
通信端末、通信方法、及びプログラム
8日前
株式会社リコー
通信装置、通信方法、及びプログラム
8日前
株式会社リコー
加熱装置、定着装置及び画像形成装置
9日前
株式会社リコー
読取装置、読取方法およびプログラム
5日前
株式会社リコー
光源装置、画像投影装置および調整方法
15日前
株式会社リコー
ノード、データ共有方法、及びプログラム
22日前
株式会社リコー
通信装置、状態制御方法、及びプログラム
11日前
株式会社リコー
画像形成装置、及び、プロセスカートリッジ
15日前
株式会社リコー
画像形成装置、情報処理方法及びプログラム
8日前
株式会社リコー
画像形成装置、情報処理方法およびプログラム
9日前
株式会社リコー
画像読取装置、画像判定方法およびプログラム
8日前
株式会社リコー
画像形成装置、画像処理方法およびプログラム
3日前
株式会社リコー
モノクロ用光走査装置及びモノクロ画像形成装置
8日前
株式会社リコー
表示装置、表示方法、プログラム、表示システム
23日前
株式会社リコー
画像読取装置、用紙斜行防止装置及び画像形成装置
3日前
株式会社リコー
対話装置、対話システム、対話方法及びプログラム
22日前
株式会社リコー
情報処理装置、情報処理システムおよび情報処理方法
22日前
株式会社リコー
電気機器、画像形成装置、制御方法、及びプログラム
18日前
株式会社リコー
情報処理システム、情報処理装置および情報処理方法
22日前
株式会社リコー
情報処理装置、設定システム、プログラム、情報処理方法
2日前
株式会社リコー
情報処理装置、画像形成装置、情報処理方法及びプログラム
2日前
株式会社リコー
情報処理装置、情報処理システム、情報処理方法及びプログラム
24日前
続きを見る
他の特許を見る