TOP
|
特許
|
意匠
|
商標
特許ウォッチ
Twitter
他の特許を見る
10個以上の画像は省略されています。
公開番号
2025163963
公報種別
公開特許公報(A)
公開日
2025-10-30
出願番号
2024067641
出願日
2024-04-18
発明の名称
情報処理装置、画像形成装置、情報処理方法及びプログラム
出願人
株式会社リコー
代理人
個人
,
個人
主分類
G06F
21/31 20130101AFI20251023BHJP(計算;計数)
要約
【課題】ユーザ認証のための追加のコストをかけずに、セキュリティの強度を向上させることを、目的の1つとする。
【解決手段】所定のシステムを利用するユーザを識別する識別情報を含むユーザ情報を保存する記憶部と、所定のシステムを利用するユーザの存在をモニタするモニタ部と、ユーザ情報に基づいて、ユーザを認証する認証処理部と、を有し、認証処理部は、ユーザ認証の後、かつ、ユーザによる所定のシステムの利用完了前に、モニタ部によってユーザが所定の範囲を超えて所定のシステムから離れたことが検出された場合、ユーザの認証情報または所定のシステムの操作画面をリセットする、情報処理装置である。
【選択図】図6
特許請求の範囲
【請求項1】
所定のシステムを利用するユーザを識別する識別情報を含むユーザ情報を保存する記憶部と、
前記所定のシステムを利用する前記ユーザの存在をモニタするモニタ部と、
前記ユーザ情報に基づいて、前記ユーザを認証する認証処理部と、を有し、
前記認証処理部は、ユーザ認証の後、かつ、前記ユーザによる前記所定のシステムの利用完了前に、前記モニタ部によって前記ユーザが所定の範囲を超えて前記所定のシステムから離れたことが検出された場合、前記ユーザの認証情報または前記所定のシステムの操作画面をリセットする、情報処理装置。
続きを表示(約 1,600 文字)
【請求項2】
前記記憶部は、前記ユーザに前記所定のシステムの利用を許可するカードのカード情報、または前記ユーザの生体情報を前記識別情報として保存し、
前記認証処理部は、前記識別情報に基づく第1の認証の後に、前記ユーザのパスワードの入力による第2の認証のための入力画面を前記操作画面に表示させ、前記入力画面の表示後に前記モニタ部によって前記ユーザが前記所定の範囲を超えて前記所定のシステムから離れたことが検出された場合、前記第1の認証と前記入力画面とをリセットする、請求項1に記載の情報処理装置。
【請求項3】
前記記憶部は、前記ユーザの近距離無線通信端末の端末情報を前記ユーザ情報として保存し、
前記モニタ部は、前記近距離無線通信端末と近距離無線通信する近距離無線通信部であり、
前記認証処理部は、前記近距離無線通信部で受信される前記近距離無線通信端末からの電波の強度が閾値よりも小さくなったときに、前記ユーザの認証情報と前記操作画面をリセットする、請求項1に記載の情報処理装置。
【請求項4】
前記記憶部は、前記端末情報と、前記ユーザに前記所定のシステムの利用を許可するカード情報とを前記ユーザ情報として保存し、
前記認証処理部は、前記カード情報に基づく第1の認証と、前記端末情報に基づく第2の認証とが一致しない場合、前記操作画面にエラー画面を表示させる、請求項3に記載の情報処理装置。
【請求項5】
前記認証処理部は、前記端末情報に基づく前記第2の認証を実行するか否かを切り替える設定画面を前記操作画面に表示させる、請求項4に記載の情報処理装置。
【請求項6】
前記第2の認証を実行しないように設定されている場合、前記認証処理部は、前記第1の認証が成功した時点において、前記近距離無線通信部で受信する電波が最も強い端末を前記近距離無線通信端末として前記ユーザと対応付け、前記近距離無線通信部によって検出される前記端末からの前記電波の強度が前記閾値よりも小さくなったときに、前記第1の認証及び前記操作画面をリセットする、請求項5に記載の情報処理装置。
【請求項7】
前記認証処理部は前記識別情報に基づくユーザ認証の後に、前記モニタ部によって前記ユーザが前記所定の範囲を超えて前記所定のシステムから離れたことが検出された場合に、前記操作画面のリセットを実行するか否かを選択する設定画面を前記操作画面に表示させる請求項1に記載の情報処理装置。
【請求項8】
前記モニタ部はタイマを含み、前記認証処理部は、前記識別情報に基づくユーザ認証から所定の時間、前記操作画面への入力操作がない場合に、前記ユーザが前記所定の範囲を超えて前記所定のシステムから離れたと決定して、前記ユーザの認証情報または前記所定のシステムの前記操作画面をリセットする、請求項1に記載の情報処理装置。
【請求項9】
請求項1から8のいずれか一項に記載の情報処理装置と、
画像形成システムと、
を有し、
前記所定のシステムは、前記画像形成システムである、画像形成装置。
【請求項10】
所定のシステムを利用するユーザを識別する識別情報を含むユーザ情報を保存するステップと、
前記所定のシステムを利用する前記ユーザの存在をモニタするステップと、
前記ユーザ情報に基づいて、前記ユーザを認証するステップと、
ユーザ認証の後、かつ、前記ユーザによる前記所定のシステムの利用完了前に、前記ユーザが所定の範囲を超えて前記所定のシステムから離れたことが検出された場合、前記ユーザの認証情報または前記所定のシステムの操作画面をリセットするステップと、を有する、情報処理装置の情報処理方法。
(【請求項11】以降は省略されています)
発明の詳細な説明
【技術分野】
【0001】
本発明は、情報処理装置、画像形成装置、情報処理方法及びプログラムに関する。
続きを表示(約 3,100 文字)
【背景技術】
【0002】
近年の高度情報化社会では、セキュリティ強化に対する要請がより高まっている。たとえば複数の機能を備えた複合機であるMFP(Multifunction Peripheral)のように、多数のユーザによる使用が予定されているシステムでは、高いセキュリティが求められる。MFPを利用する利用者(以下、「MFPユーザ」と呼ぶ)がログインする際に、IC(Integrated Circuit)カードのタッチやスワイプ等による1次認証に続いて、MFP操作部の画面にてパスワードを入力する2次認証を実行する多要素認証が知られている。多要素認証において、MFPユーザによる1次認証が完了した後に、2次認証用のパスワードを知っている悪意の第三者による成りすましを防止するために、顔認証を追加する技術が提案されている(たとえば、特許文献1参照)。
【発明の概要】
【発明が解決しようとする課題】
【0003】
特許文献1に開示される技術では、顔認証に用いるカメラが必要となるため、追加認証の導入コストがかかるという問題があった。
【0004】
本発明の一実施形態は、上記の問題点に鑑みてなされたものであり、ユーザ認証のための追加のコストをかけずに、セキュリティの強度を向上させることを、目的の1つとする。
【課題を解決するための手段】
【0005】
本発明の一実施形態に係る情報処理装置は、所定のシステムを利用するユーザを識別する識別情報を含むユーザ情報を保存する記憶部と、前記所定のシステムを利用する前記ユーザの存在をモニタするモニタ部と、前記ユーザ情報に基づいて、前記ユーザを認証する認証処理部と、を有し、前記認証処理部は、ユーザ認証の後、かつ、前記ユーザによる前記所定のシステムの利用完了前に、前記モニタ部によって前記ユーザが所定の範囲を超えて前記所定のシステムから離れたことが検出された場合、前記ユーザの認証情報または前記所定のシステムの操作画面をリセットする。
【発明の効果】
【0006】
ユーザ認証のための追加のコストをかけずに、セキュリティ強度を向上させることができる。
【図面の簡単な説明】
【0007】
図1Aは、実施形態の情報処理技術の適用場面の一例を示す図である。
図1Bは、図1Aの処理を行う情報処理装置の機能ブロック図である。
図1Cは、図1Bの情報処理装置の基本動作を示すフローチャートである。
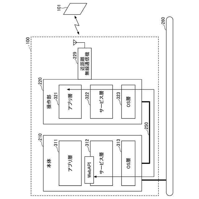
図2は、第1実施形態に係る画像形成装置のハードウェア構成の一例を示すブロック図である。
図3は、第1実施形態に係る画像形成装置のソフトウェア構成の一例を示すブロック図である。
図4は、第1実施形態に係る画像形成装置の機能ブロック図である。
図5は、ユーザ情報の一例を示す図である。
図6は、情報処理装置の第1実施形態の動作のフローチャートの一例である。
図7は、図6のステップS101(0次認証)のサブルーチンを示す図である。
図8は、図6のステップS102(1次認証)のサブルーチンを示す図である。
図9は、図6のステップS103で肯定判定(「Yes」)の場合の、操作パネル上の表示例を示す図である。
図10は、図6のステップS103で否定判定(「No」)の場合の、操作パネル上の表示例を示す図である。
図11は、第2実施形態の情報処理装置によって表示される0次認証の設定画面の一例を示す図である。
図12は、情報処理装置の第2実施形態の動作のフローチャートの一例である。
図13は、情報処理装置の第3実施形態の動作のフローチャートの一例である。
図14は、情報処理装置によって表示されるリセット設定画面の一例を示す図である。
図15は、情報処理装置の第4実施形態の動作のフローチャートの一例である。
【発明を実施するための形態】
【0008】
以下、本発明の実施形態について、図面を参照しながら詳細に説明する。以下の実施形態では、セキュリティを向上する情報処理技術を画像形成装置に適用する例を説明するが、この例に限られない。例えば、実施形態の情報処理技術をデータ管理システムなど、ユーザ認証を要するその他のシステム、機器または装置にも適用可能である。
【0009】
図1Aは、実施形態の情報処理技術の適用場面の一例を示す図である。まず、ユーザ103は、画像形成装置100の利用を許可するカード102を所持している状態で画像形成装置100に近づき、ユーザ認証を行う。ユーザ103の認証は、画像形成装置100に組み込まれた、または画像形成装置100に接続された情報処理装置で行われる。ユーザ認証は、たとえば、カード102の操作による認証を含み、必要に応じて、その他の要素の認証を含む。たとえば、ユーザ103が近距離無線通信端末101を携帯している場合、画像形成装置100または情報処理装置が持つ近距離無線通信機能を利用した自動認証を、ユーザ認証に含めてもよい。カード102の操作によるユーザ認証後に画像形成装置100に表示されるログイン画面へのパスワード入力も、ユーザ認証に含まれ得る。このように、ユーザ認証は、複数の要素からなる多要素認証であってもよい。以下の実施形態で、近距離無線通信による自動認証を0次認証、ユーザ操作による認証を1次認証と呼ぶ場合があるが、0次認証は必須ではなく、利用場面に応じて省略してもよい。カード102を用いた認証は1次認証の一例であって、指紋、声紋などの生体情報を用いた1次認証であってもよい。カード102と近距離無線通信端末101は、別体であってもよいし、カード102の中に近距離無線通信機能が組み込まれていてもよい。近距離無線通信による0次認証と、近距離無線通信端末101を用いたユーザ認証とは、同義として用いられてもよい。ユーザ認証によって画像形成装置100を利用するユーザ103が特定される。ユーザ103の特定の後に、画像形成装置100の操作パネルにログイン画面やメニュー画面が表示され得る。
【0010】
ユーザ認証の後、かつ、ユーザ103による画像形成装置100の利用完了前に、ユーザ103が画像形成装置100から所定の範囲を越えて離れた場合、画像形成装置100において、ユーザ103の認証情報、または画像形成装置100の操作画面がリセットされる。ユーザ103が所定の範囲を超えて画像形成装置100を離れたか否かは、情報処理装置によってモニタされる。情報処理装置は、たとえば、画像形成装置100で受信される近距離無線通信端末101からの電波の強度に基づいて、電波強度が閾値よりも小さくなった場合に、ユーザ103が所定の範囲を超えて画像形成装置100から離れたと判断する。あるいは、情報処理装置は、近距離無線通信端末101から送信される位置情報に基づいて画像形成装置100とユーザ103の間の距離を計算してもよいし、画像形成装置100または情報処理装置のタイマ機能を利用して、ユーザ認証後の所定時間内に画像形成装置100への操作がない場合に、所定の範囲を超えてユーザ103が離れたと判断してもよい。
(【0011】以降は省略されています)
この特許をJ-PlatPat(特許庁公式サイト)で参照する
関連特許
株式会社リコー
移動体
23日前
株式会社リコー
画像形成装置
4日前
株式会社リコー
画像形成装置
1日前
株式会社リコー
画像形成装置
1日前
株式会社リコー
画像形成装置
9日前
株式会社リコー
機器及び異常判定方法
9日前
株式会社リコー
画像形成装置及びシステム
7日前
株式会社リコー
延長トレイ及び画像形成装置
4日前
株式会社リコー
定着装置、及び画像形成装置
9日前
株式会社リコー
画像読取装置及び画像読取方法
3日前
株式会社リコー
表示装置、切替方法、プログラム
14日前
株式会社リコー
媒体処理装置及び画像形成システム
4日前
株式会社リコー
樹脂粒子、及び樹脂粒子の製造方法
1日前
株式会社リコー
読取装置、読取方法およびプログラム
4日前
株式会社リコー
通信端末、通信方法、及びプログラム
7日前
株式会社リコー
シート給送装置及び画像形成システム
10日前
株式会社リコー
加熱装置、定着装置及び画像形成装置
8日前
株式会社リコー
通信装置、通信方法、及びプログラム
7日前
株式会社リコー
光源装置、画像投影装置および調整方法
14日前
株式会社リコー
ノード、データ共有方法、及びプログラム
21日前
株式会社リコー
通信装置、状態制御方法、及びプログラム
10日前
株式会社リコー
画像形成装置、情報処理方法及びプログラム
7日前
株式会社リコー
画像形成装置、及び、プロセスカートリッジ
14日前
株式会社リコー
画像形成装置、画像処理方法およびプログラム
2日前
株式会社リコー
画像読取装置、画像判定方法およびプログラム
7日前
株式会社リコー
画像形成装置、情報処理方法およびプログラム
8日前
株式会社リコー
モノクロ用光走査装置及びモノクロ画像形成装置
7日前
株式会社リコー
表示装置、表示方法、プログラム、表示システム
22日前
株式会社リコー
画像読取装置、用紙斜行防止装置及び画像形成装置
2日前
株式会社リコー
対話装置、対話システム、対話方法及びプログラム
21日前
株式会社リコー
情報処理装置、情報処理システムおよび情報処理方法
21日前
株式会社リコー
情報処理システム、情報処理装置および情報処理方法
21日前
株式会社リコー
電気機器、画像形成装置、制御方法、及びプログラム
17日前
株式会社リコー
情報処理装置、設定システム、プログラム、情報処理方法
1日前
株式会社リコー
情報処理装置、画像形成装置、情報処理方法及びプログラム
1日前
株式会社リコー
障害物検出システム、移動体、プログラムおよび障害物検出方法
28日前
続きを見る
他の特許を見る