TOP
|
特許
|
意匠
|
商標
特許ウォッチ
Twitter
他の特許を見る
公開番号
2025140256
公報種別
公開特許公報(A)
公開日
2025-09-29
出願番号
2024039533
出願日
2024-03-14
発明の名称
画像形成装置
出願人
株式会社リコー
代理人
個人
主分類
G03G
21/00 20060101AFI20250919BHJP(写真;映画;光波以外の波を使用する類似技術;電子写真;ホログラフイ)
要約
【課題】フルスペック状態でも特定スペック状態でも画像形成がおこなわれるときに、複数のステーションにおける昇温などを簡単かつ効率的に軽減する。
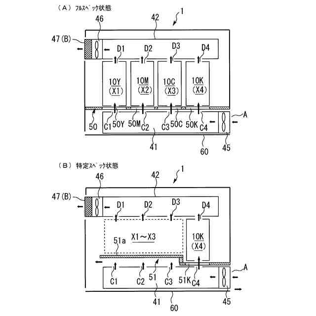
【解決手段】複数の作像ユニット10Y、10M、10C、10Kがすべて設置されたフルスペック状態で画像形成がおこなわれるときには、複数の給気口C1~C4のすべてから複数のステーションX1~X4のすべてへの給気がされるようにしている。これに対して、作像ユニット10Kが設置された使用ステーションX4と、作像ユニット10Y、10M、10Cが設置されていない不使用ステーションX1~X3と、が存在する特定スペック状態で画像形成がおこなわれるときには、使用ステーションX4に対応する給気口C4から使用ステーションX4への給気がされ、それ以外の給気口C1~C4を介して不使用ステーションX1~X3への給気も排気もおこなわれないようにしている。
【選択図】図3
特許請求の範囲
【請求項1】
複数の作像ユニットをそれぞれ着脱可能な複数のステーションと、
前記複数のステーションへのそれぞれの給気を可能にする複数の給気口と、
画像形成装置本体の外部から取り込んだ空気を前記複数の給気口に向けて流動させるための給気ダクトと、
前記複数のステーションからのそれぞれの排気を可能にする複数の排気口と、
前記複数の排気口から排気された空気を前記画像形成装置本体の外部に向けて流動させるための排気ダクトと、
を備え、
前記複数のステーションに前記複数の作像ユニットがすべて設置されたフルスペック状態で画像形成がおこなわれるときには、前記複数の給気口のすべてから前記複数のステーションのすべてへの給気がされ、
前記複数のステーションのうち、前記作像ユニットが設置された使用ステーションと、前記作像ユニットが設置されていない不使用ステーションと、が存在する特定スペック状態で画像形成がおこなわれるときには、前記複数の給気口のうち前記使用ステーションに対応する給気口から前記使用ステーションへの給気がされ、それ以外の給気口を介して前記不使用ステーションへの給気も、前記それ以外の給気口を介して前記不使用ステーションからの排気も、おこなわれないことを特徴とする画像形成装置。
続きを表示(約 1,000 文字)
【請求項2】
前記フルスペック状態で画像形成がおこなわれるときには、前記複数のステーションのすべてから前記複数の排気口を介して前記排気ダクトへの排気がおこなわれ、
前記特定スペック状態で画像形成がおこなわれるときには、前記使用ステーションに対応する排気口を介して前記排気ダクトへの排気がおこなわれるとともに、複数の前記不使用ステーションに対応する複数の排気口のうち少なくとも1つの排気口を介して前記排気ダクトへの排気がおこなわれることを特徴とする請求項1に記載の画像形成装置。
【請求項3】
前記特定スペック状態のとき、前記使用ステーションに対応する給気口のみを前記使用ステーションに連通させて、それ以外の給気口を前記不使用ステーションに連通させない遮断手段が着脱可能に設置されることを特徴とする請求項1又は請求項2に記載の画像形成装置。
【請求項4】
前記遮断手段は、前記画像形成装置本体の外部から前記給気ダクト内に流入された空気のうち、前記使用ステーションに対応する給気口から前記使用ステーションに給気されなかった空気を、そのまま前記複数のステーションから離れる側に排気可能に構成されたことを特徴とする請求項3に記載の画像形成装置。
【請求項5】
前記給気口から前記ステーションに流入した空気が、前記ステーションに設置された前記作像ユニットの内部を通って、前記ステーションの前記排気口から排気されることを特徴とする請求項1又は請求項2に記載の画像形成装置。
【請求項6】
前記給気ダクトは、前記複数の給気口に対して空気の流動方向の上流側に給気ファンが設けられ、
前記排気ダクトは、前記複数の排気口に対して空気の流動方向の下流側に排気ファンとフィルタとが設けられたことを特徴とする請求項1又は請求項2に記載の画像形成装置。
【請求項7】
前記作像ユニットは、少なくとも、像担持体と、前記像担持体を帯電する帯電装置と、前記像担持体の表面に形成された潜像を現像する現像装置と、が設けられたことを特徴とする請求項1又は請求項2に記載の画像形成装置。
【請求項8】
前記複数の作像ユニットは、ブラック用の作像ユニットと、カラー用の3つの作像ユニットと、であって、
前記特定スペック状態は、前記ブラック用の作像ユニットのみを用いてモノクロの画像形成をおこなうことができる状態であることを特徴とする請求項1又は請求項2に記載の画像形成装置。
発明の詳細な説明
【技術分野】
【0001】
この発明は、複写機、プリンタ、ファクシミリ、又は、それらの複合機等の画像形成装置と、に関するものである。
続きを表示(約 2,300 文字)
【背景技術】
【0002】
従来から、複写機、プリンタ等の画像形成装置において、複数の作像ユニット(イメージングユニット)を設置可能な空間に、1つの作像ユニットのみを設置して、他の作像ユニットを設置しない状態で、画像形成(印刷)をおこなうことができるものが知られている(例えば、特許文献1参照。)。
【0003】
一方、特許文献1には、4つのイメージングユニット(作像ユニット)を設置可能な空間に、ブラック用の1つのイメージングユニットのみを設置して、印刷をおこなうときに、その空間と冷却ファンとの間に遮蔽部材を設置して、その空間の下方に連通するように設けられた通気経路を経て、冷却ファンと遮蔽部材との間から空気を排気する技術が開示されている。
【発明の概要】
【発明が解決しようとする課題】
【0004】
従来の技術は、複数のステーションに複数の作像ユニットがすべて設置されたフルスペック状態で画像形成がおこなわれるときにも、複数のステーションのうち作像ユニットが設置された使用ステーションと作像ユニットが設置されていない不使用ステーションとが存在する特定スペック状態で画像形成がおこなわれるときにも、複数のステーションにおける昇温などを簡単かつ効率的に軽減するのが難しかった。
【0005】
この発明は、上述のような課題を解決するためになされたもので、フルスペック状態で画像形成がおこなわれるときにも、特定スペック状態で画像形成がおこなわれるときにも、複数のステーションにおける昇温などを簡単かつ効率的に軽減することができる、画像形成装置を提供することにある。
【課題を解決するための手段】
【0006】
この発明における画像形成装置は、複数の作像ユニットをそれぞれ着脱可能な複数のステーションと、前記複数のステーションへのそれぞれの給気を可能にする複数の給気口と、画像形成装置本体の外部から取り込んだ空気を前記複数の給気口に向けて流動させるための給気ダクトと、前記複数のステーションからのそれぞれの排気を可能にする複数の排気口と、前記複数の排気口から排気された空気を前記画像形成装置本体の外部に向けて流動させるための排気ダクトと、を備え、前記複数のステーションに前記複数の作像ユニットがすべて設置されたフルスペック状態で画像形成がおこなわれるときには、前記複数の給気口のすべてから前記複数のステーションのすべてへの給気がされ、前記複数のステーションのうち、前記作像ユニットが設置された使用ステーションと、前記作像ユニットが設置されていない不使用ステーションと、が存在する特定スペック状態で画像形成がおこなわれるときには、前記複数の給気口のうち前記使用ステーションに対応する給気口から前記使用ステーションへの給気がされ、それ以外の給気口を介して前記不使用ステーションへの給気も、前記それ以外の給気口を介して前記不使用ステーションからの排気も、おこなわれないものである。
【発明の効果】
【0007】
本発明によれば、フルスペック状態で画像形成がおこなわれるときにも、特定スペック状態で画像形成がおこなわれるときにも、複数のステーションにおける昇温などを簡単かつ効率的に軽減することができる、画像形成装置を提供することができる。
【図面の簡単な説明】
【0008】
この発明の実施の形態における画像形成装置を示す全体構成図である。
作像ユニットを示す構成図である。
(A)フルスペック状態の画像形成装置における空気の流れを示す上面図と、(B)特定スペック状態の画像形成装置における空気の流れを示す上面図と、である。
(A)フルスペック状態において本体ドアが開放された画像形成装置を示す斜視図と、(B)特定スペック状態において本体ドアが開放された画像形成装置を示す斜視図と、である。
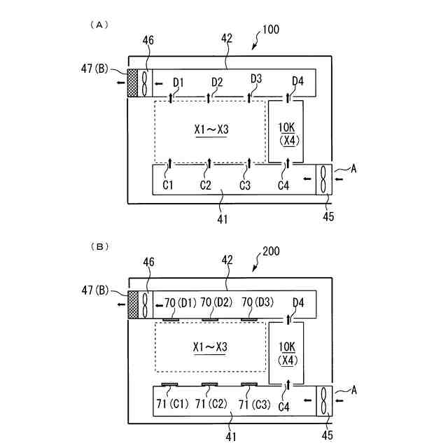
比較例としての、特定スペック状態の画像形成装置における空気の流れを示す上面図である。
変形例としての、特定スペック状態の画像形成装置における空気の流れを示す上面図である。
【発明を実施するための形態】
【0009】
以下、この発明を実施するための形態について、図面を参照して詳細に説明する。なお、各図中、同一又は相当する部分には同一の符号を付しており、その重複説明は適宜に簡略化ないし省略する。
【0010】
まず、図1にて、画像形成装置1における全体の構成・動作について説明する。
図1において、1は画像形成装置としてのカラー複写機、3は原稿を原稿読込部4に搬送する原稿搬送部、4は原稿の画像情報を読み込む原稿読込部、6は入力画像情報に基づいたレーザ光を発する書込み部(露光部)、を示す。
また、7は用紙等のシートPが収納される給紙装置、10Y、10M、10C、10Kは各色(イエロー、マゼンタ、シアン、ブラック)に対応した作像ユニット、17は複数色のトナー像が重ねて転写される中間転写ベルト(像担持体)、18は中間転写ベルト17上に形成されたトナー像をシートPに転写する2次転写ローラ、を示す。
また、20はシートP上の未定着画像を定着する定着装置、28は各作像ユニット10Y、10M、10C、10K(プロセスカートリッジ)の現像装置に各色のトナーを補給するためのトナー容器、30は廃トナーが回収される廃トナー回収容器、を示す。
(【0011】以降は省略されています)
この特許をJ-PlatPat(特許庁公式サイト)で参照する
関連特許
株式会社リコー
移動体
16日前
株式会社リコー
画像形成装置
2日前
株式会社リコー
画像形成システム
21日前
株式会社リコー
機器及び異常判定方法
2日前
株式会社リコー
画像形成装置及びシステム
今日
株式会社リコー
定着装置、及び画像形成装置
2日前
株式会社リコー
印刷装置および印刷システム
21日前
株式会社リコー
液体吐出装置及び液体吐出方法
21日前
株式会社リコー
表示装置、切替方法、プログラム
7日前
株式会社リコー
媒体処理装置及び画像形成システム
21日前
株式会社リコー
シート給紙装置、および画像形成装置
21日前
株式会社リコー
シート給送装置及び画像形成システム
3日前
株式会社リコー
加熱装置、定着装置及び画像形成装置
1日前
株式会社リコー
通信装置、通信方法、及びプログラム
今日
株式会社リコー
通信端末、通信方法、及びプログラム
今日
株式会社リコー
光源装置、画像投影装置および調整方法
7日前
株式会社リコー
ノード、データ共有方法、及びプログラム
14日前
株式会社リコー
通信装置、状態制御方法、及びプログラム
3日前
株式会社リコー
画像形成装置、及び、プロセスカートリッジ
7日前
株式会社リコー
画像形成装置、情報処理方法及びプログラム
今日
株式会社リコー
画像形成装置、情報処理方法およびプログラム
1日前
株式会社リコー
画像形成装置、情報処理方法およびプログラム
21日前
株式会社リコー
画像読取装置、画像判定方法およびプログラム
今日
株式会社リコー
画像処理装置、画像処理方法、およびプログラム
21日前
株式会社リコー
画像形成装置、画像形成方法、およびプログラム
21日前
株式会社リコー
表示装置、表示方法、プログラム、表示システム
15日前
株式会社リコー
モノクロ用光走査装置及びモノクロ画像形成装置
今日
株式会社リコー
対話装置、対話システム、対話方法及びプログラム
14日前
株式会社リコー
液滴吐出ヘッド、ヘッドユニット及び液滴吐出装置
21日前
株式会社リコー
液体吐出ヘッド、ヘッドモジュール、液体吐出装置
21日前
株式会社リコー
液体吐出ヘッド、ヘッドモジュール及び液体吐出装置
21日前
株式会社リコー
情報処理システム、情報処理装置および情報処理方法
14日前
株式会社リコー
情報処理装置、情報処理システムおよび情報処理方法
14日前
株式会社リコー
電気機器、画像形成装置、制御方法、及びプログラム
10日前
株式会社リコー
情報処理システム、情報処理方法、および情報処理装置
21日前
株式会社リコー
液体吐出装置、印刷装置、液体吐出方法およびプログラム
21日前
続きを見る
他の特許を見る