TOP
|
特許
|
意匠
|
商標
特許ウォッチ
Twitter
他の特許を見る
10個以上の画像は省略されています。
公開番号
2025139490
公報種別
公開特許公報(A)
公開日
2025-09-26
出願番号
2024038455
出願日
2024-03-12
発明の名称
画像形成装置
出願人
株式会社リコー
代理人
弁理士法人酒井国際特許事務所
主分類
H04N
1/00 20060101AFI20250918BHJP(電気通信技術)
要約
【課題】ユーザーのニーズに対応した省エネルギー状態からの復帰機能を提供する。
【解決手段】画像形成装置は、スキャナ制御システムと、プロッタ制御システムと、前記システムを制御し、外部機器からの要求を中継する中継システムと、操作パネルと、複数のカバーと、カバーの開閉を検知するカバー開閉検知部と、スキャナへの原稿セット及びプロッタへの印刷用紙セットを検知するセット検知部と、印刷用紙セットの日時を基に、前記システムのどのシステムを起動又は省エネルギー状態から復帰させるか判断する第1判断部と、アプリケーションの使用履歴を基に、前記システムのうちどのシステムを起動又は省エネルギー状態から復帰させるか判断する第2判断部と、操作パネルへのタッチ、カバーの開閉、原稿セット又は印刷用紙セットを検知した場合に、前記システムを前記判断部の判断結果を基に、起動又は省エネルギー状態から復帰させる起動復帰部と、を備える。
【選択図】図2
特許請求の範囲
【請求項1】
スキャナを制御するスキャナ制御システムと、
プロッタを制御するプロッタ制御システムと、
前記スキャナ制御システムと前記プロッタ制御システムを制御し、外部機器からの要求を中継する中継システムと、
操作パネルと、
前記スキャナのカバーおよび前記プロッタのカバーを含む複数のカバーと、
前記カバーの開閉を検知するカバー開閉検知部と、
前記スキャナへの原稿セットおよび前記プロッタへの印刷用紙セットを検知するセット検知部と、
前記操作パネルへのタッチ、前記カバーの開閉、前記原稿セットまたは前記印刷用紙セットを検知した場合に、前記スキャナ制御システムおよび前記プロッタ制御システムを起動または省エネルギー状態から復帰させる起動復帰部と、
前記印刷用紙セットの日時を基に、前記スキャナ制御システムおよび前記プロッタ制御システムのうちどのシステムを起動または省エネルギー状態から復帰させるかを判断する第1判断部と、
アプリケーションの使用履歴を基に、前記スキャナ制御システムおよび前記プロッタ制御システムのうちどのシステムを起動または省エネルギー状態から復帰させるかを判断する第2判断部と、を備え、
前記起動復帰部は、前記第1判断部および前記第2判断部の判断結果を基に、前記スキャナ制御システムおよび前記プロッタ制御システムを起動または省エネルギー状態から復帰させる、画像形成装置。
続きを表示(約 420 文字)
【請求項2】
前記第1判断部は、前記印刷用紙セットから所定日数以上経過している場合は、前記スキャナに関わるスキャナ要因で電源がONされても前記プロッタ制御システムを起動または省エネルギー状態から復帰させると判断する、請求項1に記載の画像形成装置。
【請求項3】
前記第2判断部は、アプリケーションの使用履歴を参照し、前記スキャナのみを使用していた場合は、前記スキャナ制御システムを起動または省エネルギー状態から復帰させると判断し、アプリケーションの使用履歴を参照し、コピーのみを使用していた場合は、前記プロッタ制御システムを起動または省エネルギー状態から復帰させると判断する、請求項1または2に記載の画像形成装置。
【請求項4】
前記所定日数を設定する日数設定部と、
前記第2判断部の判断機能の有効化または無効化を切り替える切替部と、
を備える、請求項2に記載の画像形成装置。
発明の詳細な説明
【技術分野】
【0001】
本発明は、画像形成装置に関する。
続きを表示(約 2,300 文字)
【背景技術】
【0002】
スキャナカバーおよびプリンタカバー等の複数のカバーを有し、カバーの開閉状態により、起動したりまたは省エネルギー状態から復帰移行したり、スキャナへの原稿セットや印刷用紙セットを検知する機構を有し、原稿セットや印刷用紙セットの状態により、起動したりまたは省エネルギー状態から復帰移行したりすることで、省エネルギーを実現する画像形成装置が開発されている。
【0003】
特許文献1には、ユーザーの利便性を向上させつつ、消費電力の抑制効果を向上することを目的として、省電力モード中のユーザーの操作入力に基づいて、特定の機能に関連する動作部のみ復帰させる画像形成装置の構成が開示されている。また、特許文献2には、省エネルギー性能を高めることを目的として、ジョブの入力や装置の関連部位状態を参照することで、部位ごとの電源状態を変更させる構成が開示されている。
【発明の概要】
【発明が解決しようとする課題】
【0004】
ところで、上述の画像形成装置では、カバーの開閉、原稿や印刷用紙セットのトリガを基に省エネルギー状態から復帰させる部分を決定させている、しかし、これまでの手法では、最後に原稿セットまたは印刷用紙セットしてから一定の日数が経過していた場合、ユーザーが使用したマシンの直近のアプリケーションの使用履歴を参照しないため、省エネルギー状態からの復帰時にユーザーの使いたい機能を誤ってしまう、という問題がある。例えば、印刷用紙セットが何日も前であるにも関わらず、省エネルギー状態からの復帰時にコピー動作となることはユーザーの使いたい機能ではない可能性が高い。
【0005】
本発明は、上記に鑑みてなされたものであって、ユーザーのニーズに対応した省エネルギー状態からの復帰機能を提供することができる、画像形成装置を提供することを目的とする。
【課題を解決するための手段】
【0006】
上述した課題を解決し、目的を達成するために、本発明は、スキャナを制御するスキャナ制御システムと、プロッタを制御するプロッタ制御システムと、前記スキャナ制御システムと前記プロッタ制御システムを制御し、外部機器からの要求を中継する中継システムと、操作パネルと、前記スキャナのカバーおよび前記プロッタのカバーを含む複数のカバーと、前記カバーの開閉を検知するカバー開閉検知部と、前記スキャナへの原稿セットおよび前記プロッタへの印刷用紙セットを検知するセット検知部と、前記操作パネルへのタッチ、前記カバーの開閉、前記原稿セットまたは前記印刷用紙セットを検知した場合に、前記スキャナ制御システムおよび前記プロッタ制御システムを起動または省エネルギー状態から復帰させる起動復帰部と、前記印刷用紙セットの日時を基に、前記スキャナ制御システムおよび前記プロッタ制御システムのうちどのシステムを起動または省エネルギー状態から復帰させるかを判断する第1判断部と、アプリケーションの使用履歴を基に、前記スキャナ制御システムおよび前記プロッタ制御システムのうちどのシステムを起動または省エネルギー状態から復帰させるかを判断する第2判断部と、を備え、前記起動復帰部は、前記第1判断部および前記第2判断部の判断結果を基に、前記スキャナ制御システムおよび前記プロッタ制御システムを起動または省エネルギー状態から復帰させる。
【発明の効果】
【0007】
本発明によれば、ユーザーのニーズに対応した省エネルギー状態からの復帰機能を提供することができる、という効果を奏する。
【図面の簡単な説明】
【0008】
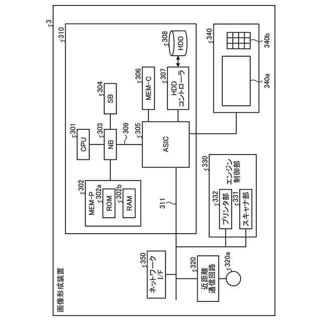
図1は、本実施の形態にかかる画像形成システムが有する画像形成装置のハードウェア構成の一例を示すブロック図である。
図2は、本実施の形態にかかる画像形成装置のシステム構成の一例を示す図である。
図3は、本実施の形態にかかる画像形成装置の中継システムの機能構成の一例を示す図である。
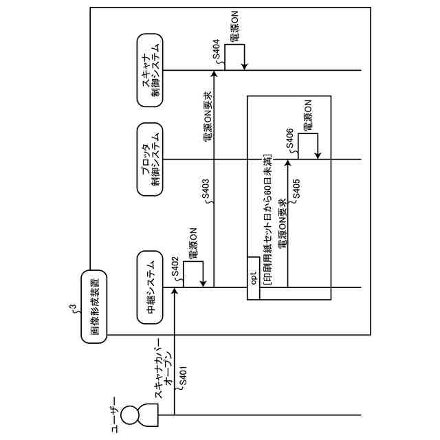
図4は、本実施の形態にかかる画像形成装置における印刷用紙のセット日時の検知による各制御システムの起動復帰に関するシーケンス図である。
図5は、本実施の形態にかかる画像形成装置において省エネルギー状態からの復帰時にスキャナ制御システム、プロッタ制御システム、および中継システムがユーザーの操作によってどのように起動するかを表したユースケース図である。
図6は、本実施の形態にかかる画像形成装置における印刷用紙セットの検知日時に基づく起動復帰動作の流れの一例を示すフローチャートである。
図7は、本実施の形態にかかる画像形成装置におけるアプリケーションの使用履歴に基づく起動復帰動作の流れの一例を示すフローチャートである。
図8は、本実施の形態にかかる画像形成装置における印刷用紙セットの検知およびアプリケーションの使用履歴に基づく復帰処理の流れの一例を示すフローチャートである。
【発明を実施するための形態】
【0009】
以下に添付図面を参照して、画像形成装置の実施の形態を詳細に説明する。
【0010】
図1を用いて、本実施の形態にかかる画像形成装置のハードウェア構成について説明する。図1は、本実施の形態にかかる画像形成システムが有する画像形成装置のハードウェア構成の一例を示すブロック図である。
(【0011】以降は省略されています)
この特許をJ-PlatPat(特許庁公式サイト)で参照する
関連特許
株式会社リコー
表示装置、切替方法、プログラム
3日前
株式会社リコー
光源装置、画像投影装置および調整方法
3日前
株式会社リコー
ノード、データ共有方法、及びプログラム
10日前
株式会社リコー
画像形成装置、及び、プロセスカートリッジ
3日前
株式会社リコー
表示装置、表示方法、プログラム、表示システム
11日前
株式会社リコー
対話装置、対話システム、対話方法及びプログラム
10日前
株式会社リコー
情報処理装置、情報処理システムおよび情報処理方法
10日前
株式会社リコー
情報処理システム、情報処理装置および情報処理方法
10日前
株式会社リコー
電気機器、画像形成装置、制御方法、及びプログラム
6日前
株式会社リコー
情報処理装置、情報処理システム、情報処理方法及びプログラム
12日前
株式会社リコー
情報処理装置、情報処理システム、情報処理方法及びプログラム
10日前
株式会社リコー
情報処理装置、画面作成方法、プログラム、及び情報処理システム
6日前
株式会社リコー
手書き入力装置、手書き入力システム、手書き入力方法、プログラム
10日前
株式会社リコー
情報処理装置、情報処理方法、プログラム、および情報処理システム
10日前
株式会社リコー
表示装置、表示方法、プログラム
3日前
株式会社リコー
画像処理装置、方法、およびプログラム
3日前
株式会社リコー
情報処理システム、情報処理方法およびプログラム
5日前
株式会社リコー
情報処理システム、サービス提供システム、設定方法
5日前
株式会社リコー
電子写真画像形成用キャリア、二成分現像剤、プロセスカートリッジ、画像形成装置、及び画像形成方法
11日前
株式会社リコー
通信端末、画像通信システム、表示方法、及びプログラム
3日前
株式会社リコー
情報処理システム、サーバ、情報処理方法、及びプログラム
3日前
株式会社リコー
電子機器、情報処理システム、情報処理方法およびプログラム
6日前
株式会社リコー
情報処理装置、サービス提供システム、方法およびプログラム
6日前
株式会社リコー
情報提供装置、情報処理システム、情報提供方法、及びプログラム
5日前
株式会社リコー
情報処理装置、プログラム、Webアプリケーション管理方法及び情報処理システム
3日前
個人
監視カメラシステム
5日前
個人
店内配信予約システム
3か月前
キーコム株式会社
光伝送線路
6日前
サクサ株式会社
中継装置
12日前
サクサ株式会社
中継装置
11日前
個人
スキャン式車載用撮像装置
5日前
WHISMR合同会社
収音装置
1か月前
サクサ株式会社
中継装置
3か月前
キヤノン株式会社
電子機器
3か月前
アイホン株式会社
電気機器
1か月前
キヤノン株式会社
撮像装置
1か月前
続きを見る
他の特許を見る