TOP
|
特許
|
意匠
|
商標
特許ウォッチ
Twitter
他の特許を見る
10個以上の画像は省略されています。
公開番号
2025145748
公報種別
公開特許公報(A)
公開日
2025-10-03
出願番号
2024046118
出願日
2024-03-22
発明の名称
液体吐出装置、印刷装置、液体吐出方法およびプログラム
出願人
株式会社リコー
代理人
弁理士法人酒井国際特許事務所
主分類
B41J
2/01 20060101AFI20250926BHJP(印刷;線画機;タイプライター;スタンプ)
要約
【課題】強い気流による吐出の曲がりやばらつきに起因する画質の低下を防ぐことを目的とする。
【解決手段】複数のノズルからなるノズル列を複数配列して前記ノズルから液滴を選択的に媒体へ吐出する複数のヘッドと、前記ノズルからの液滴の吐出を制御する制御部と、を有し、隣接する第1のヘッドと第2のヘッドを前記ノズル列の列方向の端部にノズルオーバーラップ領域を設けて設置する液体吐出装置において、前記ノズルオーバーラップ領域において、前記制御部は、前記ノズル列の方向に着弾する複数の液滴を、前記第1のヘッドのノズルと前記第2のヘッドのノズルから吐出し、前記ノズル列と直交する方向に着弾する複数の液滴を、前記第1のヘッドのノズルのみ又は前記第2のヘッドのノズルのみから吐出し、液滴を吐出する吐出ノズルと液滴を吐出しない非吐出ノズルを選択するマスクパターンを、前記ノズル列と直交する方向に変化させる。
【選択図】図11
特許請求の範囲
【請求項1】
複数のノズルからなるノズル列を複数配列して前記ノズルから液滴を選択的に媒体へ吐出する複数のヘッドと、前記ノズルからの液滴の吐出を制御する制御部と、を有し、隣接する第1のヘッドと第2のヘッドを前記ノズル列の列方向の端部にノズルオーバーラップ領域を設けて設置する液体吐出装置において、
前記ノズルオーバーラップ領域において、前記制御部は、
前記ノズル列の方向に着弾する複数の液滴を、前記第1のヘッドのノズルと前記第2のヘッドのノズルから吐出し、前記ノズル列と直交する方向に着弾する複数の液滴を、前記第1のヘッドのノズルのみ又は前記第2のヘッドのノズルのみから吐出し、
液滴を吐出する吐出ノズルと液滴を吐出しない非吐出ノズルを選択するマスクパターンを、前記ノズル列と直交する方向に変化させる、
液体吐出装置。
続きを表示(約 1,900 文字)
【請求項2】
複数のノズルからなるノズル列を複数配列して前記ノズルから液滴を選択的に媒体へ吐出する複数のヘッドと、前記ノズルからの液滴の吐出を制御する制御部と、を有し、隣接する第1のヘッドと第2のヘッドを前記ノズル列の列方向の端部にノズルオーバーラップ領域を設けて設置する液体吐出装置において、前記ノズルオーバーラップ領域において、前記制御部は、前記ノズル列の方向に着弾する複数の液滴を、前記第1のヘッドのノズルと前記第2のヘッドのノズルから吐出し、前記ノズル列と直交する方向に着弾する複数の液滴を、前記第1のヘッドのノズルのみ又は前記第2のヘッドのノズルのみから吐出し、液滴を吐出する吐出ノズルと液滴を吐出しない非吐出ノズルを選択するマスクパターンを、前記ノズル列と直交する方向に変化させる、液体吐出装置と、
前記液体吐出装置を駆動させて液滴を前記媒体へ吐出させるシステム制御部と、
前記媒体を、前記複数のヘッドに対する前記媒体の相対移動の速度を200mm/秒以上で移動させる移動部と、
を備える印刷装置。
【請求項3】
前記第1のヘッドは、前記相対移動の方向に対して前記第2のヘッドより上流に配置され、
前記ノズルオーバーラップ領域において、
前記第1のヘッドが吐出ノズルを選択する割合は、前記第2のヘッドが吐出ノズルを選択する割合より小さい、
請求項2に記載の印刷装置。
【請求項4】
前記第1のヘッドは、前記相対移動の方向に対して前記第2のヘッドより上流に配置され、
前記ノズルは、第1の体積の液滴を吐出する第1の吐出ノズルと、前記第1の体積より小さい第2の体積の液滴を吐出する第2の吐出ノズルを含み、
前記ノズルオーバーラップ領域において、
前記第1のヘッドが前記第2の吐出ノズルを選択する割合は、前記第2のヘッドが前記第2の吐出ノズルを選択する割合より小さい、
請求項2に記載の印刷装置。
【請求項5】
前記第1のヘッドは、前記相対移動の方向に対して前記第2のヘッドより上流に配置され、
前記ノズルオーバーラップ領域において、
前記第1のヘッドのマスクパターンは、前記相対移動の方向に対して上流側のヘッド端部の周囲に第1の領域を含み、
前記第2のヘッドのマスクパターンは、前記相対移動の方向に対して上流側のヘッド端部の周囲に第2の領域を含み、
前記複数のヘッドに対する前記媒体の相対移動の速度及び前記複数のヘッドと前記媒体の距離が所定の条件を満たした場合に、
前記第1のヘッドが吐出ノズルを選択する割合は、前記第1の領域と前記第1の領域以外の領域とで異なり、
前記第2のヘッドが吐出ノズルを選択する割合は、前記第2の領域と前記第2の領域以外の領域とで異なる、
請求項2乃至4のいずれか一項に記載の印刷装置。
【請求項6】
前記吐出ノズルは、前記第1の領域及び前記第2の領域で選択されない、
請求項5に記載の印刷装置。
【請求項7】
前記第1のヘッドが吐出ノズルを選択する割合は、前記第1の領域以外の領域よりも前記第1の領域で小さく、
前記第2のヘッドが吐出ノズルを選択する割合は、前記第2の領域以外の領域よりも前記第2の領域で小さい、
請求項5に記載の印刷装置。
【請求項8】
前記第1の領域で吐出ノズルが選択される割合は、前記第2の領域で吐出ノズルが選択される割合より小さい、
請求項5に記載の印刷装置。
【請求項9】
前記ノズルは、第1の体積の液滴を吐出する第1の吐出ノズルと、前記第1の体積より小さい第2の体積の液滴を吐出する第2の吐出ノズルを含み、
前記第1のヘッドが前記第1の吐出ノズルを選択する割合は、前記第1の領域以外の領域よりも前記第1の領域で大きく、
前記第2のヘッドが前記第1の吐出ノズルを選択する割合は、前記第2の領域以外の領域よりも前記第2の領域で大きい、
請求項5に記載の印刷装置。
【請求項10】
前記第1の領域及び前記第2の領域の大きさは、前記相対移動の速度、前記複数の液滴の解像度、前記液滴の体積の少なくともいずれか一つに基づいて設定される、
請求項5に記載の印刷装置。
(【請求項11】以降は省略されています)
発明の詳細な説明
【技術分野】
【0001】
本発明は、液体吐出装置、印刷装置、液体吐出方法およびプログラムに関する。
続きを表示(約 2,000 文字)
【背景技術】
【0002】
近年、液体吐出装置は、例えば、高生産性を実現するための吐出対象物の搬送速度の高速度化や、吐出対象物として幅広のメディア(印刷媒体)への対応が求められている。また、幅広の印刷媒体に対応するために、複数の吐出ヘッドを並べて長尺のヘッド群を構成する場合、ヘッド間の位置合わせ精度に起因する画質低下や、ヘッドの吐出ばらつき等による画質低下を抑制するため、隣接ヘッド端部のノズルをオーバーラップさせて、吐出ノズルと非吐出ノズルを選択して、重複領域の画質低下を抑制する技術が知られている。
【0003】
特許文献1には、一方の帯状領域に対する一のノズルユニットによる第1描画動作、および、他方の帯状領域に対する他のノズルユニットによる第2描画動作の一方が割り当てられ、第1描画動作に割り当てられた描画位置の密度が、第1描画動作に対応する帯状領
域の非重複領域から離れるに従って減小する技術が開示されている。
【発明の概要】
【発明が解決しようとする課題】
【0004】
しかしながら、従来の技術では、200mm/秒を超える高速の媒体搬送速度で生じる強い気流による吐出の曲がりやばらつきで画質が低下する、という問題があった。
【0005】
本発明は、上記に鑑みてなされたものであって、強い気流による吐出の曲がりやばらつきに起因する画質の低下を防ぐことを目的とする。
【課題を解決するための手段】
【0006】
上述した課題を解決し、目的を達成するために、本発明は、複数のノズルからなるノズル列を複数配列して前記ノズルから液滴を選択的に媒体へ吐出する複数のヘッドと、前記ノズルからの液滴の吐出を制御する制御部と、を有し、隣接する第1のヘッドと第2のヘッドを前記ノズル列の列方向の端部にノズルオーバーラップ領域を設けて設置する液体吐出装置において、前記ノズルオーバーラップ領域において、前記制御部は、前記ノズル列の方向に着弾する複数の液滴を、前記第1のヘッドのノズルと前記第2のヘッドのノズルから吐出し、前記ノズル列と直交する方向に着弾する複数の液滴を、前記第1のヘッドのノズルのみ又は前記第2のヘッドのノズルのみから吐出し、液滴を吐出する吐出ノズルと液滴を吐出しない非吐出ノズルを選択するマスクパターンを、前記ノズル列と直交する方向に変化させる。
【発明の効果】
【0007】
本発明によれば、強い気流による吐出の曲がりやばらつきに起因する画質の低下を防ぐことができる、という効果を奏する。
【図面の簡単な説明】
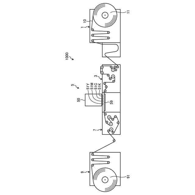
【0008】
図1は、第1の実施の形態にかかる印刷装置の概略構成を示す図である。
図2は、印刷装置のヘッドユニットの一例の平面図である。
図3は、隣接する複数のヘッドの構成を示す平面図である。
図4は、印刷装置のシステム構成例を示すブロック図である。
図5は、プリント制御部による各ノズルの液滴吐出制御に係る機能ブロック図である。
図6は、ノズルオーバーラップ領域の周辺における従来の着弾ドットの例を示す図である。
図7は、駆動周波数と吐出適量の関係の一例を示す図である。
図8は、吐出適量が低下した状態で形成された従来の着弾ドットの例を示す図である。
図9は、重複部において2つのヘッドからの液滴が重なって着弾した場合の着弾ドットの例を示す図である。
図10は、ノズルオーバーラップ領域の周辺における従来の着弾ドットの他の例を示す図である。
図11は、第1の実施の形態に係るマスクパターンを用いた場合の、ノズルオーバーラップ領域の周辺における着弾ドットの例を示す図である。
図12は、第1の実施の形態に係るマスクパターンを用いた場合の、ノズルオーバーラップ領域の周辺における着弾ドットの例を示す他の図である。
図13は、第1の実施の形態に係るマスクパターンを用いた場合の、ノズルオーバーラップ領域の周辺における着弾ドットの例を示す他の図である。
図14は、第2の実施の形態に係る電極の製造装置の一例を示す模式図である。
【発明を実施するための形態】
【0009】
以下に添付図面を参照して、液体吐出装置、印刷装置、液体吐出方法およびプログラムの実施の形態を詳細に説明する。
【0010】
(第1の実施の形態)
ここで、図1は第1の実施の形態にかかる印刷装置1000の概略構成を示す図、図2は印刷装置1000のヘッドユニット50の一例の平面図である。本実施形態にかかる印刷装置1000は、ライン型ヘッドであるヘッドユニット50を備えたライン型インクジェット記録装置である。
(【0011】以降は省略されています)
この特許をJ-PlatPat(特許庁公式サイト)で参照する
関連特許
株式会社リコー
移動体
4日前
株式会社リコー
画像形成装置
9日前
株式会社リコー
画像形成システム
9日前
株式会社リコー
印刷装置および印刷システム
9日前
株式会社リコー
液体吐出装置及び液体吐出方法
9日前
株式会社リコー
システム、方法およびプログラム
9日前
株式会社リコー
媒体処理装置及び画像形成システム
9日前
株式会社リコー
媒体処理装置及び画像形成システム
9日前
株式会社リコー
媒体処理装置及び画像形成システム
9日前
株式会社リコー
媒体処理装置及び画像形成システム
9日前
株式会社リコー
処理剤液塗布装置および画像形成装置
9日前
株式会社リコー
シート給紙装置、および画像形成装置
9日前
株式会社リコー
ノード、データ共有方法、及びプログラム
2日前
株式会社リコー
画像形成装置、情報処理方法およびプログラム
9日前
株式会社リコー
用紙処理装置、用紙処理方法、およびプログラム
9日前
株式会社リコー
画像形成装置、画像形成方法、およびプログラム
9日前
株式会社リコー
画像処理装置、画像処理方法、およびプログラム
9日前
株式会社リコー
表示装置、表示方法、プログラム、表示システム
3日前
株式会社リコー
液体吐出ヘッド、ヘッドモジュール、液体吐出装置
9日前
株式会社リコー
対話装置、対話システム、対話方法及びプログラム
2日前
株式会社リコー
液滴吐出ヘッド、ヘッドユニット及び液滴吐出装置
9日前
株式会社リコー
液体吐出ヘッド、ヘッドモジュール及び液体吐出装置
9日前
株式会社リコー
情報処理システム、情報処理装置および情報処理方法
2日前
株式会社リコー
情報処理装置、情報処理システムおよび情報処理方法
2日前
株式会社リコー
画像形成装置、画像検査方法、および画像検査システム
9日前
株式会社リコー
情報処理システム、情報処理方法、および情報処理装置
9日前
株式会社リコー
液体吐出装置、印刷装置、液体吐出方法およびプログラム
9日前
株式会社リコー
液体吐出装置、印刷装置、液体吐出方法およびプログラム
9日前
株式会社リコー
液体吐出ヘッド、液体吐出ユニット及び液体を吐出する装置
9日前
株式会社リコー
液体吐出ヘッド、液体吐出ユニット及び液体を吐出する装置
9日前
株式会社リコー
液体吐出装置、ヘッド制御装置及び液体吐出装置の制御方法
9日前
株式会社リコー
情報処理装置、情報処理システム、情報処理方法、プログラム
9日前
株式会社リコー
情報処理装置、情報処理システム、情報処理方法及びプログラム
4日前
株式会社リコー
液体吐出ヘッド、液体吐出装置、液体吐出方法およびプログラム
9日前
株式会社リコー
情報処理装置、情報処理システム、情報処理方法及びプログラム
2日前
株式会社リコー
液体吐出装置、画像形成装置、液体吐出方法、およびプログラム
9日前
続きを見る
他の特許を見る