TOP
|
特許
|
意匠
|
商標
特許ウォッチ
Twitter
他の特許を見る
10個以上の画像は省略されています。
公開番号
2025146227
公報種別
公開特許公報(A)
公開日
2025-10-03
出願番号
2024046896
出願日
2024-03-22
発明の名称
液体吐出ヘッド、液体吐出ユニット及び液体を吐出する装置
出願人
株式会社リコー
代理人
個人
主分類
B41J
2/01 20060101AFI20250926BHJP(印刷;線画機;タイプライター;スタンプ)
要約
【課題】記録媒体の搬送気流による液滴の着弾位置ずれを考慮してノズル列の端部でノズル間隔をノズル列間で変化させる必要がなく、ノズル列の端部における液滴の着弾位置ずれによる影響を低減するための制御方法の自由度を狭めないようにすることができる液体吐出ヘッドを提供することを目的とする。
【解決手段】搬送される記録媒体に液体を吐出するノズルが配列したノズル列が2つ以上設けられたノズル板を有する液体吐出ヘッドであって、前記ノズル列における一端のノズルから他端のノズルまでの距離をノズル列距離としたとき、前記ノズル板において、前記記録媒体の搬送方向の上流側に設けられた前記ノズル列のノズル列距離は、前記記録媒体の搬送方向の下流側の前記ノズル列のノズル列距離よりも短いことを特徴とする。
【選択図】図2
特許請求の範囲
【請求項1】
搬送される記録媒体に液体を吐出するノズルが配列したノズル列が2つ以上設けられたノズル板を有する液体吐出ヘッドであって、
前記ノズル列における一端のノズルから他端のノズルまでの距離をノズル列距離としたとき、
前記ノズル板において、前記記録媒体の搬送方向の上流側に設けられた前記ノズル列のノズル列距離は、前記記録媒体の搬送方向の下流側の前記ノズル列のノズル列距離よりも短い
ことを特徴とする液体吐出ヘッド。
続きを表示(約 870 文字)
【請求項2】
前記ノズル板の平面形状は、多角形である
ことを特徴とする請求項1に記載の液体吐出ヘッド。
【請求項3】
前記ノズル板の平面形状は、台形であり、
前記ノズル列は、前記ノズル板の平面形状に合わせて相似的に配列している
ことを特徴とする請求項1に記載の液体吐出ヘッド。
【請求項4】
前記ノズル板の平面形状は、長方形である
ことを特徴とする請求項1に記載の液体吐出ヘッド。
【請求項5】
前記ノズル板の平面形状は、六角形である
ことを特徴とする請求項1に記載の液体吐出ヘッド。
【請求項6】
請求項1~5のいずれかに記載の液体吐出ヘッドを備えている
ことを特徴とする液体吐出ユニット。
【請求項7】
請求項1~5のいずれかに記載の液体吐出ヘッドを複数備え、
前記ノズル板は、長手と短手を有し、
前記長手の方向に2つ以上の前記液体吐出ヘッドが千鳥配置されている
ことを特徴とする液体吐出ユニット。
【請求項8】
前記記録媒体の搬送方向において、複数の前記液体吐出ヘッド同士の前記ノズル板間でノズル列の一部が重なる領域を有する
ことを特徴とする請求項7に記載の液体吐出ユニット。
【請求項9】
前記液体吐出ヘッドに供給する液体を貯留するヘッドタンク、前記液体吐出ヘッドを搭載するキャリッジ、前記液体吐出ヘッドに液体を供給する供給機構、前記液体吐出ヘッドの維持回復を行う維持回復機構、前記液体吐出ヘッドを主走査方向に移動させる主走査移動機構の少なくともいずれか一つと前記液体吐出ヘッドとを一体化した
ことを特徴とする請求項6に記載の液体吐出ユニット。
【請求項10】
請求項1~5のいずれかに記載の液体吐出ヘッドを備えている
ことを特徴とする液体を吐出する装置。
(【請求項11】以降は省略されています)
発明の詳細な説明
【技術分野】
【0001】
本発明は、液体吐出ヘッド、液体吐出ユニット及び液体を吐出する装置に関する。
続きを表示(約 1,900 文字)
【背景技術】
【0002】
液体吐出ヘッドでは、ノズルから液体が吐出され、媒体に液体が着弾してドットが形成される。従来より、吐出された液体が空気の流れに影響されて狙いの位置からずれた位置に着弾してしまうという問題がある。従来技術では、液体の着弾位置のずれを防止するための検討がなされている。
【0003】
特許文献1では、被記録媒体との相対移動方向の最上流側に位置する吐出口列の端部領域の吐出口の配列間隔は、相対移動方向の最下流側に位置する吐出口列の端部領域の吐出口の配列間隔よりも狭いことを特徴とする液体吐出ヘッドが開示されている。また、特許文献1では、長方形の記録素子基板を千鳥に配置している。
特許文献1によれば、記録素子基板を千鳥状に配置した液体吐出ヘッドを使用した際に生じる流入気流による液滴の着弾位置ずれを抑制することができ、高速かつ高品位の印字画像を得ることができるとしている。
【0004】
このような液体吐出ヘッドでは、被記録媒体の搬送による搬送気流と、液滴吐出による自己気流とが生じることが知られており、これらの気流によって吐出曲がりが生じる。記録素子基板の端部における気流による吐出曲がりは、被記録媒体の搬送による搬送気流と、液滴吐出による自己気流とによって決まる。
【0005】
記録素子基板の端部付近での搬送気流は、例えば図6(A)中の符号30bで示す経路を通る。また、図6(B)のように記録素子基板を複数配置した場合、図中の破線のような経路を取る。経路30bの搬送気流は、上流側のノズル列14aの端部の液滴に対して、記録素子基板の外側に向けて影響を与える。また経路30bの搬送気流は、下流側のノズル列14cの端部の液滴に対して、記録素子基板の内側に向けて影響を与える。このように、記録素子基板を千鳥配置する場合、上流側と下流側の端部での搬送気流の風向きが変化する。
【0006】
特許文献1では、この搬送気流による液滴の着弾位置の変化を低減させるために、記録素子基板の上流側端部のノズル間隔を狭め、下流側端部のノズル間隔を広くしている。特許文献1では、このような液滴吐出による自己気流の影響を考慮したノズル配置構成を行うことにより、液滴が受ける搬送気流の影響を低減させていた。
【発明の概要】
【発明が解決しようとする課題】
【0007】
しかし、このようにノズル間隔を変化させることによって搬送気流の影響を低減しようとすると、印刷条件(メディア搬送速度等)によってノズル配置を都度変える必要が生じてしまう。また、記録素子基板における上流側のノズル列と下流側のノズル列とで、ノズル間隔が等しくない箇所が存在するため、物理的なノズル配置の影響により画像品質に悪影響を与えてしまうという問題がある。また、上流側のノズル列と下流側のノズル列とで、ノズル間隔が等しくない箇所が存在するため、液滴の着弾位置の変動による影響を低減するための制御方法に制限が生じてしまう。例えば、ノズル間隔が等しくない箇所があることで、液滴のサイズ変更や吐出ノズルの指定などの制御を採用しにくくなるという問題がある。
【0008】
そこで本発明は、記録媒体の搬送気流による液滴の着弾位置ずれを考慮してノズル列の端部でノズル間隔をノズル列間で変化させる必要がなく、ノズル列の端部における液滴の着弾位置ずれによる影響を低減するための制御方法の自由度を狭めないようにすることができる液体吐出ヘッドを提供することを目的とする。
【課題を解決するための手段】
【0009】
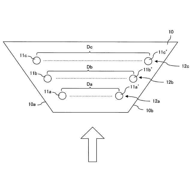
上記課題を解決するために、本発明の液体吐出ヘッドは、搬送される記録媒体に液体を吐出するノズルが配列したノズル列が2つ以上設けられたノズル板を有する液体吐出ヘッドであって、前記ノズル列における一端のノズルから他端のノズルまでの距離をノズル列距離としたとき、前記ノズル板において、前記記録媒体の搬送方向の上流側に設けられた前記ノズル列のノズル列距離は、前記記録媒体の搬送方向の下流側の前記ノズル列のノズル列距離よりも短いことを特徴とする。
【発明の効果】
【0010】
本発明の液体吐出ヘッドによれば、記録媒体の搬送気流による液滴の着弾位置ずれを考慮してノズル列の端部でノズル間隔をノズル列間で変化させる必要がなく、ノズル列の端部における液滴の着弾位置ずれによる影響を低減するための制御方法の自由度を狭めないようにすることができる。
【図面の簡単な説明】
(【0011】以降は省略されています)
この特許をJ-PlatPat(特許庁公式サイト)で参照する
関連特許
株式会社リコー
移動体
4日前
株式会社リコー
感熱記録媒体
10日前
株式会社リコー
画像形成装置
24日前
株式会社リコー
画像形成装置
13日前
株式会社リコー
画像形成装置
13日前
株式会社リコー
画像形成装置
9日前
株式会社リコー
画像形成装置
16日前
株式会社リコー
画像形成装置
13日前
株式会社リコー
液体塗布装置
17日前
株式会社リコー
印刷システム
13日前
株式会社リコー
画像形成システム
9日前
株式会社リコー
印刷応答補償機構
17日前
株式会社リコー
画像投射システム
24日前
株式会社リコー
拡張アンテナ装置
16日前
株式会社リコー
生体情報測定装置
10日前
株式会社リコー
液体を吐出する装置
10日前
株式会社リコー
マーキングシステム
16日前
株式会社リコー
電極及びその製造方法
11日前
株式会社リコー
電極及びその製造方法
13日前
株式会社リコー
多孔質構造体の製造方法
13日前
株式会社リコー
定着装置及び画像形成装置
17日前
株式会社リコー
定着装置及び画像形成装置
23日前
株式会社リコー
液吐出装置、及び液吐出方法
17日前
株式会社リコー
液体塗布装置および洗浄方法
13日前
株式会社リコー
ファイル分析・保存システム
13日前
株式会社リコー
塗装システム、及び塗装方法
13日前
株式会社リコー
印刷装置および印刷システム
9日前
株式会社リコー
パルスバルブおよび塗布装置
13日前
株式会社リコー
センサ素子及びセンサアレイ
23日前
株式会社リコー
センサ素子及びセンサアレイ
23日前
株式会社リコー
後処理装置および画像形成装置
13日前
株式会社リコー
定着装置、及び、画像形成装置
13日前
株式会社リコー
定着装置、及び、画像形成装置
13日前
株式会社リコー
液体吐出装置及び液体吐出方法
9日前
株式会社リコー
システム、方法およびプログラム
9日前
株式会社リコー
液体吐出装置、及び液体吐出方法
13日前
続きを見る
他の特許を見る