TOP
|
特許
|
意匠
|
商標
特許ウォッチ
Twitter
他の特許を見る
10個以上の画像は省略されています。
公開番号
2025139750
公報種別
公開特許公報(A)
公開日
2025-09-29
出願番号
2024038757
出願日
2024-03-13
発明の名称
後処理装置および画像形成装置
出願人
株式会社リコー
代理人
弁理士法人酒井国際特許事務所
主分類
B65H
37/04 20060101AFI20250919BHJP(運搬;包装;貯蔵;薄板状または線条材料の取扱い)
要約
【課題】用紙束に対する綴じ処理が不良である場合においてステープラの故障および用紙束の破損の発生を抑制することができる後処理装置および画像形成装置を提供する。
【解決手段】用紙束に対して綴じ処理を行う綴じ装置と、綴じ装置による綴じ処理の動作音を入力する集音装置と、集音装置により入力された動作音が、正常であるか否かを判定する判定部と、判定部により動作音が正常でないと判定された場合、綴じ処理が不良である旨の通知を行う通知部と、を備える。
【選択図】図6
特許請求の範囲
【請求項1】
用紙束に対して綴じ処理を行う綴じ装置と、
前記綴じ装置による前記綴じ処理の動作音を入力する集音装置と、
前記集音装置により入力された前記動作音が、正常であるか否かを判定する判定部と、
前記判定部により前記動作音が正常でないと判定された場合、前記綴じ処理が不良である旨の通知を行う通知部と、
を備えた後処理装置。
続きを表示(約 1,100 文字)
【請求項2】
前記判定部は、前記動作音が正常でないと判定した場合に、該動作音の種類を判別し、
前記通知部は、前記判定部により判別された前記動作音の種類に応じた内容を表示装置に表示させることにより前記通知を行う請求項1に記載の後処理装置。
【請求項3】
前記通知部は、前記判定部により前記動作音が、前記用紙束が正常にセットされていない場合の前記綴じ処理の音であると判別された場合、前記綴じ装置から針の除去を促す内容を前記表示装置に表示させる請求項2に記載の後処理装置。
【請求項4】
前記通知部は、前記判定部により前記動作音が、針が前記用紙束を正常に貫通しなかった場合の前記綴じ処理の音であると判別された場合、適切な枚数で用紙束に対して前記綴じ処理を行うことを促す内容を前記表示装置に表示させる請求項2に記載の後処理装置。
【請求項5】
前記綴じ装置にセットされた前記用紙束を検知する第1検知部と、
前記第1検知部により前記用紙束が検知された場合、前記綴じ装置による前記綴じ処理が可能な準備状態に移行させる制御部と、
をさらに備え、
前記綴じ装置は、前記準備状態である場合において、前記集音装置に対して前記綴じ処理を開始するために音声が入力された場合、または、前記綴じ処理を開始させるための操作手段に対する操作がされた場合、前記綴じ処理を行う請求項1~4のいずれか一項に記載の後処理装置。
【請求項6】
前記制御部は、前記準備状態において前記第1検知部により前記用紙束が検知されなくなった場合、または、前記綴じ装置による前記綴じ処理の実行後に前記第1検知部により前記用紙束が検知されなくなった場合、前記準備状態を解除する請求項5に記載の後処理装置。
【請求項7】
前記綴じ装置は、前記判定部により前記動作音が、針が前記用紙束を正常に貫通しなかった場合の前記綴じ処理の音であると判別された場合、前記用紙束に対する綴じ状態を解除する請求項2または4に記載の後処理装置。
【請求項8】
人を検知する第2検知部と、
前記第2検知部による検知状態に応じて、前記集音装置の集音方向を変更する制御部と、
をさらに備えた請求項1~4のいずれか一項に記載の後処理装置。
【請求項9】
前記制御部は、前記綴じ処理が開始される前に、前記集音装置の集音方向を、前記綴じ装置が配置された方向に変更する請求項8に記載の後処理装置。
【請求項10】
用紙に画像形成する作像装置と、
請求項1~4のいずれか一項に記載の後処理装置と、
を有する画像形成装置。
発明の詳細な説明
【技術分野】
【0001】
本発明は、後処理装置および画像形成装置に関する。
続きを表示(約 3,100 文字)
【背景技術】
【0002】
綴じ処理を行う後処理装置において、手差しによる手動操作によって綴じ処理を行う技術が既に知られている。
【0003】
このような綴じ処理を行う装置として、音声入力により綴じ処理を実行させる際に利用者の意図に反する動作の発生を防止するために、音声入力されなかった設定項目がある場合、設定項目の規定値の組み合わせに応じて、利用者に問い合わせするか否かを判断する構成が開示されている(例えば特許文献1)。
【発明の概要】
【発明が解決しようとする課題】
【0004】
しかしながら、従来の技術では、用紙束に正しく綴じ処理ができない状態で綴じ処理を行ってしまうと、ステープラの故障または用紙束の破損を引き起こしてしまうという問題があった。用紙束に正しく綴じ処理ができない状態とは、例えば、用紙束が正しくセットされていない状態、または最大綴じ枚数を超えた用紙束をセットした状態等である。用紙束が正しくセットされていない状態で綴じ処理を行ってしまうと、ステープラに針が残ることがあり、針が残っている状態で綴じ処理を行うとステープラの故障を引き起こす。また、最大綴じ枚数を超えた用紙束をセットした状態で綴じ処理を行ってしまうと、針が用紙束を貫通せず途中で針が止まり、ステープラが用紙束をロックした状態となるため、当該用紙束を引き抜く際に当該用紙束の破損を引き起こす。
【0005】
本発明は、上記に鑑みてなされたものであって、用紙束に対する綴じ処理が不良である場合においてステープラの故障および用紙束の破損の発生を抑制することができる後処理装置および画像形成装置を提供することを目的とする。
【課題を解決するための手段】
【0006】
上述した課題を解決し、目的を達成するために、本発明は、用紙束に対して綴じ処理を行う綴じ装置と、前記綴じ装置による前記綴じ処理の動作音を入力する集音装置と、前記集音装置により入力された前記動作音が、正常であるか否かを判定する判定部と、前記判定部により前記動作音が正常でないと判定された場合、前記綴じ処理が不良である旨の通知を行う通知部と、を備えたことを特徴とする。
【発明の効果】
【0007】
本発明によれば、用紙束に対する綴じ処理が不良である場合においてステープラの故障および用紙束の破損の発生を抑制することができる。
【図面の簡単な説明】
【0008】
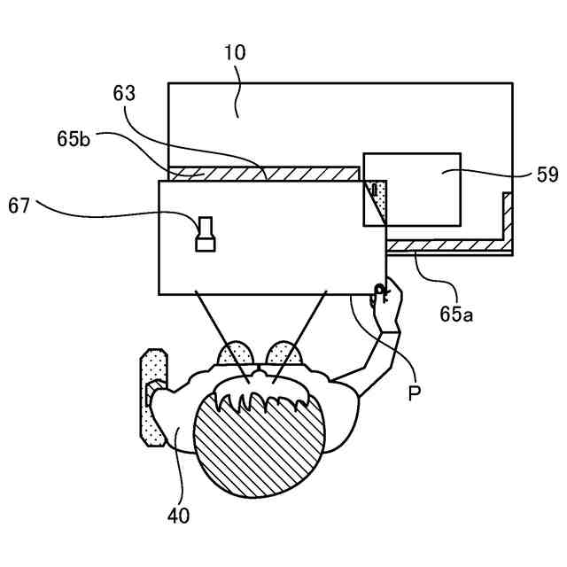
図1は、第1の実施形態に係る画像形成装置の全体構成の概要の一例を示す図である。
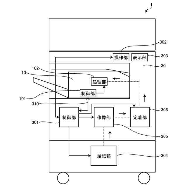
図2は、第1の実施形態に係る画像形成装置のブロック構成の一例を示す図である。
図3は、第1の実施形態に係る画像形成装置の全体構成の概要の別の例を示す図である。
図4は、第1の実施形態に係る画像形成装置のブロック構成の別の例を示す図である。
図5は、第1の実施形態に係る画像形成装置のインナーフィニッシャの構成の一例を示す図である。
図6は、第1の実施形態に係る画像形成装置のハードウェア構成の一例を示す図である。
図7は、第1の実施形態に係る画像形成装置のインナーフィニッシャのマニュアル綴じ処理の流れの一例を示すフローチャートである。
図8は、ステープラにより綴じ処理が行われた場合の音の波形の一例を示す図である。
図9は、第1の実施形態に係る画像形成装置において用紙束が正しくセットされていない状態で綴じ処理を行った場合を説明する図である。
図10は、第1の実施形態に係る画像形成装置において用紙束が正しくセットされていない状態で綴じ処理を行った場合に表示される画面の一例を示す図である。
図11は、第1の実施形態に係る画像形成装置において最大綴じ枚数を超えた用紙束をセットした状態で綴じ処理を行った場合の状態を説明する図である。
図12は、第1の実施形態に係る画像形成装置において最大綴じ枚数を超えた用紙束をセットした状態で綴じ処理を行った場合に表示される画面の一例を示す図である。
図13は、第1の実施形態に係る画像形成装置において最大綴じ枚数を超えた用紙束をセットした状態で綴じ処理を行った場合の動作を説明する図である。
図14は、第2の実施形態に係る画像形成装置のインナーフィニッシャの構成の一例を示す図である。
図15は、第2の実施形態に係る画像形成装置のハードウェア構成の一例を示す図である。
図16は、第2の実施形態に係る画像形成装置のインナーフィニッシャのマニュアル綴じ処理の流れの一例を示すフローチャートである。
図17は、第3の実施形態に係る画像形成装置のインナーフィニッシャの構成の一例を示す図である。
図18は、第3の実施形態に係る画像形成装置のインナーフィニッシャの動作を説明する図である。
図19は、第3の実施形態に係る画像形成装置のハードウェア構成の一例を示す図である。
図20は、第3の実施形態に係る画像形成装置のインナーフィニッシャのマニュアル綴じ処理の流れの一例を示すフローチャートである。
図21は、第3の実施形態の変形例に係る画像形成装置のインナーフィニッシャの動作を説明する図である。
図22は、第3の実施形態の変形例に係る画像形成装置のインナーフィニッシャのマニュアル綴じ処理の流れの一例を示すフローチャートである。
図23は、第4の実施形態に係る画像形成装置のインナーフィニッシャの構成の一例を示す図である。
図24は、第4の実施形態に係る画像形成装置のインナーフィニッシャの動作を説明する図である。
図25は、第4の実施形態に係る画像形成装置のハードウェア構成の一例を示す図である。
図26は、第4の実施形態に係る画像形成装置のインナーフィニッシャのマニュアル綴じ処理の流れの一例を示すフローチャートである。
図27は、第4の実施形態の変形例に係る画像形成装置のインナーフィニッシャの動作を説明する図である。
図28は、第4の実施形態の変形例に係る画像形成装置のインナーフィニッシャのマニュアル綴じ処理の流れの一例を示すフローチャートである。
【0009】
以下に、図面を参照しながら、本発明に係る後処理装置および画像形成装置の実施形態を詳細に説明する。また、以下の実施形態によって本発明が限定されるものではなく、以下の実施形態における構成要素には、当業者が容易に想到できるもの、実質的に同一のもの、およびいわゆる均等の範囲のものが含まれる。さらに、以下の実施形態の要旨を逸脱しない範囲で構成要素の種々の省略、置換、変更および組み合わせを行うことができる。
【0010】
[第1の実施形態]
(画像形成装置の全体構成およびブロック構成)
図1は、第1の実施形態に係る画像形成装置の全体構成の概要の一例を示す図である。図2は、第1の実施形態に係る画像形成装置のブロック構成の一例を示す図である。図3は、第1の実施形態に係る画像形成装置の全体構成の概要の別の例を示す図である。図4は、第1の実施形態に係る画像形成装置のブロック構成の別の例を示す図である。図1~図4を参照しながら、本実施形態に係る画像形成装置1の全体構成およびブロック構成について説明する。
(【0011】以降は省略されています)
この特許をJ-PlatPat(特許庁公式サイト)で参照する
関連特許
株式会社リコー
移動体
16日前
株式会社リコー
画像形成装置
2日前
株式会社リコー
機器及び異常判定方法
2日前
株式会社リコー
画像形成装置及びシステム
今日
株式会社リコー
定着装置、及び画像形成装置
2日前
株式会社リコー
表示装置、切替方法、プログラム
7日前
株式会社リコー
通信装置、通信方法、及びプログラム
今日
株式会社リコー
通信端末、通信方法、及びプログラム
今日
株式会社リコー
シート給送装置及び画像形成システム
3日前
株式会社リコー
加熱装置、定着装置及び画像形成装置
1日前
株式会社リコー
光源装置、画像投影装置および調整方法
7日前
株式会社リコー
ノード、データ共有方法、及びプログラム
14日前
株式会社リコー
通信装置、状態制御方法、及びプログラム
3日前
株式会社リコー
画像形成装置、情報処理方法及びプログラム
今日
株式会社リコー
画像形成装置、及び、プロセスカートリッジ
7日前
株式会社リコー
画像読取装置、画像判定方法およびプログラム
今日
株式会社リコー
画像形成装置、情報処理方法およびプログラム
1日前
株式会社リコー
モノクロ用光走査装置及びモノクロ画像形成装置
今日
株式会社リコー
表示装置、表示方法、プログラム、表示システム
15日前
株式会社リコー
対話装置、対話システム、対話方法及びプログラム
14日前
株式会社リコー
情報処理装置、情報処理システムおよび情報処理方法
14日前
株式会社リコー
情報処理システム、情報処理装置および情報処理方法
14日前
株式会社リコー
電気機器、画像形成装置、制御方法、及びプログラム
10日前
株式会社リコー
情報処理装置、情報処理システム、情報処理方法及びプログラム
14日前
株式会社リコー
情報処理装置、情報処理システム、情報処理方法及びプログラム
16日前
株式会社リコー
情報処理装置、画面作成方法、プログラム、及び情報処理システム
1日前
株式会社リコー
情報処理装置、画面作成方法、プログラム、及び情報処理システム
10日前
株式会社リコー
情報処理装置、情報処理方法、プログラム、および情報処理システム
14日前
株式会社リコー
手書き入力装置、手書き入力システム、手書き入力方法、プログラム
14日前
株式会社リコー
表示装置、表示方法、プログラム
7日前
株式会社リコー
画像処理装置、方法、およびプログラム
7日前
株式会社リコー
情報処理システム、情報処理方法およびプログラム
9日前
株式会社リコー
通信端末、取引システム、表示方法、及びプログラム
2日前
株式会社リコー
情報処理システム、サービス提供システム、設定方法
9日前
株式会社リコー
電子写真画像形成用キャリア、二成分現像剤、プロセスカートリッジ、画像形成装置、及び画像形成方法
15日前
株式会社リコー
通信端末、画像通信システム、表示方法、及びプログラム
7日前
続きを見る
他の特許を見る