TOP
|
特許
|
意匠
|
商標
特許ウォッチ
Twitter
他の特許を見る
公開番号
2025150416
公報種別
公開特許公報(A)
公開日
2025-10-09
出願番号
2024051274
出願日
2024-03-27
発明の名称
電子写真画像形成用キャリア、二成分現像剤、プロセスカートリッジ、画像形成装置、及び画像形成方法
出願人
株式会社リコー
代理人
個人
,
個人
主分類
G03G
9/113 20060101AFI20251002BHJP(写真;映画;光波以外の波を使用する類似技術;電子写真;ホログラフイ)
要約
【課題】長期間に亘ってキャリア付着及びゴースト画像を抑える電子写真画像形成用キャリアを提供すること。
【解決手段】芯材粒子及び前記芯材粒子を被覆する被覆膜を含む粒子を有する電子写真画像形成用キャリアであって、前記電子写真画像形成用キャリアの50%粒子径(D50)は40~60μmであり、粒子径が22μm未満の粒子の含有量は0.10個数%未満であり、粒子径が24μm未満の粒子の含有量は0.10~5.00個数%である、電子写真画像形成用キャリア。
【選択図】なし
特許請求の範囲
【請求項1】
芯材粒子及び前記芯材粒子を被覆する被覆膜を含む粒子を有する電子写真画像形成用キャリアであって、
前記電子写真画像形成用キャリアの50%粒子径(D50)は40~60μmであり、
粒子径が22μm未満の粒子の含有量は0.10個数%未満であり、
粒子径が24μm未満の粒子の含有量は0.10~5.00個数%である、電子写真画像形成用キャリア。
続きを表示(約 800 文字)
【請求項2】
前記被覆膜が無機微粒子を含有する、請求項1に記載の電子写真画像形成用キャリア。
【請求項3】
前記無機微粒子が硫酸バリウムを含有する、請求項2に記載の電子写真画像形成用キャリア。
【請求項4】
請求項1から3のいずれか一項に記載の電子写真画像形成用キャリア及びトナーを含む、二成分現像剤。
【請求項5】
静電潜像担持体と、
前記静電潜像担持体の表面を帯電させる帯電手段と、
前記静電潜像担持体上に形成された静電潜像を、請求項4に記載の二成分現像剤を用いて現像してトナー像を形成する現像手段と、
前記静電潜像担持体をクリーニングするクリーニング手段と、
を有することを特徴とするプロセスカートリッジ。
【請求項6】
静電潜像担持体と、
前記静電潜像担持体を帯電させる帯電手段と、
前記静電潜像担持体上に静電潜像を形成する静電潜像形成手段と、
前記静電潜像担持体上に形成された静電潜像を、請求項4に記載の二成分現像剤を用いて現像してトナー像を形成する現像手段と、
前記静電潜像担持体上に形成されたトナー像を記録媒体に転写する転写手段と、
前記記録媒体に転写されたトナー像を定着させる定着手段と、
を有することを特徴とする画像形成装置。
【請求項7】
静電潜像担持体上に静電潜像を形成する静電潜像形成工程と、
前記静電潜像担持体上に形成された静電潜像を、請求項4に記載の二成分現像剤を用いて現像してトナー像を形成する現像工程と、
前記静電潜像担持体上に形成されたトナー像を記録媒体に転写する転写工程と、
前記記録媒体に転写されたトナー像を定着させる定着工程と、
を含むことを特徴とする画像形成方法。
発明の詳細な説明
【技術分野】
【0001】
本発明は、電子写真画像形成用キャリア、二成分現像剤、プロセスカートリッジ、画像形成装置、及び画像形成方法に関する。
続きを表示(約 1,800 文字)
【背景技術】
【0002】
近年、電子写真方式の画像形成方法においては、印刷並みの高画質を求められるようになってきており、その要望に対応すべく、種々の改良・開発を行っている。それらの中でも、長期間に渡っての高画質安定性、特にその中でもゴースト画像と呼ばれる、画像を印刷したときに色の濃度差が発生することが問題となっており、トナー、キャリア、及び現像手段などの改良が行われている。高画質安定性についてはキャリアの抵抗を下げると達成できるが、副作用として印字ベタ部へのキャリア付着が発生しやすくなり、キャリア、現像手段内で対応が行われている。
【0003】
キャリアに関しては、例えば、特許文献1には、キャリア抵抗値の変化が少なく、スペントが少ないトナーを作製するため、キャリアの断面を見たとき、芯材粒子の形状係数SF2が120~160の範囲にあり、かつフィラーの面積率が樹脂被覆膜全体の30~85%であり、芯材粒子の平均ドメイン径とフィラーの個数平均粒子径の比が1:1~1:0.003の範囲にある静電潜像現像剤用キャリアが提案されている。
【0004】
また、特許文献2には、高耐久化を可能にするキャリアとして、磁性を有する芯材粒子とその表面を被覆する樹脂層とからなり、樹脂層中に導電性微粒子を含む静電潜像現像剤用キャリアであって、前記導電性微粒子は白色無機顔料に導電材としてリンドープスズまたはタングステンドープスズを皮膜した導電性微粒子であり、導電材の、スズに対するリンまたはタングステンのドープされた比率が0.010~0.100である静電潜像現像剤用キャリアが提案されている。
【0005】
また、特許文献3には、現像器内のトナー濃度が低下した場合でも現像剤の流動性の増加を抑制するため、キャリア粒子として、芯材と該芯材を被覆する被覆膜とを有する単体粒子と、2個以上の単体粒子が被覆膜を介して結着した会合粒子と、を含み、前記単体粒子の平均粒子径D1が前記会合粒子の平均粒子径D2よりも小さく、且つ、前記単体粒子の粒子数N1と前記会合粒子の粒子数N2との総和に対する前記会合粒子の粒子数N2の割合が5個数%以上である静電荷像現像用キャリアが提案されている。
【発明の概要】
【発明が解決しようとする課題】
【0006】
本発明は、長期間に亘ってキャリア付着及びゴースト画像を抑える電子写真画像形成用キャリアを提供することを目的とする。
【課題を解決するための手段】
【0007】
上記課題を解決するために、本発明の一実施の形態は、
芯材粒子及び前記芯材粒子を被覆する被覆膜を含む粒子を有する電子写真画像形成用キャリアであって、
前記電子写真画像形成用キャリアの50%粒子径(D50)は40~60μmであり、
粒子径が22μm未満の粒子の含有量は0.10個数%未満であり、
粒子径が24μm未満の粒子の含有量は0.10~5.00個数%である、電子写真画像形成用キャリアを提供する。
【発明の効果】
【0008】
本発明の実施の一形態によれば、長期間に亘ってキャリア付着及びゴースト画像を抑える電子写真画像形成用キャリアを提供することができる。
【図面の簡単な説明】
【0009】
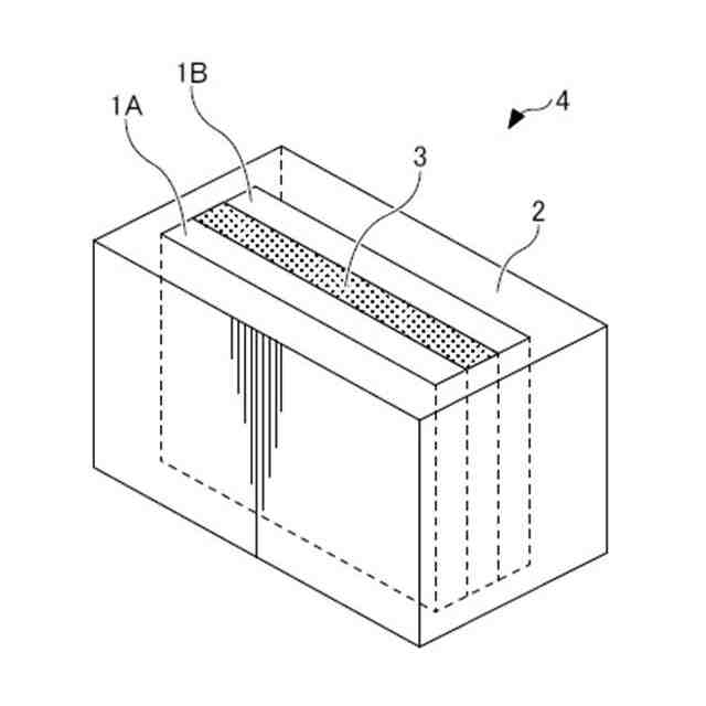
ゴースト画像を説明するための縦帯チャートである。
図1に示す縦帯チャートが異常画像として印刷された画像の一例である。
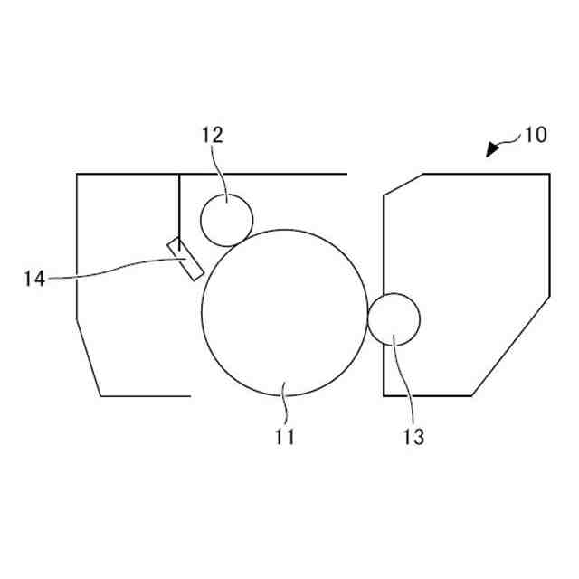
本発明の一実施形態に係る電子写真画像形成用キャリアの体積固有抵抗を測定する方法の一例を示す図である。
本発明の一実施形態に係るプロセスカートリッジの一例を示す概略図である。
本発明の一実施形態に係る画像形成装置の一例を示す図である。
【発明を実施するための形態】
【0010】
従来技術において、電子写真画像形成用キャリア等の種々の静電潜像現像剤用キャリアの改良が提案されているが、長期間に亘るキャリア付着及びゴースト画像の抑制についてはいまだ十分満足できるものではなく、さらなる改良が望まれている。
(【0011】以降は省略されています)
この特許をJ-PlatPat(特許庁公式サイト)で参照する
関連特許
株式会社リコー
移動体
5日前
株式会社リコー
感熱記録媒体
11日前
株式会社リコー
画像形成装置
17日前
株式会社リコー
画像形成装置
10日前
株式会社リコー
画像形成装置
14日前
株式会社リコー
画像形成装置
14日前
株式会社リコー
画像形成装置
14日前
株式会社リコー
印刷システム
14日前
株式会社リコー
印刷応答補償機構
18日前
株式会社リコー
画像形成システム
10日前
株式会社リコー
生体情報測定装置
11日前
株式会社リコー
拡張アンテナ装置
17日前
株式会社リコー
マーキングシステム
17日前
株式会社リコー
液体を吐出する装置
11日前
株式会社リコー
電極及びその製造方法
12日前
株式会社リコー
電極及びその製造方法
14日前
株式会社リコー
多孔質構造体の製造方法
14日前
株式会社リコー
定着装置及び画像形成装置
18日前
株式会社リコー
塗装システム、及び塗装方法
14日前
株式会社リコー
ファイル分析・保存システム
14日前
株式会社リコー
パルスバルブおよび塗布装置
14日前
株式会社リコー
液体塗布装置および洗浄方法
14日前
株式会社リコー
印刷装置および印刷システム
10日前
株式会社リコー
定着装置、及び、画像形成装置
14日前
株式会社リコー
液体吐出装置及び液体吐出方法
10日前
株式会社リコー
定着装置、及び、画像形成装置
14日前
株式会社リコー
後処理装置および画像形成装置
14日前
株式会社リコー
液体吐出装置、及び液体吐出方法
14日前
株式会社リコー
パーソナライズビデオメカニズム
12日前
株式会社リコー
ベルト装置、及び、画像形成装置
10日前
株式会社リコー
システム、方法およびプログラム
10日前
株式会社リコー
レーザ照射装置、レーザ照射方法
14日前
株式会社リコー
媒体処理装置及び画像形成システム
10日前
株式会社リコー
見積書作成装置、方法、プログラム
14日前
株式会社リコー
媒体処理装置及び画像形成システム
12日前
株式会社リコー
媒体処理装置及び画像形成システム
11日前
続きを見る
他の特許を見る