TOP
|
特許
|
意匠
|
商標
特許ウォッチ
Twitter
他の特許を見る
10個以上の画像は省略されています。
公開番号
2025141425
公報種別
公開特許公報(A)
公開日
2025-09-29
出願番号
2024041349
出願日
2024-03-15
発明の名称
定着装置、及び、画像形成装置
出願人
株式会社リコー
代理人
個人
主分類
G03G
15/20 20060101AFI20250919BHJP(写真;映画;光波以外の波を使用する類似技術;電子写真;ホログラフイ)
要約
【課題】経時においても潤滑剤保持部材における潤滑剤の保持性を充分に維持する。
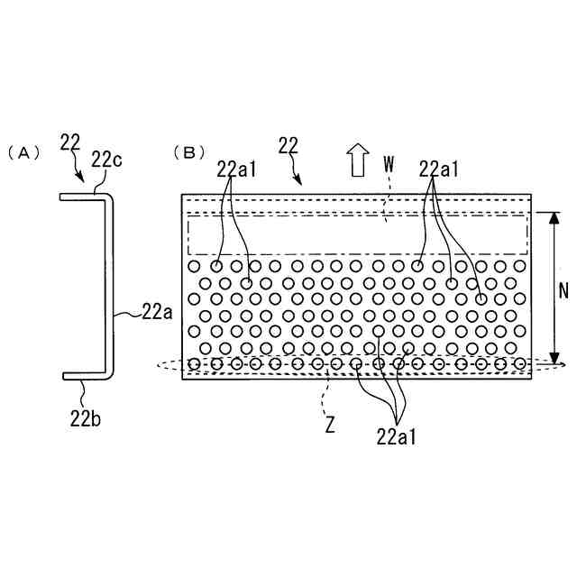
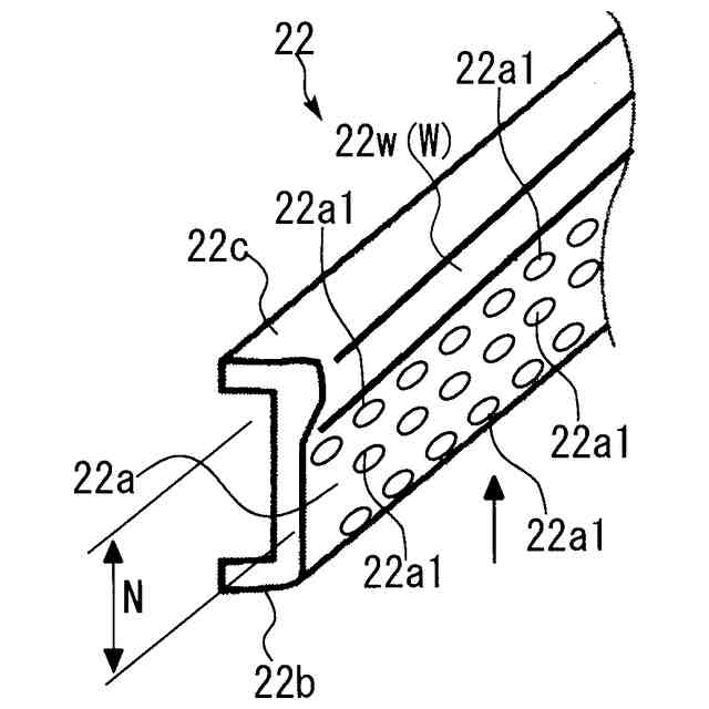
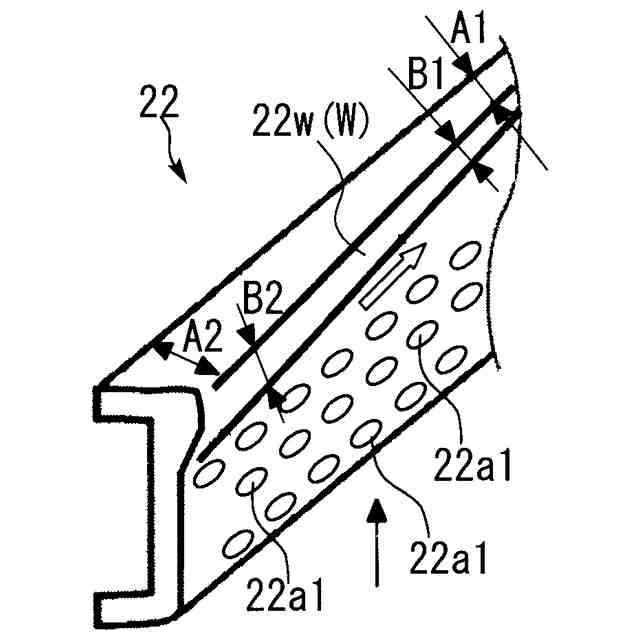
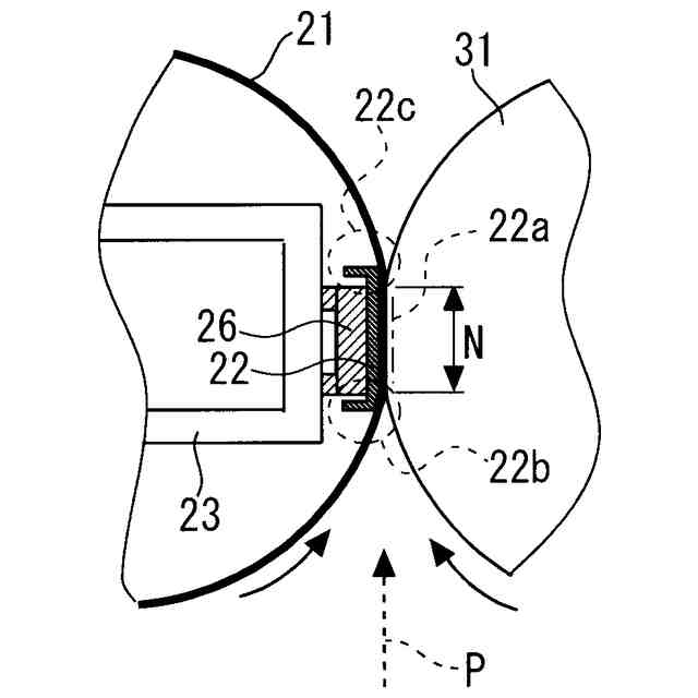
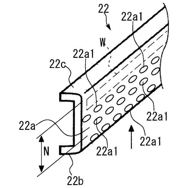
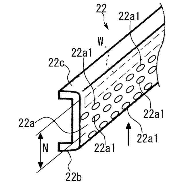
【解決手段】、ヒータ25(加熱手段)によって加熱されて、所定の回転方向に回転する無端状の定着ベルト21が設けられている。また、定着ベルト21を介して加圧ローラ31(加圧回転体)に圧接してシートPが搬送されるニップ部Nを形成するニップ形成部材26が、定着ベルト21の内周面側に配置されている。さらに、潤滑剤を保持可能な均熱部材22(潤滑剤保持部材)が、ニップ形成部材26と定着ベルト21との間に介在されている。そして、均熱部材22は、定着ベルト21の内周面に摺接する摺接面22aにおいて、回転方向下流側の全域に非凹部Wが形成されて、少なくとも非凹部Wを除く部分に複数の凹部22a1が形成されている。
【選択図】図6
特許請求の範囲
【請求項1】
加熱手段によって加熱されて、所定の回転方向に回転する無端状の定着ベルトと、
前記定着ベルトの内周面側に配置されて、前記定着ベルトを介して加圧回転体に圧接してシートが搬送されるニップ部を形成するニップ形成部材と、
前記ニップ形成部材と前記定着ベルトとの間に介在されて、潤滑剤を保持可能な潤滑剤保持部材と、
を備え、
前記潤滑剤保持部材は、前記定着ベルトの内周面に摺接する摺接面において、回転方向下流側の全域に非凹部が形成されて、少なくとも前記非凹部を除く部分に複数の凹部が形成されたことを特徴とする定着装置。
続きを表示(約 840 文字)
【請求項2】
前記複数の凹部は、前記摺接面において前記非凹部を除く部分の全域にわたって形成されたことを特徴とする請求項1に記載の定着装置。
【請求項3】
前記潤滑剤保持部材は、回転方向上流側において前記ニップ部から離れる方向に起立する上流側起立部を具備し、
前記複数の凹部は、前記摺接面と前記上流側起立部とが交差する部分にも形成されたことを特徴とする請求項2に記載の定着装置。
【請求項4】
前記非凹部は、その表面が平滑に形成されたことを特徴とする請求項1又は請求項2に記載の定着装置。
【請求項5】
前記非凹部は、平滑に形成された表面上に、前記ニップ部の側に突出して幅方向に延在する凸部が形成されたことを特徴とする請求項1又は請求項2に記載の定着装置。
【請求項6】
前記凸部は、幅方向両端部の突出高さが幅方向中央部の突出高さに比べて高くて、幅方向両端部の回転方向の厚みが幅方向中央部の回転方向の厚みに比べて厚いことを特徴とする請求項5に記載の定着装置。
【請求項7】
前記潤滑剤保持部材は、前記接触面において熱を幅方向に均一化する均熱部材であることを特徴とする請求項1又は請求項2に記載の定着装置。
【請求項8】
前記ニップ形成部材と前記潤滑剤保持部材と前記定着ベルトとを介して前記加圧ローラに当接するように、前記定着ベルトの内側に設置された補強部材と、
前記定着ベルトの略筒状の姿勢が保持されるように前記定着ベルトの幅方向両端部をそれぞれガイドするガイド部材と、
を備え、
前記加熱手段は、前記ニップ部とは異なる前記定着ベルトの周方向の領域を加熱領域として加熱するように構成されたことを特徴とする請求項1又は請求項2に記載の定着装置。
【請求項9】
請求項1又は請求項2に記載の定着装置を備えたことを特徴とする画像形成装置。
発明の詳細な説明
【技術分野】
【0001】
この発明は、シートの表面に担持されたトナー像を加熱して定着させる定着装置と、それを備えた複写機、プリンタ、ファクシミリ、又は、それらの複合機等の画像形成装置と、に関するものである。
続きを表示(約 1,600 文字)
【背景技術】
【0002】
従来から、複写機、プリンタ等の画像形成装置に設置される定着装置において、定着ベルトとニップ形成部材との間に均熱部材などの潤滑剤保持部材を設置したものが知られている(例えば、特許文献1参照。)。
【0003】
一方、特許文献1には、均熱部材における潤滑剤の保持性を高めることを目的として、均熱部材における摺接面の全域に複数の凹部を形成する技術が開示されている。
【発明の概要】
【発明が解決しようとする課題】
【0004】
特許文献1の定着装置は、均熱部材(潤滑剤保持部材)の摺接面に複数の凹部が形成されているため、潤滑剤の保持性が高まる効果が大いに期待できる。
しかし、経時で潤滑剤保持部材における下流側から潤滑剤が漏出するなどして、潤滑剤の保持性がまだまだ充分ではなかった。そのため、経時で定着装置の駆動トルクが上昇してしまう不具合などが生じる可能性があった。
【0005】
この発明は、上述のような課題を解決するためになされたもので、経時においても潤滑剤保持部材における潤滑剤の保持性が充分に維持される、定着装置、及び、画像形成装置を提供することにある。
【課題を解決するための手段】
【0006】
この発明における定着装置は、加熱手段によって加熱されて、所定の回転方向に回転する無端状の定着ベルトと、前記定着ベルトの内周面側に配置されて、前記定着ベルトを介して加圧回転体に圧接してシートが搬送されるニップ部を形成するニップ形成部材と、前記ニップ形成部材と前記定着ベルトとの間に介在されて、潤滑剤を保持可能な潤滑剤保持部材と、を備え、前記潤滑剤保持部材は、前記定着ベルトの内周面に摺接する摺接面において、回転方向下流側の全域に非凹部が形成されて、少なくとも前記非凹部を除く部分に複数の凹部が形成されたものである。
【発明の効果】
【0007】
本発明によれば、経時においても潤滑剤保持部材における潤滑剤の保持性が充分に維持される、定着装置、及び、画像形成装置を提供することができる。
【図面の簡単な説明】
【0008】
この発明の実施の形態における画像形成装置を示す全体構成図である。
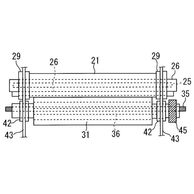
定着装置を示す構成図である。
定着装置を幅方向にみた側面図である。
ニップ部の近傍を示す拡大図である。
定着ベルトとガイド部材とを幅方向に示す概略図である。
潤滑剤保持部材を示す斜視図である。
潤滑剤保持部材を示す、(A)側面図と、(B)正面図と、である。
変形例1としての、潤滑剤保持部材を示す斜視図である。
変形例2としての、潤滑剤保持部材を示す斜視図である。
【発明を実施するための形態】
【0009】
以下、この発明を実施するための形態について、図面を参照して詳細に説明する。なお、各図中、同一又は相当する部分には同一の符号を付しており、その重複説明は適宜に簡略化ないし省略する。
【0010】
まず、図1にて、画像形成装置1における全体の構成・動作について説明する。
図1に示すように、本実施の形態における画像形成装置1は、タンデム型カラープリンタである。画像形成装置本体1の上方にあるボトル収容部101には、各色(イエロー、マゼンタ、シアン、ブラック)に対応した4つのトナーボトル102Y、102M、102C、102Kが着脱可能(交換可能)に設置されている。
ボトル収容部101の下方には中間転写ユニット85が配設されている。その中間転写ユニット85の中間転写ベルト78に対向するように、各色(イエロー、マゼンタ、シアン、ブラック)に対応した作像部4Y、4M、4C、4Kが並設されている。
(【0011】以降は省略されています)
この特許をJ-PlatPat(特許庁公式サイト)で参照する
関連特許
株式会社リコー
感熱記録媒体
3日前
株式会社リコー
画像形成装置
6日前
株式会社リコー
画像形成装置
2日前
株式会社リコー
画像形成装置
6日前
株式会社リコー
印刷システム
6日前
株式会社リコー
画像形成装置
9日前
株式会社リコー
画像形成装置
6日前
株式会社リコー
拡張アンテナ装置
9日前
株式会社リコー
生体情報測定装置
3日前
株式会社リコー
画像形成システム
2日前
株式会社リコー
液体を吐出する装置
3日前
株式会社リコー
電極及びその製造方法
6日前
株式会社リコー
電極及びその製造方法
4日前
株式会社リコー
多孔質構造体の製造方法
6日前
株式会社リコー
塗装システム、及び塗装方法
6日前
株式会社リコー
パルスバルブおよび塗布装置
6日前
株式会社リコー
印刷装置および印刷システム
2日前
株式会社リコー
ファイル分析・保存システム
6日前
株式会社リコー
液体塗布装置および洗浄方法
6日前
株式会社リコー
定着装置、及び、画像形成装置
6日前
株式会社リコー
液体吐出装置及び液体吐出方法
2日前
株式会社リコー
定着装置、及び、画像形成装置
6日前
株式会社リコー
後処理装置および画像形成装置
6日前
株式会社リコー
パーソナライズビデオメカニズム
4日前
株式会社リコー
システム、方法およびプログラム
2日前
株式会社リコー
ベルト装置、及び、画像形成装置
2日前
株式会社リコー
液体吐出装置、及び液体吐出方法
6日前
株式会社リコー
レーザ照射装置、レーザ照射方法
6日前
株式会社リコー
液体吐出ヘッドおよび液体吐出装置
3日前
株式会社リコー
媒体処理装置及び画像形成システム
4日前
株式会社リコー
mRNA発現量の免疫学的評価方法
3日前
株式会社リコー
見積書作成装置、方法、プログラム
6日前
株式会社リコー
媒体処理装置及び画像形成システム
2日前
株式会社リコー
媒体処理装置及び画像形成システム
2日前
株式会社リコー
媒体処理装置及び画像形成システム
2日前
株式会社リコー
媒体処理装置及び画像形成システム
2日前
続きを見る
他の特許を見る