TOP
|
特許
|
意匠
|
商標
特許ウォッチ
Twitter
他の特許を見る
10個以上の画像は省略されています。
公開番号
2025143177
公報種別
公開特許公報(A)
公開日
2025-10-01
出願番号
2024190796
出願日
2024-10-30
発明の名称
媒体処理装置及び画像形成システム
出願人
株式会社リコー
代理人
弁理士法人武和国際特許事務所
主分類
B65H
37/04 20060101AFI20250924BHJP(運搬;包装;貯蔵;薄板状または線条材料の取扱い)
要約
【課題】綴じ処理の実行指令、特に後続の綴じ処理実行指令の有無に応じて、適切な給液制御を実施することにより、ユーザの利便性向上を図る媒体処理装置を提供する。
【解決手段】少なくとも一枚の媒体の一部に液体付与をする液体付与手段と、液体付与手段で液体付与をされた少なくとも一枚の媒体を含む媒体束に処理を施す後処理手段と、液体付与手段による液体付与に用いられる液体を貯留する第1貯液部と、第1貯液部に供給される液体を貯留する第2貯液部と、第2貯液部から第1貯液部に液体を供給する液体供給手段と、後処理手段及び液体供給手段の動作を制御する制御手段と、を備え、制御手段は、前記媒体束への処理に係る実行指令が、当該処理を連続して実行する実行指令である場合、連続する処理のうちの一の処理の実行後においては、前記液体供給手段に前記液体の供給動作を行わないように制御する、媒体処理装置による。
【選択図】図15
特許請求の範囲
【請求項1】
少なくとも一枚の媒体の一部に液体付与をする液体付与手段と、
前記液体付与手段で液体付与をされた少なくとも一枚の前記媒体を含む媒体束に処理を施す後処理手段と、
前記液体付与手段による液体付与に用いられる液体を貯留する第1貯液部と、
前記第1貯液部に供給される前記液体を貯留する第2貯液部と、
前記第2貯液部から前記第1貯液部に前記液体を供給する液体供給手段と、
前記後処理手段及び前記液体供給手段の動作を制御する制御手段と、
を備え、
前記制御手段は、前記媒体束への処理に係る実行指令が、当該処理を連続して実行する実行指令である場合、連続する処理のうちの一の処理の実行後においては、前記液体供給手段に前記液体の供給動作を行わないように制御する、
ことを特徴とする媒体処理装置。
続きを表示(約 1,200 文字)
【請求項2】
前記第1貯液部に貯留されている前記液体の液位を検知する第1液体検知手段を有する、
請求項1に記載の媒体処理装置。
【請求項3】
前記制御手段は、前記一の処理の実行後に連続して実行される他の処理としての後続処理の実行指令が無い場合の前記一の処理の実行後において第1液体検知手段によって前記第1貯液部の液体の液位を判定し、前記液体供給手段に、前記第1貯液部の液体が所定液位になるまで前記液体を供給する定位供給動作を実行させる、
請求項2に記載の媒体処理装置。
【請求項4】
前記制御手段は、前記定位供給動作の実行中に、前記第1液体検知手段によって前記液体の液位が検知されてから所定時間が経過したとき、前記定位供給動作を停止する、
請求項3に記載の媒体処理装置。
【請求項5】
前記制御手段は、前記定位供給動作を実行し、当該定位供給動作が停止されたとき、前記第1貯液部の液体の液位が、前記第1液体検知手段の先端位置よりも高い状態になっている、
請求項3に記載の媒体処理装置。
【請求項6】
前記制御手段は、前記定位供給動作の実行中に、前記第1液体検知手段が前記第1貯液部の液体の液位を検知した場合、前記第1液体検知手段を検知不能状態にする、
請求項3に記載の媒体処理装置。
【請求項7】
前記制御手段は、前記定位供給動作の実行中に、前記液体供給手段を駆動してから所定時間経過しても前記第1液体検知手段が前記第1貯液部の液体の液位を検知しない場合、前記定位供給動作を停止する、
請求項3に記載の媒体処理装置。
【請求項8】
前記制御手段は、前記媒体束への処理に係る実行指令を受けてから前記液体付与の準備供給動作を実行し、前記液体供給手段を駆動してから所定時間経過しても前記第1液体検知手段が前記第1貯液部の液体の液位を検知しない場合、前記液体供給手段を駆動してから所定量の供給動作を実行させる
請求項2に記載の媒体処理装置。
【請求項9】
前記制御手段は、前記媒体束への処理に係る実行指令を受けてから前記液体付与の準備供給動作を実行し、前記液体供給手段を駆動してから所定時間経過しても前記第1液体検知手段が前記第1貯液部の液体の液位を検知しない場合、前記液体供給手段を駆動してから所定時間の供給動作を実行させる、
請求項2に記載の媒体処理装置。
【請求項10】
前記制御手段は、前記液体付与の準備供給動作において、前記液体供給手段を駆動してから前記第1液体検知手段が前記第1貯液部の液体の液位を検知した場合、前記第1液体検知手段を検知不能状態にする、
請求項2に記載の媒体処理装置。
(【請求項11】以降は省略されています)
発明の詳細な説明
【技術分野】
【0001】
本発明は、媒体処理装置及び画像形成システムに関する。
続きを表示(約 2,700 文字)
【背景技術】
【0002】
シート状の媒体を積み重ねたシート束を綴る媒体処理装置が知られている。当該媒体処理装置に適用される綴じ処理として、シート束に貫通させる針状の部材(綴じ部材)を用いて綴
じ
る「針綴じ処理」や、シート束の一部を加圧変形させて綴
じ
る「圧着綴じ処理」などが知られている。
【0003】
圧着綴じをするときにシート状の媒体としての用紙に、液体付与を圧着綴じ装置の小型化を実現する目的で、給水位置において供給ノズルに接続されて液体の供給を受ける構成が開示されている(例えば、特許文献1を参照)。
【発明の概要】
【発明が解決しようとする課題】
【0004】
特許文献1に開示の構成では、綴じ処理の実行指令に応じた液体を供給する動作を制御する給液制御を実施することができず、ユーザの利便性が低下するという課題は解消できない。
【0005】
本発明は、綴じ処理の実行指令、特に後続の綴じ処理実行指令の有無に応じて、適切な給液制御を実施することにより、ユーザの利便性向上を図る媒体処理装置を提供することを目的とする。
【課題を解決するための手段】
【0006】
上記課題を解決するために、本発明の一態様は、媒体処理装置に関し、少なくとも一枚の媒体の一部に液体付与をする液体付与手段と、前記液体付与手段において液体付与をされた少なくとも一枚の前記媒体を含む媒体束に処理を施す後処理手段と、前記液体付与手段による液体付与に用いられる液体を貯留する第1貯液部と、前記第1貯液部に供給される前記液体を貯留する第2貯液部と、前記第2貯液部から前記第1貯液部に前記液体を供給する液体供給手段と、前記後処理手段及び前記液体供給手段の動作を制御する制御手段と、を備え、前記制御手段は、前記媒体束への処理に係る実行指令が、当該処理を連続して実行する実行指令である場合、連続する処理のうちの一の処理の実行後においては、前記液体供給手段に前記液体の供給を行わずに、当該一の処理の後に続く実行指令に係る後続処理を実行する、ことを特徴とする。
【発明の効果】
【0007】
本発明によれば、綴じ処理の実行指令、特に後続の綴じ処理実行指令の有無に応じて、適切な給液制御を実施することにより、ユーザの利便性向上を図ることができる。
【図面の簡単な説明】
【0008】
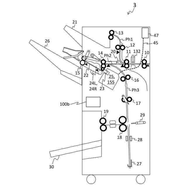
画像形成システムの全体構成を示す図。
第1実施形態に係る後処理装置の内部構造を示す図。
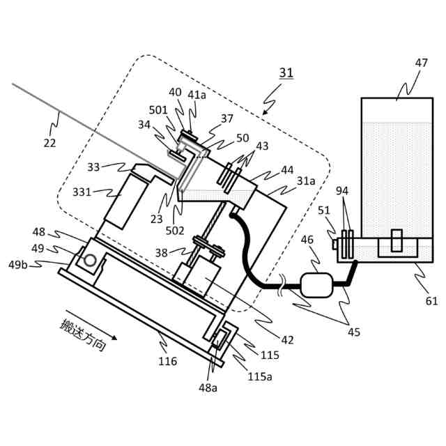
端綴じ処理部を搬送方向の上流側から見た模式図。
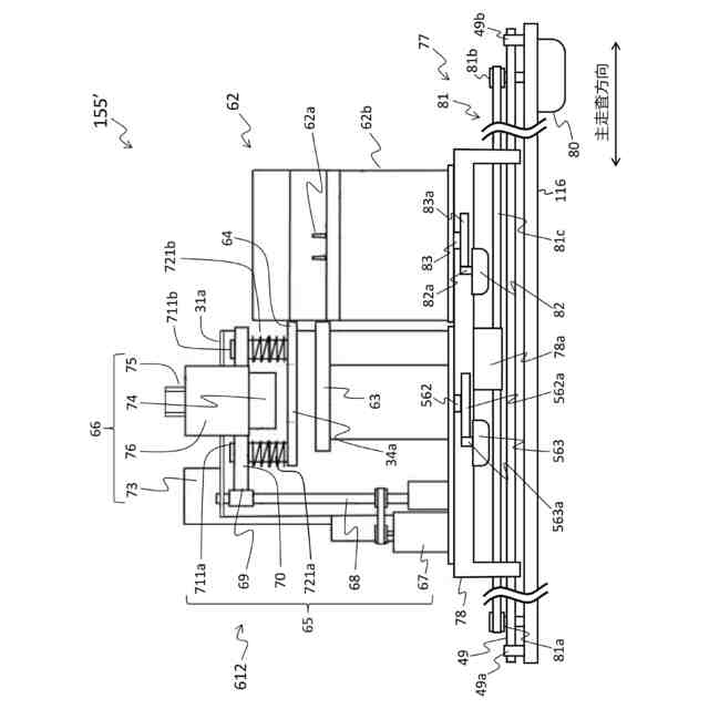
端綴じ処理部を主走査方向の液体付与手段側から見た模式図。
端綴じ処理部の圧着手段の構成を示す模式図。
針綴じ処理部を搬送方向の上流側から見た模式図。
針綴じ処理部の変形例を搬送方向の上流側から見た模式図。
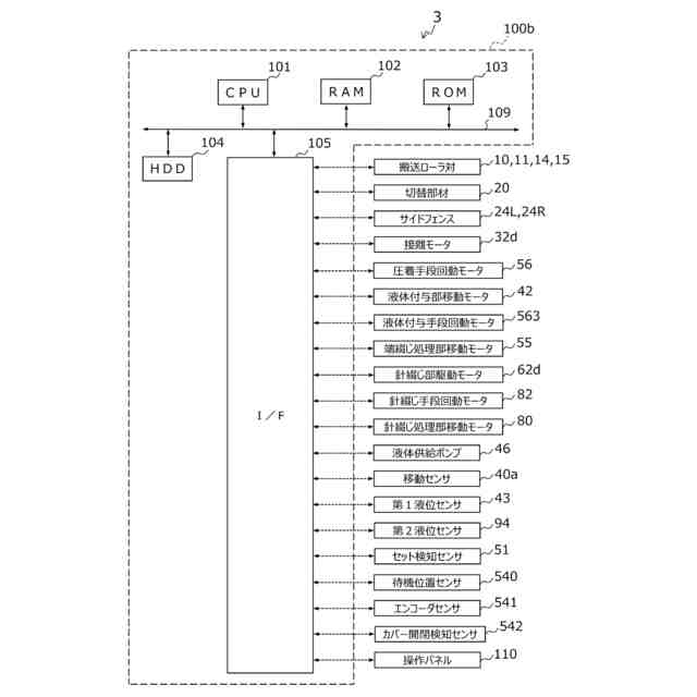
第1実施形態に係る後処理装置を制御する制御ブロックのハードウェア構成図。
後処理装置における第2貯液タンクの配置及び構成を示す図。
後処理装置における第2貯液タンクの着脱構成を示す図。
端綴じ処理部による綴じ処理のフローチャート。
端綴じ処理部による綴じ処理中における液体付与手段及び圧着手段の位置を示す図。
端綴じ処理部による綴じ処理中における液体付与手段及び圧着手段の位置を示す図。
本実施形態に係る後処理動作状況と給排液モードとの対応を例示する図。
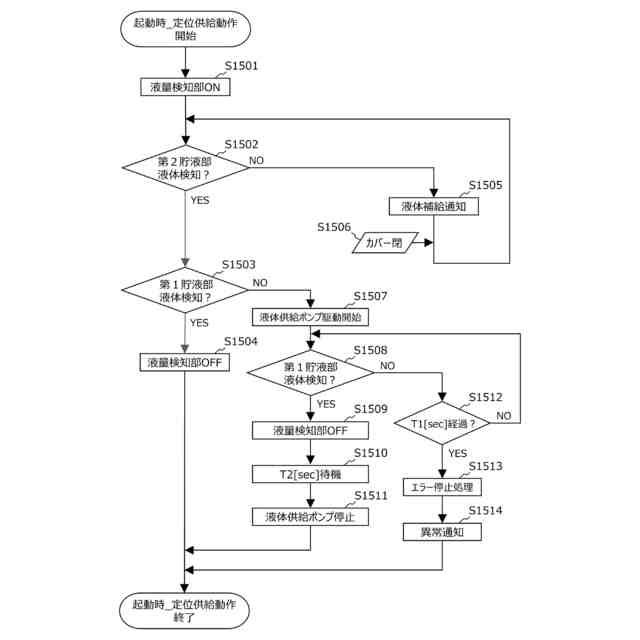
後処理装置の起動時等の定位供給動作のフローチャート。
定位供給動作の概要を説明する図。
本実施形態に係る液体給排液動作を含む全体制御処理のフローチャート。
本実施形態に係るjob準備_液体供給動作制御処理のフローチャート。
job準備_液体供給動作における第1貯液部の液位の例を説明する図。
本実施形態に係るjob後_液体供給動作制御処理のフローチャート。
端綴じ処理部による綴じ処理の変形例を示すフローチャート。
本実施形態に係る給排液モードの一つである液体排出動作の概要説明図。
後処理装置の液体排出動作の制御処理のフローチャート。
後処理装置の操作画面の例を示す図。
後処理装置の制御部の変形例1を示す図。
後処理装置の制御部の変形例2を示す図。
第2実施形態に係る後処理装置の内部構造を示す図。
第2実施形態に係る内部トレイを用紙の厚み方向から見た図。
第2実施形態に係る圧着手段を搬送方向の下流側から見た模式図。
第2実施形態に係る液体付与手段を用紙の厚み方向から見た図。
図30のXXV-XXVにおける断面図。
図30のXXVI-XXVIにおける断面図。
第2実施形態に係る後処理装置の制御ブロックのハードウェア構成図。
第2実施形態に係る後処理装置の後処理フローチャート。
画像形成システムの変形例の全体構成を示す図。
【発明を実施するための形態】
【0009】
[画像形成システム1の実施形態]
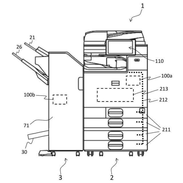
以下、本発明に係る画像形成システム1について、図面を参照しながら説明する。図1は、画像形成システム1の全体構成を示す図である。画像形成システム1は、シート状の媒体の一種としての用紙Pに画像を形成する画像形成機能、画像が形成された用紙Pに対して所定の後処理を施す後処理機能、などを有する。図1に示すように、画像形成システム1は、画像形成機能を有する画像形成装置2と、本発明に係る後処理機能を有する媒体処理装置としての後処理装置3と、を連携して動作するよう構成されている。
【0010】
なお、本実施形態では、画像形成システム1において処理の対象とするシート状の媒体 として「紙」を前提にする説明をしている。しかし、本実施形態に係る処理の対象は、紙に限定されるものではない。例えば、従来から知られている画像形成プロセスを利用して画像形成が可能な媒体であれば、その種類などは問わない。また、折り処理や綴じ処理の対象物となりうる媒体も、これに含むものとし、素材や仕様などを限定するものではない。
(【0011】以降は省略されています)
この特許をJ-PlatPat(特許庁公式サイト)で参照する
関連特許
株式会社リコー
綴じ装置
1か月前
株式会社リコー
画像形成装置
26日前
株式会社リコー
画像形成装置
7日前
株式会社リコー
履帯式走行体
1か月前
株式会社リコー
画像形成装置
3日前
株式会社リコー
画像形成装置
7日前
株式会社リコー
画像形成装置
10日前
株式会社リコー
液体吐出装置
1か月前
株式会社リコー
画像形成装置
25日前
株式会社リコー
画像形成装置
18日前
株式会社リコー
印刷システム
7日前
株式会社リコー
画像形成装置
1か月前
株式会社リコー
画像形成装置
7日前
株式会社リコー
画像形成装置
1か月前
株式会社リコー
画像形成装置
1か月前
株式会社リコー
液体塗布装置
11日前
株式会社リコー
画像形成装置
1か月前
株式会社リコー
映像表示装置
28日前
株式会社リコー
感熱記録媒体
4日前
株式会社リコー
印刷応答補償機構
11日前
株式会社リコー
画像形成システム
3日前
株式会社リコー
情報処理システム
28日前
株式会社リコー
画像投射システム
18日前
株式会社リコー
投薬管理システム
26日前
株式会社リコー
拡張アンテナ装置
10日前
株式会社リコー
生体情報測定装置
4日前
株式会社リコー
液体を吐出する装置
4日前
株式会社リコー
マーキングシステム
10日前
株式会社リコー
カラー画像形成装置
1か月前
株式会社リコー
電極及びその製造方法
7日前
株式会社リコー
電極及びその製造方法
5日前
株式会社リコー
測定装置および測定方法
27日前
株式会社リコー
多孔質構造体の製造方法
7日前
株式会社リコー
測定装置および測定方法
27日前
株式会社リコー
測定装置および測定方法
27日前
株式会社リコー
定着装置及び画像形成装置
11日前
続きを見る
他の特許を見る