TOP
|
特許
|
意匠
|
商標
特許ウォッチ
Twitter
他の特許を見る
10個以上の画像は省略されています。
公開番号
2025140907
公報種別
公開特許公報(A)
公開日
2025-09-29
出願番号
2024040555
出願日
2024-03-14
発明の名称
液体塗布装置および洗浄方法
出願人
株式会社リコー
代理人
弁理士法人酒井国際特許事務所
主分類
B41J
2/165 20060101AFI20250919BHJP(印刷;線画機;タイプライター;スタンプ)
要約
【課題】スプレーによる洗浄液の噴射による吐出ヘッドの吐出面の洗浄力を向上させることができる液体塗布装置および洗浄方法を提供する。
【解決手段】液体を吐出させる複数のノズルが形成された吐出ヘッドを備えた液体塗布装置であって、洗浄液を噴射する複数の第1スプレーと、複数の第1スプレーから噴射される洗浄液の打力分布に応じて、複数の第1スプレーと、吐出ヘッドとを相対的に位置決めさせる移動制御部と、移動制御部により位置決めされた吐出ヘッドの吐出面に対して、複数の第1スプレーから洗浄液を噴射させる第1駆動部と、を備える。
【選択図】図9
特許請求の範囲
【請求項1】
液体を吐出させる複数のノズルが形成された吐出ヘッドを備えた液体塗布装置であって、
洗浄液を噴射する複数の第1スプレーと、
前記複数の第1スプレーから噴射される前記洗浄液の打力分布に応じて、前記複数の第1スプレーと、前記吐出ヘッドとを相対的に位置決めさせる移動制御部と、
前記移動制御部により位置決めされた前記吐出ヘッドの吐出面に対して、前記複数の第1スプレーから前記洗浄液を噴射させる第1駆動部と、
を備えた液体塗布装置。
続きを表示(約 1,200 文字)
【請求項2】
所定の気体を噴射する複数の第2スプレーと、
前記複数の第1スプレーから噴射された前記洗浄液により洗浄された前記吐出ヘッドの前記吐出面に対して、前記複数の第2スプレーから前記所定の気体を噴射させる第2駆動部と、
をさらに備えた請求項1に記載の液体塗布装置。
【請求項3】
前記複数の第2スプレーから前記気体が噴射された前記吐出ヘッドの前記複数のノズルを撮像する撮像部と、
前記撮像部により撮像された前記ノズルそれぞれの第1撮像画像から、該ノズルそれぞれの洗浄状態を判定する判定部と、
をさらに備えた請求項2に記載の液体塗布装置。
【請求項4】
前記判定部は、前記第1撮像画像において前記ノズルにおける所定の閾値以上の明度の領域の面積の、該ノズル全体の面積に対する割合が所定値以上であるか否かを判定し、前記割合が前記所定値以上である場合、該ノズルの洗浄状態が不十分であると判定する請求項3に記載の液体塗布装置。
【請求項5】
前記撮像部は、さらに前記ノズルの周囲を撮像し、
前記判定部は、さらに、前記撮像部により撮像された前記ノズルの周囲の第2撮像画像から、該ノズルの周囲の洗浄状態を判定する請求項3または4に記載の液体塗布装置。
【請求項6】
前記判定部により洗浄状態が不十分であると判定された場合、前記打力分布に基づいて、洗浄状態が不十分である前記ノズルを再度洗浄するための前記吐出ヘッドの前記第1スプレーに対する相対的な洗浄位置を算出する算出部を、さらに備え、
前記移動制御部は、前記算出部により算出された前記相対的な洗浄位置となるように、前記複数の第1スプレーと、前記吐出ヘッドとを相対的に位置決めさせ、
前記第1駆動部は、前記移動制御部により前記相対的な洗浄位置に位置決めされた前記吐出ヘッドの前記吐出面に対して、前記複数の第1スプレーから前記洗浄液を噴射させて再度洗浄を行う請求項5に記載の液体塗布装置。
【請求項7】
前記移動制御部は、前記打力分布に応じて、前記吐出ヘッドを移動させる請求項1~4のいずれか一項に記載の液体塗布装置。
【請求項8】
前記移動制御部は、前記打力分布に応じて、前記第1スプレーを移動させる請求項1~4のいずれか一項に記載の液体塗布装置。
【請求項9】
前記複数の第1スプレーについて予め測定された前記打力分布の情報を記憶する記憶部を、さらに備えた請求項1~4のいずれか一項に記載の液体塗布装置。
【請求項10】
前記複数の第2スプレーから前記所定の気体を噴射された後の前記吐出面を払拭するためのスポンジまたは繊維質の部材を、さらに備えた請求項2~4のいずれか一項に記載の液体塗布装置。
(【請求項11】以降は省略されています)
発明の詳細な説明
【技術分野】
【0001】
本発明は、液体塗布装置および洗浄方法に関する。
続きを表示(約 2,800 文字)
【背景技術】
【0002】
液体塗布装置に用いられるインクジェット方式の吐出ヘッドにおいては、ノズル内外のインクの残留または固着により吐出性能が経時的に低下するため、ノズルについて定期的に洗浄を行い印字前には良好な状態にしておく必要がある。特に、乾燥性に特化した道路塗装用のインク等では、吐出直後から硬化し始めるため、ノズル周辺にインクが固着して残り易く、通常のインクよりも高頻度に洗浄を行う必要がある。残留したインクの洗浄には、スプレーを用いて洗浄液を吐出ヘッドに吹き付けて、ノズル周辺を洗浄し、吐出ヘッドに残ったインクおよび洗浄液等の残留物をエアスプレーで除去する方法が既に知られている。
【0003】
このような、吐出ヘッドのノズルの洗浄についての技術として、吐出ヘッドの液体吐出面の直下を避けて配置され、液体吐出面に対して斜め方向から液体吐出面を撮像する撮像手段と、撮像手段を液体吐出面に合焦させる合焦設定手段と、吐出ヘッドと撮像手段とを相対的に移動させる相対移動手段と、相対移動手段によって撮像手段と相対的に移動される液体吐出面における、撮像手段の撮像可能な領域に液体吐出面上の合焦位置が含まれる合焦対象領域を設定する合焦対象領域設定手段と、合焦設定を維持しつつ、吐出ヘッドと撮像手段とを相対的に移動させながら、所定の時間間隔で液体吐出面を撮像するように撮像手段の動作を制御する撮像制御手段と、合焦対象領域の撮像データから液体吐出面の異常情報を生成する異常情報生成手段と、を備えた検出装置が開示されている(例えば特許文献1)。
【発明の概要】
【発明が解決しようとする課題】
【0004】
しかしながら、上述の特許文献1に記載された技術においては、吐出ヘッドのノズルの洗浄の具体的な方式が言及されておらず、従来のスプレーにより洗浄液を噴射して洗浄する技術では、噴射された洗浄液の打力に分布があるため、各ノズルに対する洗浄力を一定に保つことが困難であり、インクを除去しきれないという課題がある。
【0005】
本発明は、上記に鑑みてなされたものであって、スプレーによる洗浄液の噴射による吐出ヘッドの吐出面の洗浄力を向上させることができる液体塗布装置および洗浄方法を提供することを目的とする。
【課題を解決するための手段】
【0006】
上述した課題を解決し、目的を達成するために、本発明は、液体を吐出させる複数のノズルが形成された吐出ヘッドを備えた液体塗布装置であって、洗浄液を噴射する複数の第1スプレーと、前記複数の第1スプレーから噴射される前記洗浄液の打力分布に応じて、前記複数の第1スプレーと、前記吐出ヘッドとを相対的に位置決めさせる移動制御部と、前記移動制御部により位置決めされた前記吐出ヘッドの吐出面に対して、前記複数の第1スプレーから前記洗浄液を噴射させる第1駆動部と、を備えたことを特徴とする。
【発明の効果】
【0007】
本発明によれば、スプレーによる洗浄液の噴射による吐出ヘッドの吐出面の洗浄力を向上させることができる。
【図面の簡単な説明】
【0008】
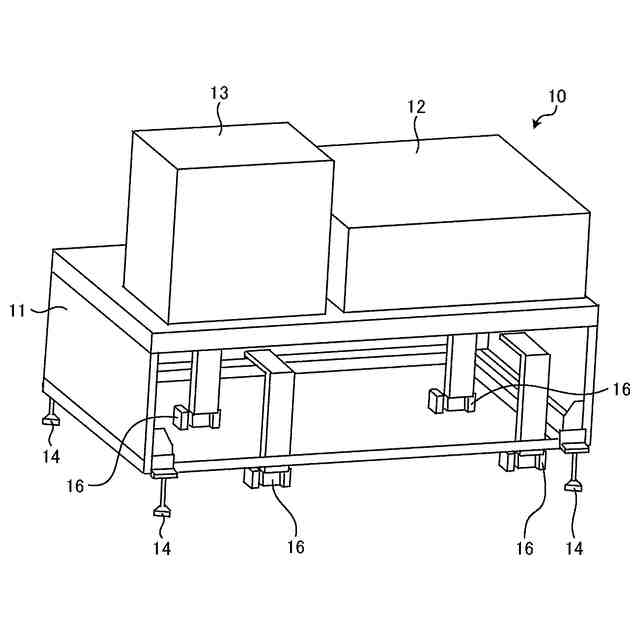
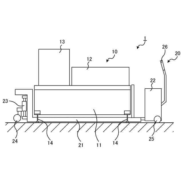
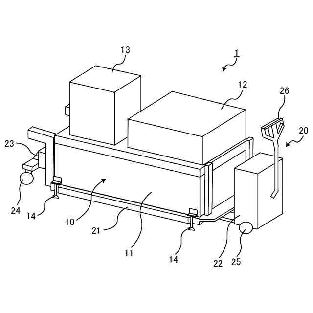
図1は、実施形態に係る液体塗布装置の全体構成を示す外観の一例を示す図である。
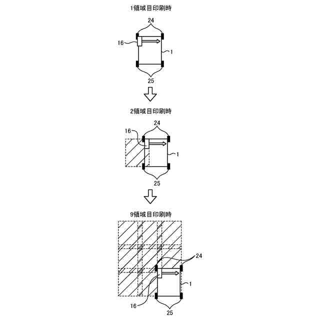
図2は、実施形態に係る液体塗布装置の印刷装置に対するキャリッジの走査が可能な範囲を示す図である。
図3は、実施形態に係る液体塗布装置のキャリッジの移動機構の構成の一例を示す図である。
図4は、実施形態に係る液体塗布装置のインク吐出ヘッドと、洗浄用カメラ、洗浄用スプレーおよびエアスプレーとの配置関係の一例を示す図である。
図5は、実施形態に係る液体塗布装置がキャリッジの走査範囲外へ印刷する場合の動作の概要を説明する図である。
図6は、実施形態に係る液体塗布装置において台車で印刷装置を運んでいる状態の一例を示す図である。
図7は、実施形態に係る液体塗布装置において台車から印刷装置を印刷面に設置した状態の一例を示す図である。
図8は、実施形態に係る液体塗布装置のハードウェア構成の一例を示す図である。
図9は、実施形態に係る液体塗布装置の機能ブロックの構成の一例を示す図である。
図10は、洗浄用スプレーについての打力分布を予め測定しておく動作について説明する図である。
図11は、実施形態に係る液体塗布装置においてインク吐出ヘッドを洗浄用スプレーの打力分布に応じた洗浄位置に位置決めする動作を説明する図である。
図12は、実施形態に係る液体塗布装置においてインク吐出ヘッドのノズル状態の一例を示す図である。
図13は、実施形態に係る液体塗布装置においてインク吐出ヘッドのノズルの洗浄状態の可否判定を説明する図である。
図14は、実施形態に係る液体塗布装置においてインク吐出ヘッドのノズルの洗浄状態の可否判定で用いる閾値を説明する図である。
図15は、実施形態に係る液体塗布装置においてインク吐出ヘッドのノズルの周辺の洗浄状態の可否判定を説明する図である。
図16は、実施形態に係る液体塗布装置におけるインク吐出ヘッドの洗浄処理の流れの一例を示すフローチャートである。
図17は、変形例に係る液体塗布装置のハードウェア構成の一例を示す図である。
図18は、変形例に係る液体塗布装置の機能ブロックの構成の一例を示す図である。
【発明を実施するための形態】
【0009】
以下に、図面を参照しながら、本発明に係る液体塗布装置および洗浄方法の実施形態を詳細に説明する。また、以下の実施形態によって本発明が限定されるものではなく、以下の実施形態における構成要素には、当業者が容易に想到できるもの、実質的に同一のもの、およびいわゆる均等の範囲のものが含まれる。さらに、以下の実施形態の要旨を逸脱しない範囲で構成要素の種々の省略、置換、変更および組み合わせを行うことができる。
【0010】
(液体塗布装置の全体構成および動作概要)
図1は、実施形態に係る液体塗布装置の全体構成を示す外観の一例を示す図である。図2は、実施形態に係る液体塗布装置の印刷装置に対するキャリッジの走査が可能な範囲を示す図である。図3は、実施形態に係る液体塗布装置のキャリッジの移動機構の構成の一例を示す図である。図4は、実施形態に係る液体塗布装置のインク吐出ヘッドと、洗浄用カメラ、洗浄用スプレーおよびエアスプレーとの配置関係の一例を示す図である。図1~図4を参照しながら、本実施形態に係る液体塗布装置1の全体構成および動作概要について説明する。
(【0011】以降は省略されています)
この特許をJ-PlatPat(特許庁公式サイト)で参照する
関連特許
株式会社リコー
移動体
16日前
株式会社リコー
感熱記録媒体
22日前
株式会社リコー
画像形成装置
2日前
株式会社リコー
画像形成装置
21日前
株式会社リコー
生体情報測定装置
22日前
株式会社リコー
画像形成システム
21日前
株式会社リコー
液体を吐出する装置
22日前
株式会社リコー
機器及び異常判定方法
2日前
株式会社リコー
電極及びその製造方法
23日前
株式会社リコー
画像形成装置及びシステム
今日
株式会社リコー
定着装置、及び画像形成装置
2日前
株式会社リコー
印刷装置および印刷システム
21日前
株式会社リコー
液体吐出装置及び液体吐出方法
21日前
株式会社リコー
表示装置、切替方法、プログラム
7日前
株式会社リコー
ベルト装置、及び、画像形成装置
21日前
株式会社リコー
パーソナライズビデオメカニズム
23日前
株式会社リコー
システム、方法およびプログラム
21日前
株式会社リコー
媒体処理装置及び画像形成システム
21日前
株式会社リコー
液体吐出ヘッドおよび液体吐出装置
22日前
株式会社リコー
媒体処理装置及び画像形成システム
22日前
株式会社リコー
媒体処理装置及び画像形成システム
21日前
株式会社リコー
媒体処理装置及び画像形成システム
21日前
株式会社リコー
mRNA発現量の免疫学的評価方法
22日前
株式会社リコー
媒体処理装置及び画像形成システム
21日前
株式会社リコー
媒体処理装置及び画像形成システム
23日前
株式会社リコー
シート給紙装置、および画像形成装置
21日前
株式会社リコー
通信端末、通信方法、及びプログラム
今日
株式会社リコー
原稿処理装置、及び原稿処理システム
22日前
株式会社リコー
通信装置、通信方法、及びプログラム
今日
株式会社リコー
液滴形成装置及びゲル粒子の製造方法
23日前
株式会社リコー
シート給送装置及び画像形成システム
3日前
株式会社リコー
処理剤液塗布装置および画像形成装置
21日前
株式会社リコー
加熱装置、定着装置及び画像形成装置
1日前
株式会社リコー
情報処理システム、及び情報処理方法
23日前
株式会社リコー
光源装置、画像投影装置および調整方法
7日前
株式会社リコー
液体吐出ヘッド及び液体を吐出する装置
22日前
続きを見る
他の特許を見る