TOP
|
特許
|
意匠
|
商標
特許ウォッチ
Twitter
他の特許を見る
10個以上の画像は省略されています。
公開番号
2025144321
公報種別
公開特許公報(A)
公開日
2025-10-02
出願番号
2024044045
出願日
2024-03-19
発明の名称
液体吐出ヘッドおよび液体吐出装置
出願人
株式会社リコー
代理人
個人
主分類
B05C
5/00 20060101AFI20250925BHJP(霧化または噴霧一般;液体または他の流動性材料の表面への適用一般)
要約
【課題】高い封止特性と、低い駆動抵抗を両立した新たな封止機構を有する液体吐出ヘッドの提供。
【解決手段】本発明は、液体を吐出する吐出口と、軸方向に沿って移動することで前記吐出口を開閉するニードル型の弁体と、前記弁体を開閉駆動する駆動手段と、前記弁体が貫通する液室と駆動ユニットを区切るように前記弁体と前記弁体の周囲を囲うハウジング内壁との間に配置された封止部材と、を備えた液体吐出ヘッドであって、前記封止部材は、前記弁体との接触点と、前記ハウジング内壁との接触点とが、前記弁体の軸方向で異なる位置であって、他の部位は略非接触状態で、前記ハウジング内壁との接触点は前記ハウジング内壁に沿って摺動可能なことを特徴とする。
【選択図】図10
特許請求の範囲
【請求項1】
液体を吐出する吐出口と、
軸方向に沿って移動することで前記吐出口を開閉するニードル型の弁体と、前記弁体を開閉駆動する駆動手段と、
前記弁体が貫通する液室と駆動ユニットを区切るように前記弁体と前記弁体の周囲を囲うハウジング内壁との間に配置された封止部材と、を備えた液体吐出ヘッドであって、
前記封止部材は、前記弁体との接触点と、前記ハウジング内壁との接触点とが、前記弁体の軸方向で異なる位置であって、他の部位は略非接触状態で、前記ハウジング内壁との接触点は前記ハウジング内壁に沿って摺動可能なことを特徴とする液体吐出ヘッド。
続きを表示(約 1,100 文字)
【請求項2】
請求項1に記載の液体吐出ヘッドであって、
前記封止部材は、弾性体で形成されており、
前記弁体との接触点を含み、軸方向に伸縮性を備えた円筒部もしくは円錐部の少なくとも何れかの形状を有する先端部と、前記先端部より少なくとも直径の大きいつば部と、を有し、前記つば部の何れかの位置に前記ハウジング内壁との接触点があることを特徴とする液体吐出ヘッド。
【請求項3】
請求項1に記載の液体吐出ヘッドであって、
前記封止部材は、端部のつば部と前記つば部と前記軸方向において反対側の略円錐部との間に円筒形状部を有し、
前記円筒形状部は、前記つば部及び前記略円錐部に比して軸方向に伸縮する低弾性構造もしくは蛇腹構造を備えたことを特徴とする液体吐出ヘッド。
【請求項4】
請求項1に記載の液体吐出ヘッドであって、
前記封止部材は、中心に前記弁体が挿入される貫通穴を備え、
当該貫通穴と前記弁体との間に、前記封止部材を形成する素材よりも硬質で高弾性率の素材からなる薄肉のリング部品を内包していること特徴とする液体吐出ヘッド。
【請求項5】
請求項1に記載の液体吐出ヘッドであって、
前記封止部材は、中心に前記弁体が挿入される貫通穴を備え、
当該貫通穴と前記弁体との間に、摺動機能膜が形成されたことを特徴とする液体吐出ヘッド。
【請求項6】
請求項1に記載の液体吐出ヘッドであって、
前記封止部材は、前記弁体との接触点が加硫接着構造で固定されたことを特徴とする液体吐出ヘッド。
【請求項7】
請求項1に記載の液体吐出ヘッドであって、
前記封止部材は、前記弁体の先端側に形成され前記ハウジング内壁と当接したつば部と、前記つば部から前記液室とは反対側に向かって突出するように設けられた略円錐部と、を有し、
前記略円錐部の末端における前記弁体との接触点が接着または締結手段によって固定されたことを特徴とする液体吐出ヘッド。
【請求項8】
請求項1に記載の液体吐出ヘッドであって、
前記ハウジング内壁のうち少なくとも前記封止部材と接触する領域に、摺動機能膜が形成されたことを特徴とする液体吐出ヘッド。
【請求項9】
請求項1に記載の液体吐出ヘッドであって、
前記封止部材の前記液室とは反対側の空間に、当該空間の内圧が大気圧よりも高くなるような加圧手段を有することを特徴とする液体吐出ヘッド。
【請求項10】
請求項1乃至9の何れかに記載の液体吐出ヘッドを備え、
前記液体吐出ヘッドから吐出する液体によって被塗布物に塗装を行う液体吐出装置。
発明の詳細な説明
【技術分野】
【0001】
この発明は、液体吐出ヘッドおよびそれを用いた液体吐出装置に関する。
続きを表示(約 3,100 文字)
【背景技術】
【0002】
車、トラック、航空機などの大型の乗り物の塗装、ガスボンベの文字記載、道路の白線、文字記入、等に用いられる、塗装用インクジェットヘッドには、ペンキのような粘度が高い液体を吐出する必要がある。
このように粘度の高い液体を吐出するための液体吐出ヘッドとして、閉鎖時にはニードルによって吐出口を封止し、開放時にはニードルを引き込んで吐出口を開放する方式の液体吐出ヘッドが知られている(例えば特許文献1~5等参照)。
また、このような液体吐出ヘッドにおいて、大面積を高能率に塗装または描画するために、吐出口の小型・高ピッチ化と、高周波化による高速化・生産性の向上が常に求められている。
高粘度のインク吐出を高速に行うには、液室5内のインクの圧力を高めて、ノズル部での吐出抵抗に打ち勝ってインク材料を押し出していく必要がある。
こうした液室5内のインクの高圧化に負けることなく、液室5の封止を実現するためには、ON/OFFするための封止弁の改良を行う必要がある。さらに、この封止弁は、高ピッチで配置されるノズル部に合わせ、高ピッチで配置される必要もある。
【0003】
従来では、ニードルの周囲に配置された弾性体のOリングを圧し潰すことで封止する方法が知られていた(例えば特許文献1参照)。しかしながら、通常のOリングを利用した方法では、特に高速にON/OFFを繰り返す場合にニードルのスライドによって生じるOリング自体の抵抗が障害となり、高速化を妨げてしまう原因となっていた。
他方、Oリングを用いない方法として、膜状の封止部材を有するもの(例えば特許文献4、5参照)が知られているものの、液室5が高圧になるときには膜内外の圧力差によって封止位置が変動してしまう問題が生じていた。
【0004】
また、圧力差を出来る限り無くしたとしても、膜の両端を取り付ける際に位置決め精度が高くなければ、結局のところ封止位置が個々のニードルで変動してしまう。
このような封止位置の変動は、ON/OFF時のニードルの移動量の違いという形で現れてしまい、複数のニードルを高密度に配置した場合には、各吐出口からの吐出量のバラつきの原因となってしまう。
【発明の概要】
【発明が解決しようとする課題】
【0005】
そこでこのようなニードルと封止部材との間に生じる抵抗の抑制と、圧力差による問題の解決とを両立できるような、新たな封止部材の開発が求められていた。
本発明は上述した問題点を解決し、高い封止特性と、低い駆動抵抗を両立した新たな封止機構を有する液体吐出ヘッドの提供を目的とする。
【課題を解決するための手段】
【0006】
本発明の液体吐出ヘッドは、液体を吐出する吐出口と、軸方向に沿って移動することで前記吐出口を開閉するニードル型の弁体と、前記弁体を開閉駆動する駆動手段と、前記弁体が貫通する液室と駆動ユニットを区切るように前記弁体と前記弁体の周囲を囲うハウジング内壁との間に配置された封止部材と、を備えた液体吐出ヘッドであって、前記封止部材は、前記弁体との接触点と、前記ハウジング内壁との接触点とが、前記弁体の軸方向で異なる位置であって、他の部位は略非接触状態で、前記ハウジング内壁との接触点は前記ハウジング内壁に沿って摺動可能なことを特徴とする。
【発明の効果】
【0007】
本発明によれば、高い封止特性と、低い駆動抵抗を両立することができる。
【図面の簡単な説明】
【0008】
本発明の一実施形態を適用可能な液体吐出装置の概略図である。
図1に示した液体吐出装置を使用する一例を表す概略図である。
図2に示した液体吐出装置の他の使用例を示す図である。
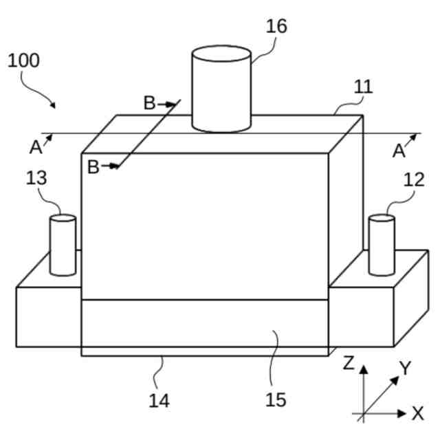
本発明の実施形態にかかる液体吐出ヘッドの構成の一例を示す図である。
液体吐出ヘッドの内部構成の一例を示す図である。
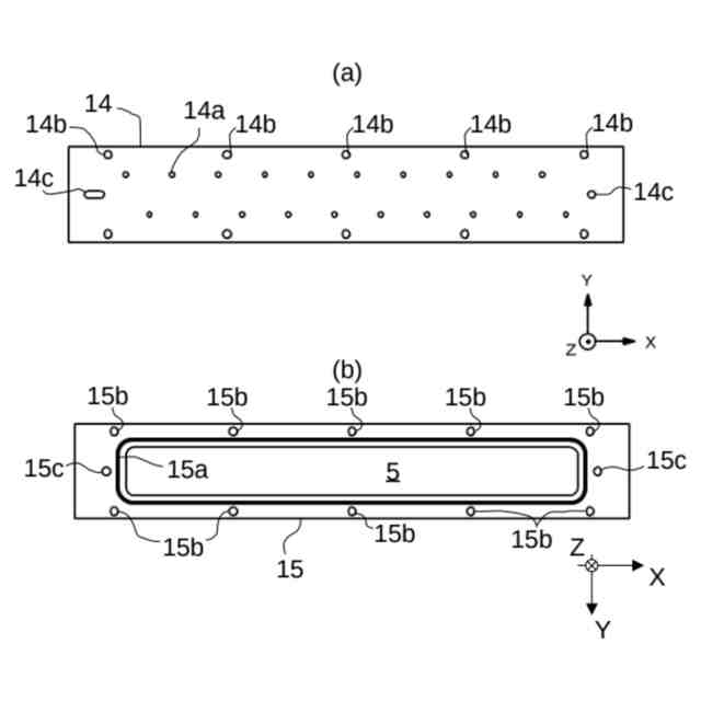
図5に示したノズルプレートの構成の一例を示す図である。
ノズルプレートと流路部材との取付方法の一例を示す図である。
液体吐出ヘッド内の液体吐出モジュールの配置の一例を示す図である。
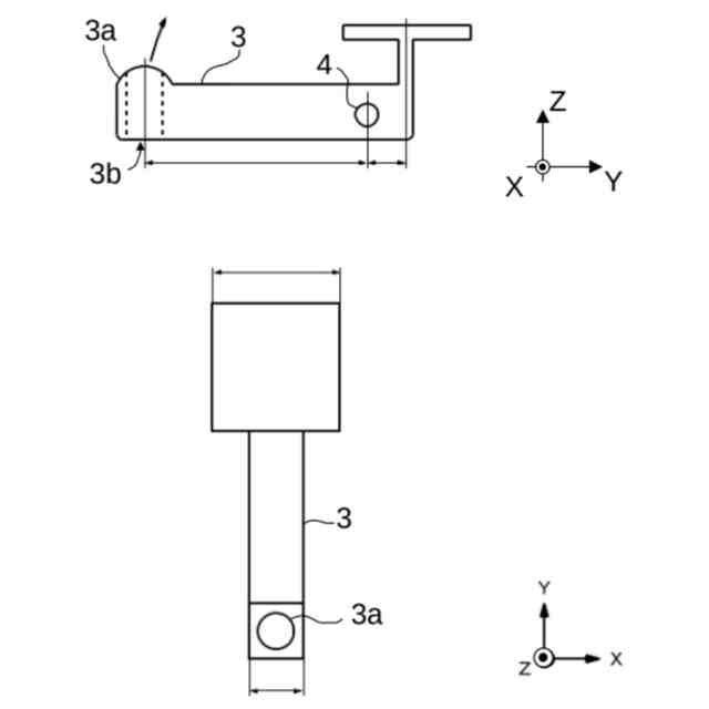
アーム部材の構成の一例を示す図である。
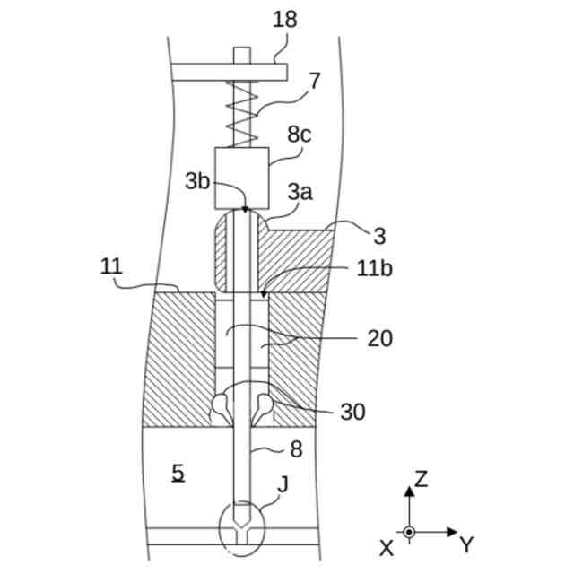
本願発明におけるニードル弁体の構成の一例を示す図である。
図10の先端を示す図である。
図8のC-C断面の一例を示す図である。
図8のD-D断面の一例を示す図である。
従来の封止方法の一例を示す図である。
従来の封止方法の他の一例を示す図である。
図14に示した封止方法における弾性部材の反力を示す図である。
本願発明と従来例との反力の比較を示す図である。
本発明におけるシール部材の構成の一例を示す図である。
本発明におけるシール部材を用いた際の封止時の動作の一例を示す図である。
本発明におけるシール部材を用いた際の位置決め時の初期状態の一例を示す図である。
本発明におけるシール部材を用いた際の位置決め時の動作の一例を示す図である。
本発明における第2の実施形態としてのシール部材の構成の一例を示す図である。
本発明における第3の実施形態としてのシール部材の構成の一例を示す図である。
本発明における第4の実施形態としてのシール部材の構成の一例を示す図である。
本発明における第5の実施形態としてのシール部材の構成の一例を示す図である。
本発明における第6の実施形態としてのシール部材の構成の一例を示す図である。
本発明における第7の実施形態としてのシール部材の構成の一例を示す図である。
本発明における第7の実施形態としてのシール部材の構成の他の一例を示す図である。
本発明における第8の実施形態としてのシール部材の構成の一例を示す図である。
本発明における第9の実施形態としてのシール部材の構成の一例を示す図である。
本発明における第10の実施形態としてのシール部材の構成の一例を示す図である。
図31に示した構成でのシール部材に働く気圧と液圧の模式的な一例を示す図である。
【発明を実施するための形態】
【0009】
図1は、本発明の一実施形態を適用可能な車体塗装装置200を示している。
同図において、車体塗装装置200は、少なくとも1つの液体吐出ヘッド100と、液体吐出ヘッド100の近傍に配設されたカメラ832と、液体吐出ヘッド100およびカメラ832をX方向およびY方向へ移動させるX-Yテーブル831と、カメラ832で撮影した画像を編集する画像編集ソフトウェアSと、編集する画像等を表示するモニタ901aと、制御部900と、を有している。
制御部900は、所定の制御プログラムに基づいて、X-Yテーブル831を動作させるとともに、液体吐出ヘッド100から例えば塗料やインクなどの液体Lを吐出させる。
【0010】
車体塗装装置200は、図2に示すように液体吐出ヘッド100から吐出された塗料を車体等の被塗布物Uに塗布することができる。
(【0011】以降は省略されています)
この特許をJ-PlatPat(特許庁公式サイト)で参照する
関連特許
株式会社リコー
移動体
18日前
株式会社リコー
画像形成装置
23日前
株式会社リコー
画像形成装置
4日前
株式会社リコー
画像形成システム
23日前
株式会社リコー
機器及び異常判定方法
4日前
株式会社リコー
画像形成装置及びシステム
2日前
株式会社リコー
印刷装置および印刷システム
23日前
株式会社リコー
定着装置、及び画像形成装置
4日前
株式会社リコー
液体吐出装置及び液体吐出方法
23日前
株式会社リコー
表示装置、切替方法、プログラム
9日前
株式会社リコー
媒体処理装置及び画像形成システム
23日前
株式会社リコー
シート給紙装置、および画像形成装置
23日前
株式会社リコー
通信装置、通信方法、及びプログラム
2日前
株式会社リコー
加熱装置、定着装置及び画像形成装置
3日前
株式会社リコー
通信端末、通信方法、及びプログラム
2日前
株式会社リコー
シート給送装置及び画像形成システム
5日前
株式会社リコー
光源装置、画像投影装置および調整方法
9日前
株式会社リコー
ノード、データ共有方法、及びプログラム
16日前
株式会社リコー
通信装置、状態制御方法、及びプログラム
5日前
株式会社リコー
画像形成装置、及び、プロセスカートリッジ
9日前
株式会社リコー
画像形成装置、情報処理方法及びプログラム
2日前
株式会社リコー
画像形成装置、情報処理方法およびプログラム
23日前
株式会社リコー
画像形成装置、情報処理方法およびプログラム
3日前
株式会社リコー
画像読取装置、画像判定方法およびプログラム
2日前
株式会社リコー
画像形成装置、画像形成方法、およびプログラム
23日前
株式会社リコー
画像処理装置、画像処理方法、およびプログラム
23日前
株式会社リコー
表示装置、表示方法、プログラム、表示システム
17日前
株式会社リコー
モノクロ用光走査装置及びモノクロ画像形成装置
2日前
株式会社リコー
液体吐出ヘッド、ヘッドモジュール、液体吐出装置
23日前
株式会社リコー
対話装置、対話システム、対話方法及びプログラム
16日前
株式会社リコー
液滴吐出ヘッド、ヘッドユニット及び液滴吐出装置
23日前
株式会社リコー
電気機器、画像形成装置、制御方法、及びプログラム
12日前
株式会社リコー
情報処理システム、情報処理装置および情報処理方法
16日前
株式会社リコー
情報処理装置、情報処理システムおよび情報処理方法
16日前
株式会社リコー
液体吐出ヘッド、ヘッドモジュール及び液体吐出装置
23日前
株式会社リコー
情報処理システム、情報処理方法、および情報処理装置
23日前
続きを見る
他の特許を見る