TOP
|
特許
|
意匠
|
商標
特許ウォッチ
Twitter
他の特許を見る
10個以上の画像は省略されています。
公開番号
2025168750
公報種別
公開特許公報(A)
公開日
2025-11-12
出願番号
2024073471
出願日
2024-04-30
発明の名称
表示装置、表示方法、プログラム、表示システム
出願人
株式会社リコー
代理人
個人
,
個人
主分類
G06V
30/19 20220101AFI20251105BHJP(計算;計数)
要約
【課題】ユーザーが手書き入力した方向で手書き入力を認識すること。
【解決手段】本発明は、手書き入力された手書きデータを複数の方向から文字認識し、複数の方向ごとに認識率を算出する文字認識部と、算出された複数の認識率のうち上位二値の認識率の差分が閾値以上又は閾値超の場合に、認識率が最も大きい方向を、手書き入力の認識方向に決定し、算出された複数の認識率のうち上位二値の認識率の差分が閾値より小さい場合に、文字認識部は、差分が前記閾値より小さいと判断された手書きデータに新たに入力を受け付けた手書きデータを含めて、複数の方向ごとに認識率を算出し、算出された認識率のうち上位二値の認識率の差分が閾値以上又は閾値超の場合に、認識率が最も大きい方向を、手書きデータの認識方向に決定する認識方向決定部と、決定された認識方向で手書きデータを文字認識する。
【選択図】図11
特許請求の範囲
【請求項1】
手書き入力された手書きデータを複数の方向から文字認識し、前記複数の方向ごとに認識率を算出する文字認識部と、
算出された複数の前記認識率のうち上位二値の前記認識率の差分が閾値以上又は閾値超の場合に、前記認識率が最も大きい方向を、前記手書きデータの認識方向に決定し、
算出された複数の前記認識率のうち上位二値の前記認識率の差分が閾値より小さい場合に、前記文字認識部は、前記差分が前記閾値より小さいと判断された前記手書きデータに新たに入力を受け付けた手書きデータを含めて、前記複数の方向ごとに認識率を算出し、算出された前記認識率のうち上位二値の前記認識率の差分が前記閾値以上又は閾値超の場合に、前記認識率が最も大きい方向を、前記手書きデータの認識方向に決定する認識方向決定部と、
決定された前記認識方向で前記手書きデータが文字認識された文字列を、前記認識方向決定部が決定した前記認識方向に表示させる表示制御部と、
を有する表示装置。
続きを表示(約 1,600 文字)
【請求項2】
前記表示制御部は、決定された前記認識方向で前記手書きデータが文字認識された複数の文字列候補を、前記認識方向決定部が決定した前記認識方向に表示させ、
ユーザーからの前記複数の文字列候補のうち一の文字列候補の選択を受け付ける操作受付部を有し、
前記表示制御部は、選択を受け付けた前記文字列候補を前記文字列として前記認識方向決定部が決定した前記認識方向に表示させる請求項1に記載の表示装置。
【請求項3】
前記差分が前記閾値より小さい場合、前記表示制御部は所定の規則で定められた方向に、前記複数の文字列候補を表示させ、
前記操作受付部が前記文字列候補の選択を受け付けない場合、
前記文字認識部は、前記差分が前記閾値より小さいと判断された前記手書きデータに新たに入力を受け付けた手書きデータを含めて、前記複数の方向ごとに認識率を算出し、
前記認識方向決定部は、算出された前記認識率のうち上位二値の前記認識率の差分が前記閾値以上又は閾値超の場合に、前記認識率が最も大きい方向を、前記手書きデータの認識方向に決定する請求項2に記載の表示装置。
【請求項4】
前記認識方向決定部は、前記表示制御部が表示した前記文字列がユーザーにより選択された場合に、該文字列の認識方向を保存しておき、
前記差分が前記閾値より小さい場合、
前記表示制御部は、前記所定の規則として、最後に保存しておいた前記認識方向で、前記文字列を表示させる請求項3に記載の表示装置。
【請求項5】
前記認識方向決定部が前記認識方向を保持していない場合、
前記表示制御部は、前記所定の規則として、デフォルト設定されている認識方向で、前記文字列を表示させる請求項4に記載の表示装置。
【請求項6】
前記デフォルト設定されている認識方向は、前記表示装置が有するチルトセンサーにより判断された重力の方向である請求項5に記載の表示装置。
【請求項7】
前記表示装置が有するチルトセンサーにより前記表示装置が平置きされていると判断された場合、
前記デフォルト設定されている認識方向は、予め定められた方向である請求項5に記載の表示装置。
【請求項8】
前記認識方向決定部は、前記表示制御部が表示した前記文字列がユーザーにより選択された場合に、上位二値の前記認識率の差分を蓄積しておき、
過去の複数の差分の最小値を前記閾値に決定する閾値決定部を有する請求項1~7のいずれか1項に記載の表示装置。
【請求項9】
前記文字認識部は、認識グループに含まれる複数のストロークデータをまとめて文字認識し、
入力手段がタッチパネルから離れてから所定時間が経過した場合、すでに入力されている前記ストロークデータの外接矩形の右側の領域のみを、前記ストロークデータが前記認識グループに含まれるか否かが判断される領域に決定し、
前記入力手段がタッチパネルから離れてから所定時間が経過していない場合、すでに入力されている前記ストロークデータの外接矩形の上側、左側、下側、及び、右側の領域を、前記ストロークデータが前記認識グループに含まれるか否かが判断される領域に決定する領域変更部を有する請求項1に記載の表示装置。
【請求項10】
前記認識方向決定部が認識方向を判断した判断結果を蓄積し、前記判断結果を解析する解析部と、
前記解析部による判断結果を表示させると共に、前記判断結果に基づいて、前記認識方向を判断するための前記閾値の変更を受け付ける表示受付部と、
を更に有する請求項1に記載の表示装置。
(【請求項11】以降は省略されています)
発明の詳細な説明
【技術分野】
【0001】
本発明は、表示装置、表示方法、プログラム、及び表示システムに関する。
続きを表示(約 2,500 文字)
【背景技術】
【0002】
手書き認識技術を利用し、手書きデータを文字認識して、ディスプレーに表示する表示装置が知られている。表示装置が平置きされた場合、複数のユーザーが表示装置を囲むように手書きできる。
【0003】
任意の方向から手書き文字を自由に入力する技術が考案されている(例えば、特許文献1参照)。特許文献1には、ユーザーから2文字の手書き入力を受け付けた場合、複数の方向から認識を行い、最も認識率の大きい方向を認識方向に設定する技術が開示されている。
【発明の概要】
【発明が解決しようとする課題】
【0004】
しかしながら、認識率が最も大きい方向にユーザーが手書きしているとは限らないという課題がある。従来のように、認識率が最も大きい方向を認識方向に設定する場合、ユーザーが手書きした内容によっては、ユーザーから見た上下方向が認識方向に設定されない場合がある。例えば、ユーザーが漢字の「一」(いち)を一文字だけ手書きした場合、表示装置が数字の「1」を認識率90%で認識し、漢字の「一」(いち)を認識率85%で認識することがある。この場合、認識率が2番目に大きい漢字の「一」(いち)をユーザーが手書きしたにも関わらず、表示装置は、認識率が最も大きい数字の「1」を認識した方向(ユーザーから見た上下方向とは反時計回りに90度異なる方向)を認識方向に設定してしまう。
【0005】
本発明は、ユーザーが手書き入力した方向で手書き入力を認識することを目的とする。
【課題を解決するための手段】
【0006】
上記課題に鑑み、本発明は、手書き入力された手書きデータを複数の方向から文字認識し、前記複数の方向ごとに認識率を算出する文字認識部と、算出された複数の前記認識率のうち上位二値の前記認識率の差分が閾値以上又は閾値超の場合に、前記認識率が最も大きい方向を、前記手書きデータの認識方向に決定し、算出された複数の前記認識率のうち上位二値の前記認識率の差分が閾値より小さい場合に、前記文字認識部は、前記差分が前記閾値より小さいと判断された前記手書きデータに新たに入力を受け付けた手書きデータを含めて、前記複数の方向ごとに認識率を算出し、算出された前記認識率のうち上位二値の前記認識率の差分が前記閾値以上又は閾値超の場合に、前記認識率が最も大きい方向を、前記手書きデータの認識方向に決定する認識方向決定部と、決定された前記認識方向で前記手書きデータが文字認識された文字列を、前記認識方向決定部が決定した前記認識方向に表示させる表示制御部と、を有する。
【発明の効果】
【0007】
ユーザーが手書き入力した方向で手書き入力を認識することができる。
【図面の簡単な説明】
【0008】
認識方向の決定方法を説明する図である。
認識方向を特定できない場合における認識方向の決定方法を説明する図である。
表示装置の全体構成図の一例である。
表示装置のハードウェア構成図の一例である。
表示装置が有する機能をブロック状に分けて説明する機能ブロック図の一例である。
オブジェクトデータ記憶部に記憶されるオブジェクトデータを説明する図である。
操作ガイドと操作ガイドが表示する選択可能候補の一例を示す図である。
認識率で認識方向が特定できる場合(D > Tの場合)の認識方向の決定方法を説明する図である。
認識率で認識方向を特定できない場合(D ≦ Tの場合)の認識方向の決定方法を説明する図である。
図9の状態からユーザーが継続して手書きした場合の認識方向の決定方法を説明する図である。
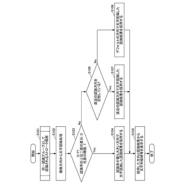
認識方向決定部が、ユーザーが手書きしている方向を判断する処理を説明するフローチャート図の一例である。
閾値Tの決定方法を説明する図である。
ペンアップから所定時間Tmが経過していない場合の同一認識グループの一例を示す図である。
ペンアップから所定時間Tmが経過した場合の同一認識グループの一例を示す図である。
手書き文字と表が混在した手書きデータの一例を示す図である。
ストロークデータが同一認識グループとならない条件を説明する図である。
文字認識部が同一認識グループのストロークデータを決定する手順を説明するフローチャート図の一例である。
図17のステップS1、S3、S7で説明した、ストロークデータが同一認識グループとならない条件を満たすか否かを判断するフローチャート図の一例である。
表示装置の機能ブロック図の一例である。
認識方向の判断結果に基づいて条件を変更するフローチャート図の一例である。
判断結果画面の一例を示す図である。
表示システムのシステム構成図の一例である。
情報処理システムのハードウェア構成図の一例である。
表示システムが有する機能をブロック状に示す機能ブロック図の一例である。
表示装置と情報処理システムが通信して手書きデータの認識結果を表示する処理を説明するシーケンス図の一例である。
【発明を実施するための形態】
【0009】
以下、本発明を実施するための形態の一例として、表示装置及び表示装置が行う表示方法について図面を参照しながら説明する。
【0010】
[第1実施形態]
<本実施形態の認識方向の判断方法>
本実施形態の表示装置は、手書きデータを文字認識する際、複数の方向から同じ手書きデータを認識し、認識率の上位二値の差分が閾値を上回った場合(以下、「認識方向決定条件」という)に、認識率が最も大きかった方向を認識方向に決定する。図1を参照して説明する。
(【0011】以降は省略されています)
この特許をJ-PlatPat(特許庁公式サイト)で参照する
関連特許
株式会社リコー
画像形成装置
28日前
株式会社リコー
画像形成装置
1か月前
株式会社リコー
画像形成装置
1か月前
株式会社リコー
画像形成装置
1か月前
株式会社リコー
画像形成装置
19日前
株式会社リコー
服薬支援装置
19日前
株式会社リコー
画像形成装置
1か月前
株式会社リコー
外観検査装置
13日前
株式会社リコー
液体吐出装置
5日前
株式会社リコー
機器及び異常判定方法
1か月前
株式会社リコー
画像形成装置及びシステム
1か月前
株式会社リコー
画像形成装置、及び、機器
27日前
株式会社リコー
定着装置及び画像形成装置
5日前
株式会社リコー
定着装置、及び画像形成装置
1か月前
株式会社リコー
光走査装置及び画像形成装置
26日前
株式会社リコー
延長トレイ及び画像形成装置
1か月前
株式会社リコー
画像形成装置及び異常判定方法
19日前
株式会社リコー
シート供給装置、画像形成装置
26日前
株式会社リコー
画像読取装置及び画像読取方法
1か月前
株式会社リコー
画像形成装置および画像形成方法
19日前
株式会社リコー
表示装置、切替方法、プログラム
1か月前
株式会社リコー
画像形成装置、及び画像形成方法
13日前
株式会社リコー
媒体処理装置及び画像形成システム
1か月前
株式会社リコー
加熱装置、定着装置、画像形成装置
29日前
株式会社リコー
樹脂粒子、及び樹脂粒子の製造方法
1か月前
株式会社リコー
加熱搬送装置、及び、画像形成装置
27日前
株式会社リコー
後処理装置、及び、画像形成システム
6日前
株式会社リコー
読取装置、読取方法およびプログラム
1か月前
株式会社リコー
加熱装置、定着装置及び画像形成装置
13日前
株式会社リコー
シート給送装置及び画像形成システム
1か月前
株式会社リコー
通信端末、通信方法、及びプログラム
1か月前
株式会社リコー
加熱装置、定着装置及び画像形成装置
1か月前
株式会社リコー
通信装置、通信方法、及びプログラム
1か月前
株式会社リコー
外観検査方法、および外観検査システム
5日前
株式会社リコー
光源装置、画像投影装置および調整方法
1か月前
株式会社リコー
樹脂粒子、トナー、及び、画像形成装置
26日前
続きを見る
他の特許を見る