TOP
|
特許
|
意匠
|
商標
特許ウォッチ
Twitter
他の特許を見る
10個以上の画像は省略されています。
公開番号
2025144251
公報種別
公開特許公報(A)
公開日
2025-10-02
出願番号
2024043939
出願日
2024-03-19
発明の名称
媒体処理装置及び画像形成システム
出願人
株式会社リコー
代理人
弁理士法人武和国際特許事務所
主分類
G03G
15/00 20060101AFI20250925BHJP(写真;映画;光波以外の波を使用する類似技術;電子写真;ホログラフイ)
要約
【課題】媒体の種類等を問わず、液体付与綴じ処理の綴じ品質を向上する媒体処理装置を提供する。
【解決手段】液体付与手段、媒体処理手段、少なくとも、媒体の種類を特定する媒体特性、液体付与に用いる液体の特定を示す液体特性、の入力を受け付ける入力手段、入力された媒体特性と液体特性とに基づいて、液体付与手段と媒体処理手段の動作を制御する制御手段、を備え、制御手段は、複数の媒体の種類を個別に特定する媒体特性と、液体付与に用いる液体の特定を示す液体特性と、液体付与により当該媒体に付与される液体の量である液体付与量と、所定の処理において媒体に加えられる物理的圧力と、の相関関係を教師データとして機械学習をした学習済モデルを備え、入力された媒体特性及び液体特性に応じて当該学習済モデルにより、最適な液体の付与量と物理的圧力の強さとを設定する処理制御量設定手段を含む、媒体処理装置による。
【選択図】図11
特許請求の範囲
【請求項1】
一部に液体付与をした少なくとも一枚の媒体を含む媒体束に、所定の処理を施す媒体処理装置であって、
液体を浸透させた液体付与部材により前記液体付与を実行する液体付与手段と、
前記所定の処理を施す媒体処理手段と、
少なくとも、前記媒体の種類を特定する媒体特性、前記液体付与に用いる液体の特定を示す液体特性、の入力を受け付ける入力手段と、
前記入力された媒体特性と液体特性とに基づいて、前記液体付与手段と前記媒体処理手段の動作を制御する制御手段と、
を備え、
前記制御手段は、複数の前記媒体の種類を個別に特定する媒体特性と、前記液体付与に用いる液体の特定を示す液体特性と、前記液体付与により当該媒体に付与される液体の量である液体付与量と、前記所定の処理において前記媒体に加えられる物理的圧力と、の相関関係を教師データとして機械学習をした学習済モデルを備え、
入力された前記媒体特性及び前記液体特性に応じて当該学習済モデルにより、最適な前記液体の付与量と前記物理的圧力の強さとを設定する処理制御量設定手段を含む、
ことを特徴とする媒体処理装置。
続きを表示(約 790 文字)
【請求項2】
前記学習済モデルに対し用いられる前記教師データにおいて、
前記媒体特性には、当該媒体の厚み又は種別の少なくともいずれか一方を含み、
前記液体特性には、当該液体の硬度又は温度の少なくともいずれか一方を含み、
前記処理制御量設定手段は、
前記学習済モデルによって、前記媒体の厚み又は種別の少なくともいずれか一方、及び当該液体の硬度又は温度の少なくともいずれか一方の入力に対し、前記液体の付与量と、前記物理的圧力の強さと、を設定する、
請求項1に記載の媒体処理装置。
【請求項3】
ユーザに、前記学習済モデルを介して設定された前記液体の付与量と前記物理的圧力の強さの適否を報知する報知手段をさらに備え、
前記制御手段は、
前記処理制御量設定手段において設定される前記液体付与量と前記物理的圧力の強さが、所定の規格値に対する所定の誤差範囲を超えたときに、前記液体付与部材の交換を報知する、
請求項1又は2に記載の媒体処理装置。
【請求項4】
ユーザに、前記学習済モデルを介して設定された前記液体の付与量と前記物理的圧力の強さの適否を報知する報知手段をさらに備え、
前記制御手段は、前記液体付与の回数によって、前記処理制御量設定手段において設定される前記液体付与量の適否を判定し、
当該液体付与量が所定の規格値に対する所定の誤差範囲を超えたときに、前記液体付与部材の交換を報知する、
請求項1又は2に記載の媒体処理装置。
【請求項5】
前記媒体に画像を形成する画像形成装置と、
前記画像形成装置によって画像が形成された複数の前記媒体を綴じる請求項1に記載の媒体処理装置と、
を備えることを特徴とする画像形成システム。
発明の詳細な説明
【技術分野】
【0001】
本発明は、媒体処理装置及び画像形成システムに関する。
続きを表示(約 2,000 文字)
【背景技術】
【0002】
シート状の媒体を複数枚積み上げて形成した媒体束の端部を綴じる「綴じ処理」を行う媒体処理装置が知られている。また、シート状の媒体に対し画像を形成する画像形成装置に、上記のような綴じ処理を行なう媒体処理装置を連結した画像形成システムも知られている。
【0003】
なお、シート状の媒体には様々な素材からなるものが想定される。本明細書においては、シート状の媒体の例として、一般的に画像形成などに広く用いられる「用紙」を想定するものとする。また、複数のシート状の束としては複数の用紙を積層した「用紙束」を例に用いることとする。
【0004】
シート束の一部を加圧して綴る綴じ処理を行なう媒体処理装置において、媒体に液体を付与してから加圧して綴る綴じ処理を行なうにあたり、媒体に対する液体付与の有無に応じて加圧力を異ならせるようする構成が開示されている(特許文献1を参照)。
【発明の概要】
【発明が解決しようとする課題】
【0005】
特許文献1に開示の従来技術は、液体の付与の有無のみで加圧力の変更を行なうのである。液体を付与することで、加圧による綴じ強度が影響を受けるので、液体が付与された後の媒体の状態に適した加圧が行われることが望ましい。この点、従来技術では、媒体の種類による液体の浸透度が異なることとで、液体が付与された後の媒体の状態を考慮すること、例えば、媒体の種類によって異なる液体の浸透度などが考慮されていない。
【0006】
すなわち、従来技術では、媒体の種類によっては、綴じ力を向上させるための液体付与の効果が十分に発揮されず、綴じ品質において課題がある。
【0007】
本発明は、媒体の種類等を問わず、液体付与を伴う綴じ処理における綴じ品質を向上できる媒体処理装置を提供することを目的とする。
【課題を解決するための手段】
【0008】
上記課題を解決するために、本発明の一態様は、媒体処理装置に関し、一部に液体付与をした少なくとも一枚の媒体を含む媒体束に、所定の処理を施す媒体処理装置であって、液体を浸透させた液体付与部材により前記液体付与を実行する液体付与手段と、前記所定の処理を施す媒体処理手段と、少なくとも、前記媒体の種類を特定する媒体特性、前記液体付与に用いる液体の特定を示す液体特性、の入力を受け付ける入力手段と、前記入力された媒体特性と液体特性とに基づいて、前記液体付与手段と前記媒体処理手段の動作を制御する制御手段と、を備え、前記制御手段は、複数の前記媒体の種類を個別に特定する媒体特性と、前記液体付与に用いる液体の特定を示す液体特性と、前記液体付与により当該媒体に付与される液体の量である液体付与量と、前記所定の処理において前記媒体に加えられる物理的圧力と、の相関関係を教師データとして機械学習をした学習済モデルを備え、入力された前記媒体特性及び前記液体特性に応じて当該学習済モデルにより、最適な前記液体の付与量と前記物理的圧力の強さとを設定する処理制御量設定手段を含む、ことを特徴とする。
【0009】
本発明によれば、媒体の種類等を問わず、液体付与を伴う綴じ処理における綴じ品質を向上できる。
【図面の簡単な説明】
【0010】
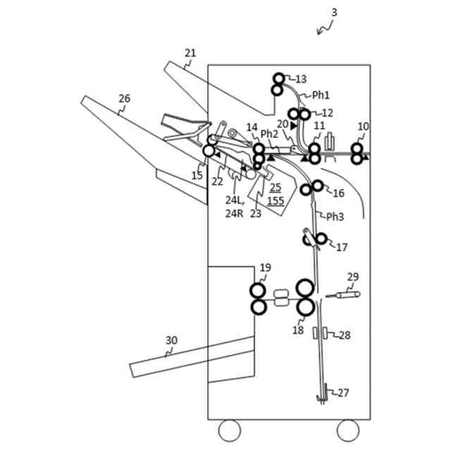
画像形成システムの全体構成を示す図。
画像形成システムが含む後処理装置の内部構造を示す図。
端綴じ処理部を搬送方向の上流側から見た模式図。
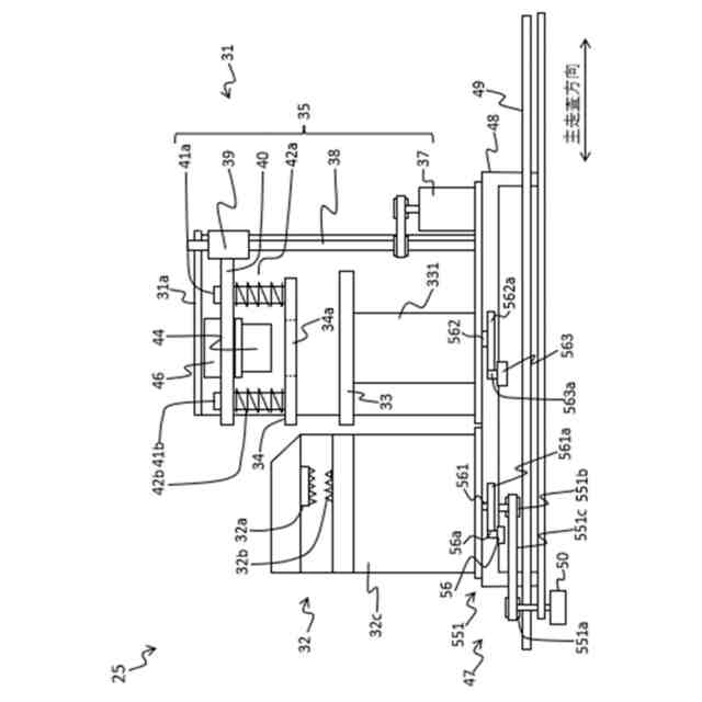
端綴じ処理部を主走査方向の液体付与手段側から見た模式図。
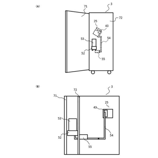
後処理装置における第二貯液タンクの配置及び構成を示す図。
後処理装置における第二貯液タンクの着脱構成を示す図。
端綴じ処理部の圧着手段の構成を示す模式図。
後処理装置を制御する制御ブロックのハードウェア構成図。
端綴じ処理部による液体付与動作及び圧着動作の工程を示す図。
第一実施形態に係る押圧力と液体付与量の相関の例を示す図。
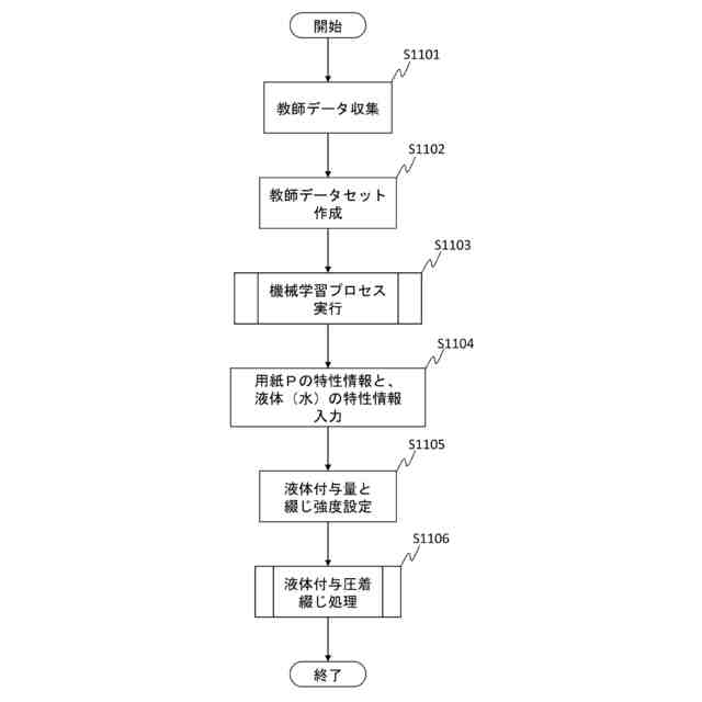
第一実施形態に係る液体付与綴じ処理の流れを例示するフローチャート。
第二実施形態に係る端綴じ処理部を主走査方向の液体付与手段側から見た模式図。
第二実施形態に係る押圧力と液体の温度の相関の例を示す図。
第三実施形態に係る押圧力と液体付与量の相関の例を示す図。
第三実施形態に係る液体付与綴じ処理の流れを例示するフローチャート。
第四実施形態に係る液体付与回数と液体付与量の相関の例を示す図。
第四実施形態に係る液体付与綴じ処理の流れを例示するフローチャート。
【発明を実施するための形態】
(【0011】以降は省略されています)
この特許をJ-PlatPat(特許庁公式サイト)で参照する
関連特許
株式会社リコー
画像形成装置
2日前
株式会社リコー
画像形成装置
7日前
株式会社リコー
機器及び異常判定方法
7日前
株式会社リコー
画像形成装置及びシステム
5日前
株式会社リコー
延長トレイ及び画像形成装置
2日前
株式会社リコー
定着装置、及び画像形成装置
7日前
株式会社リコー
画像読取装置及び画像読取方法
1日前
株式会社リコー
表示装置、切替方法、プログラム
12日前
株式会社リコー
媒体処理装置及び画像形成システム
2日前
株式会社リコー
加熱装置、定着装置及び画像形成装置
6日前
株式会社リコー
読取装置、読取方法およびプログラム
2日前
株式会社リコー
シート給送装置及び画像形成システム
8日前
株式会社リコー
通信装置、通信方法、及びプログラム
5日前
株式会社リコー
通信端末、通信方法、及びプログラム
5日前
株式会社リコー
光源装置、画像投影装置および調整方法
12日前
株式会社リコー
通信装置、状態制御方法、及びプログラム
8日前
株式会社リコー
ノード、データ共有方法、及びプログラム
19日前
株式会社リコー
画像形成装置、及び、プロセスカートリッジ
12日前
株式会社リコー
画像形成装置、情報処理方法及びプログラム
5日前
株式会社リコー
画像形成装置、情報処理方法およびプログラム
6日前
株式会社リコー
画像読取装置、画像判定方法およびプログラム
5日前
株式会社リコー
画像形成装置、画像処理方法およびプログラム
今日
株式会社リコー
モノクロ用光走査装置及びモノクロ画像形成装置
5日前
株式会社リコー
対話装置、対話システム、対話方法及びプログラム
19日前
株式会社リコー
画像読取装置、用紙斜行防止装置及び画像形成装置
今日
株式会社リコー
電気機器、画像形成装置、制御方法、及びプログラム
15日前
株式会社リコー
情報処理装置、情報処理システムおよび情報処理方法
19日前
株式会社リコー
情報処理システム、情報処理装置および情報処理方法
19日前
株式会社リコー
情報処理装置、画面作成方法、プログラム、及び情報処理システム
6日前
株式会社リコー
情報処理装置、画面作成方法、プログラム、及び情報処理システム
15日前
株式会社リコー
シート折り装置、後処理装置、画像形成装置、及び画像形成システム
今日
株式会社リコー
情報処理装置、情報処理方法、プログラム、および情報処理システム
19日前
株式会社リコー
手書き入力装置、手書き入力システム、手書き入力方法、プログラム
19日前
株式会社リコー
表示装置、表示方法、プログラム
12日前
株式会社リコー
画像処理装置、方法、およびプログラム
12日前
株式会社リコー
トナー、現像剤、トナー収容ユニット、プロセスカートリッジ、画像形成方法、及び、画像形成装置
1日前
続きを見る
他の特許を見る