TOP
|
特許
|
意匠
|
商標
特許ウォッチ
Twitter
他の特許を見る
10個以上の画像は省略されています。
公開番号
2025146066
公報種別
公開特許公報(A)
公開日
2025-10-03
出願番号
2024046653
出願日
2024-03-22
発明の名称
液体吐出ヘッド、ヘッドモジュール、液体吐出装置
出願人
株式会社リコー
代理人
個人
,
個人
,
個人
主分類
B41J
2/14 20060101AFI20250926BHJP(印刷;線画機;タイプライター;スタンプ)
要約
【課題】本発明では、液体の着弾位置のズレを抑制することを課題とする。
【解決手段】インクを吐出する複数のノズル3と、ノズル3からのインク吐出方向と逆方向へ気体を吸引する吸引孔4とを備えた液体吐出ヘッド1であることを特徴とする。
【選択図】図1
特許請求の範囲
【請求項1】
液体を吐出する複数のノズルと、前記ノズルからの液体吐出方向と逆方向へ気体を吸引する吸引孔とを備えたことを特徴とする液体吐出ヘッド。
続きを表示(約 650 文字)
【請求項2】
前記ノズルおよび前記吸引孔を有するノズル部材を備えた請求項1記載の液体吐出ヘッド。
【請求項3】
前記ノズル部材に設けられた、前記ノズルの液体を吐出する側の端部を有するノズル面において、前記吸引孔は前記ノズルよりも外側で前記ノズルに隣接する位置に設けられる請求項2記載の液体吐出ヘッド。
【請求項4】
前記ノズルの配列方向の最も両端部側に配置された前記ノズルよりも外側に、それぞれ前記吸引孔が設けられる請求項2記載の液体吐出ヘッド。
【請求項5】
配列された複数の前記ノズルを囲って前記吸引孔が配置される請求項2記載の液体吐出ヘッド。
【請求項6】
前記ノズルから液体を吐出する吐出量により、前記吸引孔による吸引動作の有無を変更する請求項1記載の液体吐出ヘッド。
【請求項7】
請求項1から6いずれか1項に記載の液体吐出ヘッドを複数備えたヘッドモジュール。
【請求項8】
請求項1から6いずれか1項に記載の液体吐出ヘッドを備えた液体吐出装置。
【請求項9】
前記吸引孔による吸引動作を行う吸引部と、前記吸引部に信号を送信して前記吸引動作を制御する制御部とを備えた請求項8記載の液体吐出装置。
【請求項10】
前記吸引部とは別に、前記ノズルからの液体の吐出動作を行う駆動部を備えた請求項9記載の液体吐出装置。
(【請求項11】以降は省略されています)
発明の詳細な説明
【技術分野】
【0001】
本発明は、液体吐出ヘッド、ヘッドモジュール、液体吐出装置に関する。
続きを表示(約 1,400 文字)
【背景技術】
【0002】
液体吐出ヘッドが各ノズルから記録媒体上の所定の位置へ精度良く液体を着弾させることにより、記録媒体上に所望の画像を形成することができる。
【0003】
しかし、液体を吐出すること等により発生する気流の影響によって、液体の着弾位置がずれるという問題がある。
【0004】
これに対して例えば特許文献1(特許第6018356号公報)に記載の液体吐出ヘッドは、記録媒体へ向かう気流を吹き出す気流吹出部を有する。気流吹出部は主気流吹出口と副気流吹出口とを有し、これらの吹出口がインクを吐出するノズルの列であるノズル列を囲むようにして設けられる。気流吹出部は、ノズルを有するノズルプレートとは別部材により設けられ、ノズルプレートよりも記録媒体側へ突出して設けられる。
【0005】
しかし、気流の影響による液体の着弾位置のズレを抑制する発明として、上記特許文献1のような吹出孔を設ける構成が必ずしも最善となるとは限らず、その他の構成を採用する余地があった。
【発明の概要】
【発明が解決しようとする課題】
【0006】
本発明では、液体の着弾位置のズレを抑制することを課題とする。
【課題を解決するための手段】
【0007】
上記の課題を解決するため、本発明は、液体を吐出する複数のノズルと、前記ノズルからの液体吐出方向と逆方向へ気体を吸引する吸引孔とを備えた液体吐出ヘッドであることを特徴とする。
【発明の効果】
【0008】
本発明によれば、液体の着弾位置のズレを抑制できる。
【図面の簡単な説明】
【0009】
本発明の一実施形態に係る液体吐出ヘッドのノズル面を示す平面図である。
ノズルからの液体吐出動作および吸引孔からの気体吸引動作を制御する制御構成を示す図である。
吸引部の構成図である。
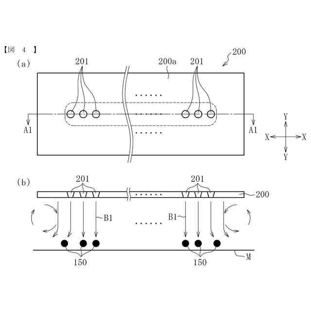
本発明の実施形態と異なる液体吐出ヘッドについて、(a)図はノズル面を示す平面図で、(b)図は(a)図のA1-A1線断面図である。
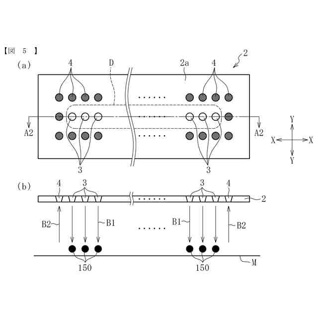
図1の液体吐出ヘッドについて、(a)図はノズル面を示す平面図で、(b)図は(a)図のA2-A2線断面図である。
ノズル板における吸引孔の配置の他の例を示す平面図である。
本発明の一実施形態に係るインクジェット式画像形成装置の全体構成を示す図である。
本実施形態に係るインクジェット画像形成装置の制御システムを示す図である。
液体吐出ヘッドの構成の一例を示す分解斜視図である。
図9に示される液体吐出ヘッドの短手方向の断面図である。
ライン型のヘッドユニットの構成の一例を示す平面図である。
シリアル型のヘッドユニットの構成の一例を示す平面図である。
液体吐出装置の異なる実施例を示す概略構成図である。
【発明を実施するための形態】
【0010】
以下、本発明に係る実施の形態について、図面を参照して説明する。なお、各図中、同一又は相当する部分には同一の符号を付しており、その重複説明は適宜に簡略化ないし省略する。以下の説明では、液体としてのインクを吐出する液体吐出ヘッドについて説明する。
(【0011】以降は省略されています)
この特許をJ-PlatPat(特許庁公式サイト)で参照する
関連特許
株式会社リコー
移動体
4日前
株式会社リコー
液体塗布装置
17日前
株式会社リコー
画像形成装置
13日前
株式会社リコー
印刷システム
13日前
株式会社リコー
画像形成装置
16日前
株式会社リコー
感熱記録媒体
10日前
株式会社リコー
画像形成装置
9日前
株式会社リコー
画像形成装置
13日前
株式会社リコー
画像形成装置
13日前
株式会社リコー
画像形成システム
9日前
株式会社リコー
印刷応答補償機構
17日前
株式会社リコー
拡張アンテナ装置
16日前
株式会社リコー
生体情報測定装置
10日前
株式会社リコー
液体を吐出する装置
10日前
株式会社リコー
マーキングシステム
16日前
株式会社リコー
電極及びその製造方法
11日前
株式会社リコー
電極及びその製造方法
13日前
株式会社リコー
多孔質構造体の製造方法
13日前
株式会社リコー
定着装置及び画像形成装置
23日前
株式会社リコー
定着装置及び画像形成装置
17日前
株式会社リコー
センサ素子及びセンサアレイ
23日前
株式会社リコー
センサ素子及びセンサアレイ
23日前
株式会社リコー
パルスバルブおよび塗布装置
13日前
株式会社リコー
液体塗布装置および洗浄方法
13日前
株式会社リコー
印刷装置および印刷システム
9日前
株式会社リコー
液吐出装置、及び液吐出方法
17日前
株式会社リコー
ファイル分析・保存システム
13日前
株式会社リコー
塗装システム、及び塗装方法
13日前
株式会社リコー
定着装置、及び、画像形成装置
13日前
株式会社リコー
後処理装置および画像形成装置
13日前
株式会社リコー
定着装置、及び、画像形成装置
13日前
株式会社リコー
液体吐出装置及び液体吐出方法
9日前
株式会社リコー
パーソナライズビデオメカニズム
11日前
株式会社リコー
システム、方法およびプログラム
9日前
株式会社リコー
ベルト装置、及び、画像形成装置
9日前
株式会社リコー
レーザ照射装置、レーザ照射方法
13日前
続きを見る
他の特許を見る