TOP
|
特許
|
意匠
|
商標
特許ウォッチ
Twitter
他の特許を見る
公開番号
2025146637
公報種別
公開特許公報(A)
公開日
2025-10-03
出願番号
2024210023
出願日
2024-12-03
発明の名称
画像形成装置、情報処理方法およびプログラム
出願人
株式会社リコー
代理人
弁理士法人酒井国際特許事務所
主分類
B41J
29/393 20060101AFI20250926BHJP(印刷;線画機;タイプライター;スタンプ)
要約
【課題】検知された異常の要因を適切に判定することで、ユーザの利便性を向上させることを目的とする。
【解決手段】読取装置を用いて画像を読み取る読取部と、前記読取部が読み取った画像を用いて検知された汚れ情報を記憶する汚れ情報記憶部と、清掃要否判定部と、ユーザへのメッセージを表示する表示部を制御する表示制御部と、を備える。
【選択図】図6
特許請求の範囲
【請求項1】
読取装置を用いて画像を読み取る読取部と、
前記読取部が読み取った画像を用いて検知された汚れ情報を記憶する汚れ情報記憶部と、
清掃要否判定部と、
ユーザへのメッセージを表示する表示部を制御する表示制御部と、
を備え、
前記汚れ情報記憶部は、前記汚れ情報が検知された日時の情報と共に前記汚れ情報を記憶し、
清掃要否判定部は、前記読取部が読み取った画像を用いて検知された汚れ情報と、前記汚れ情報記憶部が記憶した汚れ情報及び日時の情報と、に基づいて、前記読取装置の清掃が必要か否かを判定し、
前記表示制御部は、前記清掃要否判定部が前記読取装置の清掃が必要と判定した場合に、前記読取装置の清掃を促すメッセージを表示させる、
画像形成装置。
続きを表示(約 1,500 文字)
【請求項2】
前記読取装置の清掃を行う清掃部と、
ノズルの異常を判定するノズル異常判定部と、をさらに備え、
前記ノズル異常判定部は、前記清掃が行われる前に前記汚れ情報記憶部が記憶した前記汚れ情報と、前記清掃が行われた後に前記読取装置が読み取った画像を用いて検知された汚れ情報と、に基づいて、ノズルの異常があるか否か判定する、
請求項1に記載の画像形成装置。
【請求項3】
前記表示制御部は、前記ノズル異常判定部が前記ノズルの異常があると判定した場合に、前記ノズルの清掃を促すメッセージを表示させる、
請求項2に記載の画像形成装置。
【請求項4】
読取装置を用いて画像を読み取る読取部と、
前記読取部が読み取った画像を用いて検知された汚れ情報を記憶する汚れ情報記憶部と、
清掃要否判定部と、
前記読取装置の清掃を行う清掃部と、
を備え、
前記汚れ情報記憶部は、前記汚れ情報が検知された日時の情報と共に前記汚れ情報を記憶し、
清掃要否判定部は、前記読取部が読み取った画像を用いて検知された汚れ情報と、前記汚れ情報記憶部が記憶した汚れ情報に基づいて、前記読取装置の清掃が必要か否かを判定し、
前記清掃部は、前記清掃要否判定部が前記読取装置の清掃が必要と判定した場合に、前記読取装置の清掃を行う、
画像形成装置。
【請求項5】
前記汚れ情報は、汚れの数又は大きさと、前記汚れの位置を含む、
請求項1乃至4のいずれか一項に記載の画像形成装置。
【請求項6】
画像を読み取る読取装置とユーザへのメッセージを表示する表示部とを備えた画像形成装置で用いられる情報処理方法であって、
前記読取装置を用いて画像を読み取る読取ステップと、
前記読取ステップが読み取った画像を用いて検知された汚れ情報を記憶する汚れ情報記憶ステップと、
清掃要否判定ステップと、
前記表示部を制御する表示制御ステップと、
を含み、
前記汚れ情報記憶ステップは、前記汚れ情報が検知された日時の情報と共に前記汚れ情報を記憶し、
清掃要否判定ステップは、前記読取ステップが読み取った画像を用いて検知された汚れ情報と、前記汚れ情報記憶ステップが記憶した汚れ情報及び日時の情報と、に基づいて、前記読取装置の清掃が必要か否かを判定し、
前記表示制御ステップは、前記清掃要否判定ステップが前記読取装置の清掃が必要と判定した場合に、前記読取装置の清掃を促すメッセージを表示させる、
情報処理方法。
【請求項7】
画像を読み取る読取装置とユーザへのメッセージを表示する表示部とを備えた画像形成装置において、コンピュータを、
前記読取装置を用いて画像を読み取る読取手段と、
前記読取手段が読み取った画像を用いて検知された汚れ情報を記憶する汚れ情報記憶手段と、
清掃要否判定手段と、
前記表示部を制御する表示制御手段と、
として機能させるものであって、
前記汚れ情報記憶手段は、前記汚れ情報が検知された日時の情報と共に前記汚れ情報を記憶し、
清掃要否判定手段は、前記読取手段が読み取った画像を用いて検知された汚れ情報と、前記汚れ情報記憶手段が記憶した汚れ情報及び日時の情報と、に基づいて、前記読取装置の清掃が必要か否かを判定し、
前記表示制御手段は、前記清掃要否判定手段が前記読取装置の清掃が必要と判定した場合に、前記読取装置の清掃を促すメッセージを表示させる、
プログラム。
発明の詳細な説明
【技術分野】
【0001】
本発明は、画像形成装置、情報処理方法およびプログラムに関する。
続きを表示(約 2,300 文字)
【背景技術】
【0002】
画像形成装置で出力する画像の濃度について、複数の吐出ヘッドからインクが吐出されることによって形成される画像をスキャナで読み取り、読み取った結果に基づいて、吐出ヘッドが吐出するインク量を制御することにより印刷画像の濃度を均一にする技術が既に知られている。濃度を均一化するための補正処理において、吐出ヘッドで印字した印刷物をスキャナで読み取る処理をする際に、当該スキャナに汚れがあると補正精度が低下する。したがって、濃度の均一化処理を行うためには、適正にスキャナの汚れを検知する必要がある。そして、検知結果に基づいてスキャナの汚れを除去することにより、精度よく濃度の均一化処理が可能となる。
【0003】
特許文献1には、検知された異常画素発生要因(汚れ、ゴミ等)のサイズにより決定する値が閾値より大きい場合は、読み取り部の清掃を促すための表示をすることが開示されている。
【発明の概要】
【発明が解決しようとする課題】
【0004】
しかしながら、従来の技術では、サイズが閾値以下の汚れ等汚れの程度が小さい場合に清掃が行われず長期間放置されるという問題があった。また、検知された異常の要因がスキャナの汚れ等によるものか吐出ヘッドのノズルの異常によるものかが判定できないという問題があった。
【0005】
本発明は、上記に鑑みてなされたものであって、検知された異常の要因を適切に判定することで、ユーザの利便性を向上させることを目的とする。
【課題を解決するための手段】
【0006】
上述した課題を解決し、目的を達成するために、本発明は、読取装置を用いて画像を読み取る読取部と、前記読取部が読み取った画像を用いて検知された汚れ情報を記憶する汚れ情報記憶部と、清掃要否判定部と、ユーザへのメッセージを表示する表示部を制御する表示制御部と、を備える。
【発明の効果】
【0007】
本発明によれば、ユーザの利便性を向上させることができる。
【図面の簡単な説明】
【0008】
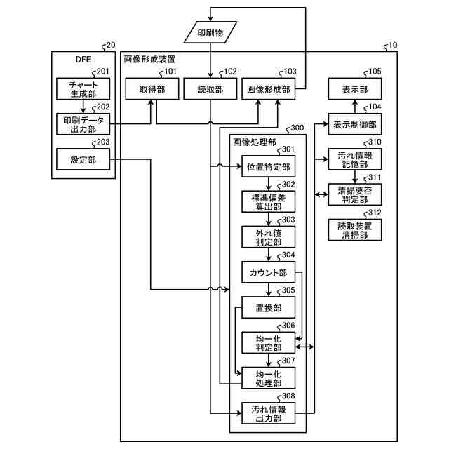
図1は、第1の実施の形態に係る画像形成装置を含むシステムの概略構成の一例を示す図である。
図2は、画像形成装置の概略構成の一例を示す図である。
図3は、画像形成装置のラインヘッド方式の液体吐出ユニットの吐出ヘッド、および読取装置の概略構成の一例を示す図である。
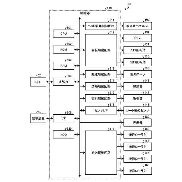
図4は、画像形成装置のハードウェア構成の一例を示す図である。
図5は、DFEのハードウェア構成の一例を示す図である。
図6は、第1の実施の形態に係る画像形成装置とDFEの機能ブロックの構成の一例を示す図である。
図7は、均一化処理を行うために使用するチャートの一例を示す図である。
図8は、読取装置により読み取られたチャートの読取データの一例を示す図である。
図9は、均一化処理を説明する図である。
図10は、読取装置の清掃要否を判定する処理の流れの一例を示すフローチャートである。
図11は、第1の実施の形態に係る画像形成装置とDFEの機能ブロックの構成の変形例を示す図である。
図12は、読取装置の清掃前後の読取データの例を示す図である。
図13は、第2の実施の形態に係る画像形成装置とDFEの機能ブロックの構成の一例を示す図である。
図14は、ノズルの清掃要否を判定する処理の流れの一例を示すフローチャートである。
【発明を実施するための形態】
【0009】
以下に、図面を参照しながら、本発明に係る画像形成装置、情報処理方法およびプログラムの実施形態を詳細に説明する。また、以下の実施形態によって本発明が限定されるものではなく、以下の実施形態における構成要素には、当業者が容易に想到できるもの、実質的に同一のもの、およびいわゆる均等の範囲のものが含まれる。さらに、以下の実施形態の要旨を逸脱しない範囲で構成要素の種々の省略、置換、変更および組み合わせを行うことができる。
【0010】
なお、コンピュータソフトウェアとは、コンピュータの動作に関するプログラム、その他コンピュータによる処理の用に供する情報であってプログラムに準ずるものをいう(以下、コンピュータソフトウェアは、ソフトウェアという)。アプリケーションソフトとは、ソフトウェアの分類のうち、特定の作業を行うために使用されるソフトウェアの総称である。一方、オペレーティングシステム(OS)とは、コンピュータを制御し、アプリケーションソフト等がコンピュータ資源を利用可能にするためのソフトウェアのことである。オペレーティングシステムは、入出力の制御、メモリやハードディスク等のハードウェアの管理、プロセスの管理といった、コンピュータの基本的な管理・制御を行っている。アプリケーションソフトウェアは、オペレーティングシステムが提供する機能を利用して動作する。プログラムとは、コンピュータに対する指令であって、一の結果を得ることができるように組み合わせたものをいう。また、プログラムに準ずるものとは、コンピュータに対する直接の指令ではないためプログラムとは呼べないが、コンピュータの処理を規定するという点でプログラムに類似する性質を有するものをいう。例えば、データ構造(データ要素間の相互関係で表される、データの有する論理的構造)がプログラムに準ずるものに該当する。
(【0011】以降は省略されています)
この特許をJ-PlatPat(特許庁公式サイト)で参照する
関連特許
株式会社リコー
移動体
27日前
株式会社リコー
画像形成装置
5日前
株式会社リコー
画像形成装置
5日前
株式会社リコー
画像形成装置
8日前
株式会社リコー
画像形成装置
13日前
株式会社リコー
機器及び異常判定方法
13日前
株式会社リコー
画像形成装置及びシステム
11日前
株式会社リコー
延長トレイ及び画像形成装置
8日前
株式会社リコー
定着装置、及び画像形成装置
13日前
株式会社リコー
画像読取装置及び画像読取方法
7日前
株式会社リコー
表示装置、切替方法、プログラム
18日前
株式会社リコー
媒体処理装置及び画像形成システム
8日前
株式会社リコー
樹脂粒子、及び樹脂粒子の製造方法
5日前
株式会社リコー
加熱装置、定着装置、画像形成装置
今日
株式会社リコー
加熱装置、定着装置及び画像形成装置
12日前
株式会社リコー
通信端末、通信方法、及びプログラム
11日前
株式会社リコー
通信装置、通信方法、及びプログラム
11日前
株式会社リコー
シート給送装置及び画像形成システム
14日前
株式会社リコー
読取装置、読取方法およびプログラム
8日前
株式会社リコー
光源装置、画像投影装置および調整方法
18日前
株式会社リコー
ノード、データ共有方法、及びプログラム
25日前
株式会社リコー
通信装置、状態制御方法、及びプログラム
14日前
株式会社リコー
画像形成装置、情報処理方法及びプログラム
11日前
株式会社リコー
画像形成装置、及び、プロセスカートリッジ
18日前
株式会社リコー
画像読取装置、画像判定方法およびプログラム
11日前
株式会社リコー
画像形成装置、情報処理方法およびプログラム
12日前
株式会社リコー
画像形成装置、画像処理方法およびプログラム
6日前
株式会社リコー
表示装置、表示方法、プログラム、表示システム
26日前
株式会社リコー
表示装置、表示方法、プログラム、表示システム
今日
株式会社リコー
モノクロ用光走査装置及びモノクロ画像形成装置
11日前
株式会社リコー
画像読取装置、用紙斜行防止装置及び画像形成装置
6日前
株式会社リコー
対話装置、対話システム、対話方法及びプログラム
25日前
株式会社リコー
情報処理装置、情報処理システムおよび情報処理方法
25日前
株式会社リコー
情報処理システム、情報処理装置および情報処理方法
25日前
株式会社リコー
電気機器、画像形成装置、制御方法、及びプログラム
21日前
株式会社リコー
情報処理装置、設定システム、プログラム、情報処理方法
5日前
続きを見る
他の特許を見る