TOP
|
特許
|
意匠
|
商標
特許ウォッチ
Twitter
他の特許を見る
10個以上の画像は省略されています。
公開番号
2025145619
公報種別
公開特許公報(A)
公開日
2025-10-03
出願番号
2024045898
出願日
2024-03-22
発明の名称
液体吐出装置、印刷装置、液体吐出方法およびプログラム
出願人
株式会社リコー
代理人
弁理士法人酒井国際特許事務所
主分類
B41J
2/01 20060101AFI20250926BHJP(印刷;線画機;タイプライター;スタンプ)
要約
【課題】2つのヘッドの重複範囲における画質の低下を防ぐことを目的とする。
【解決手段】複数のノズルからなるノズル列を複数配列して前記ノズルから液滴を選択的に媒体へ吐出する複数のヘッドとノズルからの液滴の吐出を制御する制御部とを有し隣接する第1のヘッド及び第2のヘッドをノズル列の列方向の端部にノズルオーバーラップ領域を設けて設置する液体吐出装置において第1のヘッドの所定のノズル列のノズルと第2のヘッドの所定のノズル列のノズルはノズル列と直交する直線上に配置されノズルオーバーラップ領域において制御部はノズルから吐出される複数の液滴をノズル列と直交する方向に着弾する複数の液滴を第1のヘッドのノズルのみ又は第2のヘッドのノズルのみから吐出しノズル列において液滴を吐出する吐出ノズルと液滴を吐出しない非吐出ノズルを交互に配置し複数のノズル列に含まれる前記非吐出ノズルをノズル列に対して斜め方向に配置する。
【選択図】図10
特許請求の範囲
【請求項1】
複数のノズルからなるノズル列を複数配列して前記ノズルから液滴を選択的に媒体へ吐出する複数のヘッドと、前記ノズルからの液滴の吐出を制御する制御部と、を有し、隣接する第1のヘッド及び第2のヘッドを前記ノズル列の列方向の端部にノズルオーバーラップ領域を設けて設置する液体吐出装置において、
前記第1のヘッドの所定のノズル列のノズルと前記第2のヘッドの所定のノズル列のノズルは、前記ノズル列と直交する直線上に配置され、
前記ノズルオーバーラップ領域において、前記制御部は、
前記ノズル列と直交する方向に着弾する複数の液滴を、前記第1のヘッドのノズルのみ又は前記第2のヘッドのノズルのみから吐出し、
前記ノズル列において、液滴を吐出する吐出ノズルと液滴を吐出しない非吐出ノズルを交互に配置し、
複数のノズル列に含まれる前記非吐出ノズルを、ノズル列に対して斜め方向に配置する、
液体吐出装置。
続きを表示(約 1,200 文字)
【請求項2】
前記ヘッドに含まれる前記ノズル列の数は、6乃至10の範囲である、
請求項1に記載の液体吐出装置。
【請求項3】
前記ノズル列に含まれる前記ノズルの間隔は、前記ノズル列の間隔よりも小さい、
請求項1に記載の液体吐出装置。
【請求項4】
請求項1乃至3のいずれか一項に記載の液体吐出装置と、
前記液体吐出装置を駆動させて液体を媒体へ吐出させるシステム制御部と、
前記媒体を搬送する搬送手段と、
を備える印刷装置。
【請求項5】
複数のノズルからなるノズル列を複数配列して前記ノズルから液滴を選択的に媒体へ吐出する複数のヘッドを有し、
隣接する第1のヘッド及び第2のヘッドを前記ノズル列の列方向の端部にノズルオーバーラップ領域を設けて設置し、
前記ノズルオーバーラップ領域において、前記第1のヘッドの所定のノズル列のノズルと前記第2のヘッドの所定のノズル列のノズルは、前記ノズル列と直交する直線上に配置される、液体吐出ヘッドにおける液体吐出方法であって、
前記ノズルからの液滴の吐出を制御する制御工程を含み、
前記ノズルオーバーラップ領域において、前記制御工程は、
前記ノズル列と直交する方向に着弾する複数の液滴を、前記第1のヘッドのノズルのみ又は前記第2のヘッドのノズルのみから吐出し、
前記ノズル列において、液滴を吐出する吐出ノズルと液滴を吐出しない非吐出ノズルを交互に配置し、
複数のノズル列に含まれる前記非吐出ノズルを、ノズル列に対して斜め方向に配置する、
液体吐出方法。
【請求項6】
複数のノズルからなるノズル列を複数配列して前記ノズルから液滴を選択的に媒体へ吐出する複数のヘッドを有し、隣接する第1のヘッド及び第2のヘッドを前記ノズル列の列方向の端部にノズルオーバーラップ領域を設けて設置し、前記ノズルオーバーラップ領域において、前記第1のヘッドの所定のノズル列のノズルと前記第2のヘッドの所定のノズル列のノズルは、前記ノズル列と直交する直線上に配置される、液体吐出ヘッドを制御するコンピュータを、
前記ヘッドを駆動させて液体を吐出させる制御手段として機能させるものであって、
前記ノズルオーバーラップ領域において、前記制御手段は、
前記ノズル列と直交する方向に着弾する複数の液滴を、前記第1のヘッドのノズルのみ又は前記第2のヘッドのノズルのみから吐出し、
前記ノズル列において、液滴を吐出する吐出ノズルと液滴を吐出しない非吐出ノズルを交互に配置し、
複数のノズル列に含まれる前記非吐出ノズルを、ノズル列に対して斜め方向に配置する、
プログラム。
発明の詳細な説明
【技術分野】
【0001】
本発明は、液体吐出装置、印刷装置、液体吐出方法およびプログラムに関する。
続きを表示(約 2,000 文字)
【背景技術】
【0002】
近年、液体吐出装置は、例えば、高生産性を実現するための吐出対象物の搬送速度の高速度化や、吐出対象物として幅広のメディア(印刷媒体)への対応が求められている。また、幅広の印刷媒体に対応するために、複数の吐出ヘッドを並べて長尺のヘッド群を構成する場合、ヘッド間の位置合わせ精度に起因する画質低下や、ヘッドの吐出ばらつき等による画質低下を抑制するため、隣接ヘッド端部のノズルをオーバーラップさせて、吐出ノズルと非吐出ノズルを選択して、重複領域の画質低下を抑制する技術が知られている。
【0003】
特許文献1には、2つのヘッドユニットが、媒体の相対移動方向及びノズル配列方向に互いにずれて配置され、ノズル配列方向における所定の重複範囲において、2つのヘッドユニットの一部のノズル同士が、相対移動方向に重なるように配置されることが開示されている。
【発明の概要】
【発明が解決しようとする課題】
【0004】
しかしながら、従来の技術では、重複範囲において2つのヘッドに吐出を振り分けると、ヘッドが重複しない範囲に比べ1ノズルあたりの駆動周波数が低下する。このため、重複範囲では吐出量が変わってしまい、重複範囲において濃度ムラやスジ等の画質低下が生じるという問題があった。
【0005】
本発明は、上記に鑑みてなされたものであって、2つのヘッドの重複範囲における画質の低下を防ぐことを目的とする。
【課題を解決するための手段】
【0006】
上述した課題を解決し、目的を達成するために、本発明は、複数のノズルからなるノズル列を複数配列して前記ノズルから液滴を選択的に媒体へ吐出する複数のヘッドと、前記ノズルからの液滴の吐出を制御する制御部と、を有し、隣接する第1のヘッド及び第2のヘッドを前記ノズル列の列方向の端部にノズルオーバーラップ領域を設けて設置する液体吐出装置において、前記第1のヘッドの所定のノズル列のノズルと前記第2のヘッドの所定のノズル列のノズルは、前記ノズル列と直交する直線上に配置され、前記ノズルオーバーラップ領域において、前記制御部は、前記ノズル列と直交する方向に着弾する複数の液滴を、前記第1のヘッドのノズルのみ又は前記第2のヘッドのノズルのみから吐出し、前記ノズル列において、液滴を吐出する吐出ノズルと液滴を吐出しない非吐出ノズルを交互に配置し、複数のノズル列に含まれる前記非吐出ノズルを、ノズル列に対して斜め方向に配置する。
【発明の効果】
【0007】
本発明によれば、2つのヘッドの重複範囲における画質の低下を防ぐことができる、という効果を奏する。
【図面の簡単な説明】
【0008】
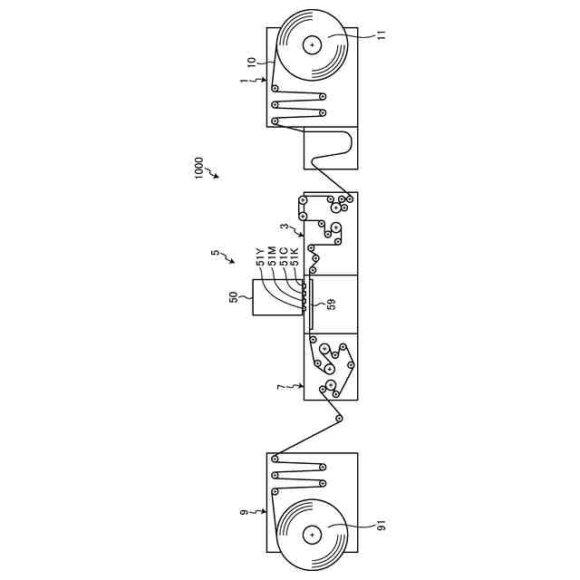
図1は、第1の実施の形態にかかる印刷装置の概略構成を示す図である。
図2は、印刷装置のヘッドユニットの一例の平面図である。
図3は、隣接する複数のヘッドの構成を示す平面図である。
図4は、印刷装置のシステム構成例を示すブロック図である。
図5は、プリント制御部による各ノズルの液滴吐出制御に係る機能ブロック図である。
図6は、ノズルオーバーラップ領域の周辺における従来の着弾ドットの例を示す図である。
図7は、駆動周波数と吐出適量の関係の一例を示す図である。
図8は、吐出適量が低下した状態で形成された従来の着弾ドットの例を示す図である。
図9は、重複部において2つのヘッドからの液滴が重なって着弾した場合の着弾ドットの例を示す図である。
図10は、第1の実施の形態に係るマスクパターンと、形成された着弾ドットの例を示す図である。
図11は、第1の実施の形態に係るマスクパターンと、形成された着弾ドットの他の例を示す図である。
図12は、第1の実施の形態に係るマスクパターンと、形成された着弾ドットの他の例を示す図である。
図13は、第2の実施の形態に係る電極の製造装置の一例を示す模式図である。
【発明を実施するための形態】
【0009】
以下に添付図面を参照して、液体吐出装置、印刷装置、液体吐出方法およびプログラムの実施の形態を詳細に説明する。
【0010】
(第1の実施の形態)
ここで、図1は第1の実施の形態にかかる印刷装置1000の概略構成を示す図、図2は印刷装置1000のヘッドユニット50の一例の平面図である。本実施形態にかかる印刷装置1000は、ライン型ヘッドであるヘッドユニット50を備えたライン型インクジェット記録装置である。
(【0011】以降は省略されています)
この特許をJ-PlatPat(特許庁公式サイト)で参照する
関連特許
株式会社リコー
移動体
4日前
株式会社リコー
画像形成装置
1か月前
株式会社リコー
画像形成装置
24日前
株式会社リコー
画像形成装置
9日前
株式会社リコー
印刷システム
13日前
株式会社リコー
画像形成装置
13日前
株式会社リコー
画像形成装置
16日前
株式会社リコー
感熱記録媒体
10日前
株式会社リコー
液体塗布装置
17日前
株式会社リコー
画像形成装置
13日前
株式会社リコー
画像形成装置
13日前
株式会社リコー
画像形成装置
1か月前
株式会社リコー
拡張アンテナ装置
16日前
株式会社リコー
印刷応答補償機構
17日前
株式会社リコー
生体情報測定装置
10日前
株式会社リコー
画像投射システム
24日前
株式会社リコー
投薬管理システム
1か月前
株式会社リコー
画像形成システム
9日前
株式会社リコー
マーキングシステム
16日前
株式会社リコー
液体を吐出する装置
10日前
株式会社リコー
電極及びその製造方法
11日前
株式会社リコー
電極及びその製造方法
13日前
株式会社リコー
多孔質構造体の製造方法
13日前
株式会社リコー
定着装置及び画像形成装置
23日前
株式会社リコー
定着装置及び画像形成装置
17日前
株式会社リコー
ファイル分析・保存システム
13日前
株式会社リコー
液体塗布装置および洗浄方法
13日前
株式会社リコー
塗装システム、及び塗装方法
13日前
株式会社リコー
パルスバルブおよび塗布装置
13日前
株式会社リコー
センサ素子及びセンサアレイ
23日前
株式会社リコー
液吐出装置、及び液吐出方法
17日前
株式会社リコー
印刷装置および印刷システム
9日前
株式会社リコー
センサ素子及びセンサアレイ
23日前
株式会社リコー
定着装置、及び、画像形成装置
13日前
株式会社リコー
印刷ファイル前処理メカニズム
1か月前
株式会社リコー
後処理装置および画像形成装置
13日前
続きを見る
他の特許を見る