TOP
|
特許
|
意匠
|
商標
特許ウォッチ
Twitter
他の特許を見る
10個以上の画像は省略されています。
公開番号
2025146632
公報種別
公開特許公報(A)
公開日
2025-10-03
出願番号
2024204826
出願日
2024-11-25
発明の名称
情報処理システム、情報処理方法、および情報処理装置
出願人
株式会社リコー
代理人
弁理士法人酒井国際特許事務所
主分類
G06Q
10/20 20230101AFI20250926BHJP(計算;計数)
要約
【課題】複数のメンテナンスの計画によるダウンタイムの発生を防ぎつつ、前倒してのメンテナンスの計画によるサプライの消費を抑制する情報処理システム、方法及び装置を提供する。
【解決手段】情報処理システムにおいて、情報処理装置は、画像形成装置上で実施するジョブ情報を記録する予定情報記憶部と、ジョブ情報から消耗品の消費量を算出し、かつ、消耗品の残量と算出された消費量から、消耗品の残量が所定値以下にならないように消耗品交換のメンテナンスを計画する予定管理部と、メンテナンスの種類毎に、作業時間、必要となる作業者の人数、前倒して実施する可否を含むメンテナンス情報値テーブルを記憶するメンテナンス情報記憶部と、を備え、予定管理部は、メンテナンス情報値テーブルに基づいて、複数のメンテナンスが重なった時間にメンテナンス作業を実施可能なユーザ数が必要な人員数よりも少ない場合、メンテナンスを前倒しで計画する。
【選択図】図2
特許請求の範囲
【請求項1】
交換可能な消耗品を含む装置におけるジョブ情報を記録するジョブ情報記録部と、
前記ジョブ情報から前記装置のジョブにおける前記消耗品の消費量を算出する消耗品消費量算出部と、
前記消耗品の残量と算出された前記消費量から、前記消耗品の残量が所定値以下にならないように消耗品交換のメンテナンスを計画するメンテナンス計画部と、
前記メンテナンスの種類毎に、作業時間、必要となる作業者の人数、および前倒して実施することの可否を含むメンテナンス情報値テーブルを記憶するメンテナンス情報記憶部と、を備え、
前記メンテナンス計画部は、前記メンテナンス情報値テーブルに基づいて、複数の前記メンテナンスが重なった時間において前記メンテナンスを実施可能なユーザ数が必要な人員数よりも少ない場合、前倒して実施可能な前記メンテナンスがあれば当該メンテナンスを前倒しで計画する、情報処理システム。
続きを表示(約 1,500 文字)
【請求項2】
前記メンテナンス計画部は、複数の前記メンテナンスが重なった時間においてメンテナンス作業を実施可能なユーザ数が必要な人員数よりも少ない場合、前倒して実施可能な前記メンテナンスがなければ、前記複数のメンテナンスが重なった時間よりも後に計画されており前記メンテナンスより前に実施しても前記消耗品の残量が空にならない前倒し可能ジョブを前記メンテナンスより前に計画する、請求項1に記載の情報処理システム。
【請求項3】
前倒し可能な前記メンテナンス若しくは前記前倒し可能ジョブの実施計画を前倒しした場合に計画変更通知を表示する表示制御部を備える請求項2に記載の情報処理システム。
【請求項4】
前倒し可能な前記メンテナンスも前記前倒し可能ジョブも存在しない場合、若しくは前倒し可能な前記メンテナンスもしくは前記前倒し可能ジョブの実施計画を前倒しした場合に、前記複数のメンテナンスが重なった時間においてメンテナンス作業を実施可能なユーザ数が必要な人員数よりも少ない場合には、メンテナンス作業者が不足する時間帯が存在することを警告する警告部を備える請求項2に記載の情報処理システム。
【請求項5】
前記メンテナンス計画部においてメンテナンス作業を実施するユーザとして割り当てられたユーザのスケジュールに前記メンテナンスの予定を登録するスケジュール管理部を備える請求項1または2に記載の情報処理システム。
【請求項6】
前記装置のジョブが追加される直前の前記消耗品の残量を算出する残量算出部を備え、
前記メンテナンス計画部は、算出した前記消耗品の残量と、算出された前記消費量と、に基づいて、前記メンテナンスを計画する、請求項1または2に記載の情報処理システム。
【請求項7】
交換可能な消耗品を含む装置におけるジョブ情報を記録するジョブ情報記録部と、前記装置の前記消耗品の交換のメンテナンスの種類毎に、作業時間、必要となる作業者の人数、前倒して実施することの可否、を記憶するメンテナンス情報記憶部と、を備える情報処理装置で実行される情報処理方法であって、
前記ジョブ情報から前記装置のジョブにおける消耗品の消費量を算出するステップと、
前記消耗品の残量と算出された前記消費量から、前記消耗品の残量が所定値以下にならないように消耗品交換のメンテナンスを計画するステップと、
複数の前記メンテナンスが重なった時間において前記メンテナンスを実施可能なユーザ数が必要な人員数よりも少ない場合、前倒して実施可能な前記メンテナンスがあれば当該メンテナンスを前倒しで計画するステップと、
を含む情報処理方法。
【請求項8】
交換可能な消耗品を含む装置におけるジョブ情報を記録するジョブ情報記録部と、
前記ジョブ情報から前記装置のジョブにおける前記消耗品の消費量を算出する消耗品消費量算出部と、
前記消耗品の残量と算出された前記消費量から、前記消耗品の残量が所定値以下にならないように消耗品交換のメンテナンスを計画するメンテナンス計画部と、
前記メンテナンスの種類毎に、作業時間、必要となる作業者の人数、および前倒して実施することの可否を含むメンテナンス情報値テーブルを記憶するメンテナンス情報記憶部と、を備え、
前記メンテナンス計画部は、前記メンテナンス情報値テーブルに基づいて、複数の前記メンテナンスが重なった時間において前記メンテナンスを実施可能なユーザ数が必要な人員数よりも少ない場合、前倒して実施可能な前記メンテナンスがあれば当該メンテナンスを前倒しで計画する、情報処理装置。
発明の詳細な説明
【技術分野】
【0001】
本発明は、情報処理システム、情報処理方法、および情報処理装置に関する。
続きを表示(約 2,200 文字)
【背景技術】
【0002】
従来の画像形成装置では、各装置の消耗品(紙、トナー、PMパーツ等のサプライ)が切れる時刻、および保守作業の発生時刻の予測は可能であり、また、故障やその予兆を検知してメンテナンスを計画することも可能である。画像形成装置を複数台使用するとき、複数の画像形成装置で同時に各装置の消耗品が切れて保守作業が必要になることがある。複数のサプライの交換時期が互いに重なっているとき、それらのメンテナンスを重なっている時期に1つにまとめて行うように計画する技術(特許文献1参照)が開発されている。
【発明の概要】
【発明が解決しようとする課題】
【0003】
しかしながら、上記の技術では、サプライの交換作業を実施するメンテナンスが同時に発生した画像形成装置の台数よりも交換作業にあたる人員が少ない場合、複数台で同時にメンテナンスが発生すると作業待ちとなる画像形成装置が生じる。メンテナンスの待ち時間が発生する画像形成装置はその分ダウンタイムが伸びる。ダウンタイムが伸びれば、印刷システム全体での印刷効率も落ちる。また、トナーやPMパーツのような交換が必要な消耗品の場合、サプライの交換の時期を前倒して変更すると消耗品の使用期間が短くなり、消耗品の供給コストが増えてしまう。
【0004】
本発明は、上記に鑑みてなされたものであって、複数のメンテナンスの計画によるダウンタイムの発生を防ぎつつ、前倒してのメンテナンスの計画によるサプライの消費を抑制することができる、情報処理システム、情報処理方法、および情報処理装置を提供することを目的とする。
【課題を解決するための手段】
【0005】
上述した課題を解決し、目的を達成するために、本発明は、交換可能な消耗品を含む装置におけるジョブ情報を記録するジョブ情報記録部と、前記ジョブ情報から前記装置のジョブにおける前記消耗品の消費量を算出する消耗品消費量算出部と、前記消耗品の残量と算出された前記消費量から、前記消耗品の残量が所定値以下にならないように消耗品交換のメンテナンスを計画するメンテナンス計画部と、前記メンテナンスの種類毎に、作業時間、必要となる作業者の人数、および前倒して実施することの可否を含むメンテナンス情報値テーブルを記憶するメンテナンス情報記憶部と、を備え、前記メンテナンス計画部は、前記メンテナンス情報値テーブルに基づいて、複数の前記メンテナンスが重なった時間において前記メンテナンス作業を実施可能なユーザ数が必要な人員数よりも少ない場合、前倒して実施可能な前記メンテナンスがあれば当該メンテナンスを前倒しで計画する。
【発明の効果】
【0006】
本発明によれば、複数のメンテナンスの計画によるダウンタイムの発生を防ぎつつ、前倒してのメンテナンスの計画によるサプライの消費を抑制することができる、という効果を奏する。
【図面の簡単な説明】
【0007】
図1は、本実施の形態にかかる情報処理システムのシステム構成図の一例である。
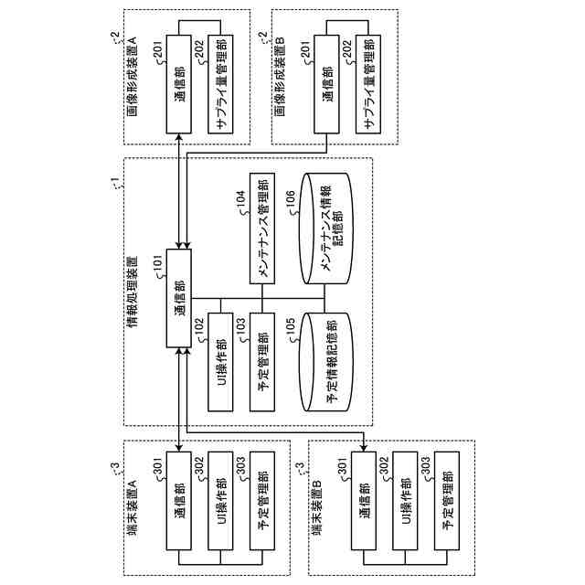
図2は、本実施の形態にかかる画像形成装置に使用したシステムの一例を示すブロック図である。
図3は、本実施の形態にかかる情報処理装置におけるメンテナンスの実施時間と実施者を決定するまでの処理の流れの一例を示すフローチャートである。
図4は、本実施の形態にかかる情報処理装置におけるメンテナンス情報値テーブルの一例を示す図である。
図5は、本実施の形態にかかる情報処理装置においてメンテナンスを前倒しで計画した際の通知のUI表示例を示す図である。
図6は、本実施の形態にかかる情報処理装置においてジョブの順番を入れ替えてメンテナンスを計画した際の通知のUI表示例を示す図である。
図7は、本実施の形態にかかる情報処理装置においてメンテナンスの実施者が不足する場合にメンテナンスを計画した際の通知のUI表示例を示す図である。
図8は、本実施の形態にかかる画像形成装置のメンテナンス時間の決定処理の一例を説明するための図である。
図9は、本実施の形態にかかる画像形成装置のメンテナンスの実施時間と実施者の決定処理の一例を説明するための図である。
【発明を実施するための形態】
【0008】
以下に添付図面を参照して、情報処理システム、情報処理方法、および情報処理装置の実施の形態を詳細に説明する。
【0009】
図1は、本実施の形態にかかる情報処理システムのシステム構成図の一例である。本実施の形態にかかる情報処理システムは、一例として、情報処理装置1、複数の画像形成装置2、複数のユーザが個別に使用している端末装置3等を有する。
【0010】
情報処理装置1は、画像形成装置2からサプライ(消耗品)の残量に関する情報を受けとることができる。また、情報処理装置1は、画像形成装置2と端末装置3と相互に通信可能である。上記のシステム構成において、情報処理装置1の機能は画像形成装置2の一部として含む構成でも良い。
(【0011】以降は省略されています)
この特許をJ-PlatPat(特許庁公式サイト)で参照する
関連特許
株式会社リコー
移動体
4日前
株式会社リコー
画像形成装置
1か月前
株式会社リコー
画像形成装置
24日前
株式会社リコー
画像形成装置
9日前
株式会社リコー
印刷システム
13日前
株式会社リコー
画像形成装置
13日前
株式会社リコー
画像形成装置
16日前
株式会社リコー
感熱記録媒体
10日前
株式会社リコー
液体塗布装置
17日前
株式会社リコー
画像形成装置
13日前
株式会社リコー
画像形成装置
13日前
株式会社リコー
画像形成装置
1か月前
株式会社リコー
拡張アンテナ装置
16日前
株式会社リコー
印刷応答補償機構
17日前
株式会社リコー
生体情報測定装置
10日前
株式会社リコー
画像投射システム
24日前
株式会社リコー
投薬管理システム
1か月前
株式会社リコー
画像形成システム
9日前
株式会社リコー
マーキングシステム
16日前
株式会社リコー
液体を吐出する装置
10日前
株式会社リコー
電極及びその製造方法
11日前
株式会社リコー
電極及びその製造方法
13日前
株式会社リコー
多孔質構造体の製造方法
13日前
株式会社リコー
定着装置及び画像形成装置
23日前
株式会社リコー
定着装置及び画像形成装置
17日前
株式会社リコー
ファイル分析・保存システム
13日前
株式会社リコー
液体塗布装置および洗浄方法
13日前
株式会社リコー
塗装システム、及び塗装方法
13日前
株式会社リコー
パルスバルブおよび塗布装置
13日前
株式会社リコー
センサ素子及びセンサアレイ
23日前
株式会社リコー
液吐出装置、及び液吐出方法
17日前
株式会社リコー
印刷装置および印刷システム
9日前
株式会社リコー
センサ素子及びセンサアレイ
23日前
株式会社リコー
定着装置、及び、画像形成装置
13日前
株式会社リコー
印刷ファイル前処理メカニズム
1か月前
株式会社リコー
後処理装置および画像形成装置
13日前
続きを見る
他の特許を見る