TOP
|
特許
|
意匠
|
商標
特許ウォッチ
Twitter
他の特許を見る
10個以上の画像は省略されています。
公開番号
2025146254
公報種別
公開特許公報(A)
公開日
2025-10-03
出願番号
2024046929
出願日
2024-03-22
発明の名称
液体吐出ヘッド、ヘッドモジュール及び液体吐出装置
出願人
株式会社リコー
代理人
個人
主分類
B41J
2/14 20060101AFI20250926BHJP(印刷;線画機;タイプライター;スタンプ)
要約
【課題】駆動波形の制御によらず、ノズル列内における圧電素子の応答速度差に起因する吐出速度の差を低減することができる液体吐出ヘッドを提供する。
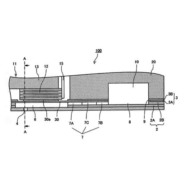
【解決手段】複数のノズル4が配列されたノズル列4aを有するノズル板1と、複数のノズル4にそれぞれ連通する複数の液室6と、液室6の壁面の一部を形成する振動板3と、振動板3の液室6と対向する面の裏面上に形成され、電圧の印加に応じて伸縮し、液室内部の液体を加圧する圧電素子12と、圧電素子12を固定するベース部材13と、を備え、加圧された液体がノズル4から吐出される液体吐出ヘッド100であって、ベース部材13の厚みおよび/または剛性が、ノズル列4aのノズル配列方向の中央部と両端部側とで異なる。
【選択図】図4
特許請求の範囲
【請求項1】
複数のノズルが配列されたノズル列を有するノズル板と、
前記複数のノズルにそれぞれ連通する複数の液室と、
前記液室の壁面の一部を形成する振動板と、
前記振動板の前記液室と対向する面の裏面上に形成され、電圧の印加に応じて伸縮し、前記液室内部の液体を加圧する圧電素子と、
前記圧電素子を固定するベース部材と、を備え、
加圧された液体が前記ノズルから吐出される液体吐出ヘッドにおいて、
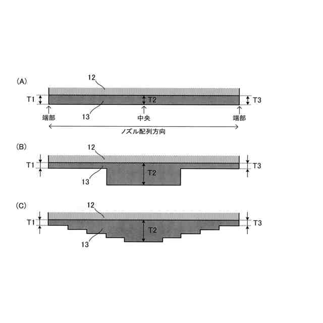
前記ベース部材の厚みおよび/または剛性が、前記ノズル列のノズル配列方向の中央部と両端部側とで異なることを特徴とする液体吐出ヘッド。
続きを表示(約 670 文字)
【請求項2】
前記ベース部材の前記ノズル配列方向における厚みおよび/または剛性の差異の大きさが、前記ノズル配列方向における前記圧電素子の応答時間の差異を相殺するために必要な大きさであることを特徴とする請求項1に記載の液体吐出ヘッド。
【請求項3】
前記ベース部材の前記ノズル配列方向における厚みおよび/または剛性の差異の大きさが、前記ノズル配列方向における液体の吐出速度の差異を相殺するために必要な大きさであることを特徴とする請求項1に記載の液体吐出ヘッド。
【請求項4】
前記圧電素子の前記ノズル配列方向の中央部における伸縮効率が、前記ノズル配列方向の両端部側における伸縮効率よりも高いことを特徴とする請求項1から3のいずれかに記載の液体吐出ヘッド。
【請求項5】
前記ベース部材の前記ノズル配列方向の中央部における厚みが、前記ノズル配列方向の両端部側における厚みよりも厚いことを特徴とする請求項1から3のいずれかに記載の液体吐出ヘッド。
【請求項6】
前記ベース部材の前記ノズル配列方向の中央部における剛性が、前記ノズル配列方向の両端部側における剛性よりも高いことを特徴とする請求項1から3のいずれかに記載の液体吐出ヘッド。
【請求項7】
請求項1から3のいずれかに記載の液体吐出ヘッドが複数配列されていることを特徴とするヘッドモジュール。
【請求項8】
請求項1から3のいずれかに記載の液体吐出ヘッドを備えることを特徴とする液体吐出装置。
発明の詳細な説明
【技術分野】
【0001】
本発明は、液体吐出ヘッド、ヘッドモジュール及び液体吐出装置に関する。
続きを表示(約 2,000 文字)
【背景技術】
【0002】
液体吐出ヘッドとして、圧電素子を圧力発生手段(アクチュエータ手段)として用い、圧電素子に所定の駆動電圧を印加することによりノズルから液滴を吐出するように構成されたものが知られている。また、液体吐出ヘッドからの液滴の吐出速は変化する特性を有することが知られている。
【0003】
ここで、複数のノズルが被吐出媒体の主走査方向に配列されたノズル板を備える液体吐出ヘッドにおいて、同じノズル列内の中央部のノズルと端部のノズルとで液滴の吐出速度が異なるという課題がある。
液体吐出ヘッドや被吐出媒体を移動させながら液体を吐出する態様では、液体の吐出速度が変化すると着弾位置のズレが生じ、例えばインクジェットプリンタ等では画質の低下につながる。
【0004】
これに対し、特許文献1では、複数のノズルのそれぞれに対応して液滴を吐出させる吐出力を駆動波形によって生じさせる吐出力発生手段と、吐出力発生手段による吐出力を生じさせるための第一の駆動信号および第二の駆動信号で構成される駆動波形をノズルに選択的に印加する駆動波形印加部と、を備え、駆動波形印加部がノズルの列における中央部に第一の駆動信号を、端部に第二の駆動信号を印加することによってノズルの列における吐出速度差を小さくする技術が開示されている。
【発明の概要】
【発明が解決しようとする課題】
【0005】
しかしながら、特許文献1のようにノズル列における吐出速度差を低減するために複数の駆動波形の生成及び選択を行う構成では、制御系が複雑となるという課題がある。
一方、ノズルからの液体の吐出速度は圧電素子の応答速度と相関関係を有するが、圧電素子の応答速度の違いに起因した吐出速度の差異を解消することは開示されていない。
【0006】
そこで、本発明は、駆動波形の制御によらず、ノズル列内における圧電素子の応答速度差に起因する吐出速度の差を低減することができる液体吐出ヘッドを提供することを目的とする。
【課題を解決するための手段】
【0007】
上記課題を解決するために、本発明の液体吐出ヘッドは、複数のノズルが配列されたノズル列を有するノズル板と、前記複数のノズルにそれぞれ連通する複数の液室と、前記液室の壁面の一部を形成する振動板と、前記振動板の前記液室と対向する面の裏面上に形成され、電圧の印加に応じて伸縮し、前記液室内部の液体を加圧する圧電素子と、前記圧電素子を固定するベース部材と、を備え、加圧された液体が前記ノズルから吐出される液体吐出ヘッドにおいて、前記ベース部材の厚みおよび/または剛性が、前記ノズル列のノズル配列方向の中央部と両端部側とで異なることを特徴とする。
【発明の効果】
【0008】
本発明によれば、駆動波形の制御によらず、ノズル列内における圧電素子の応答速度差に起因する吐出速度の差を低減することができる液体吐出ヘッドを提供することができる。
【図面の簡単な説明】
【0009】
液体吐出ヘッドの一例における斜視概略図(A)及びノズル面の説明図(B)である。
液体吐出ヘッドの一例を示す断面概略図である。
液体吐出ヘッドの一例を示す断面概略図である。
圧電アクチュエータの模式的説明図である。
圧電素子の応答時間と吐出速度との関係の一例を示すグラフである。
ヘッドモジュールの一例を示す分解斜視説明図である。
ヘッドモジュールの一例を示す分解斜視説明図である。
液体吐出ヘッドの他の例を示す斜視概略図である。
液体吐出ヘッドの他の例を示す断面概略図である。
液体吐出装置の一例としての印刷装置の概略説明図である。
ヘッドユニットの一例を示す概略図である。
液体吐出装置の他の例における概略図である
液体吐出装置の他の例における概略図である。
液体吐出ユニットの一例を示す概略図である。
液体吐出ユニットの他の例を示す概略図である。
液体吐出装置の一例としての電極の製造装置の要部構成を示す説明図である。
【発明を実施するための形態】
【0010】
以下、本発明に係る液体吐出ヘッド、ヘッドモジュール及び液体吐出装置について図面を参照しながら説明する。なお、本発明は以下に示す実施形態に限定されるものではなく、他の実施形態、追加、修正、削除など、当業者が想到することができる範囲内で変更することができ、いずれの態様においても本発明の作用・効果を奏する限り、本発明の範囲に含まれるものである。
(【0011】以降は省略されています)
この特許をJ-PlatPat(特許庁公式サイト)で参照する
関連特許
株式会社リコー
移動体
4日前
株式会社リコー
画像形成装置
9日前
株式会社リコー
感熱記録媒体
10日前
株式会社リコー
印刷システム
13日前
株式会社リコー
画像形成システム
9日前
株式会社リコー
生体情報測定装置
10日前
株式会社リコー
液体を吐出する装置
10日前
株式会社リコー
電極及びその製造方法
13日前
株式会社リコー
電極及びその製造方法
11日前
株式会社リコー
多孔質構造体の製造方法
13日前
株式会社リコー
塗装システム、及び塗装方法
13日前
株式会社リコー
印刷装置および印刷システム
9日前
株式会社リコー
ファイル分析・保存システム
13日前
株式会社リコー
定着装置、及び、画像形成装置
13日前
株式会社リコー
定着装置、及び、画像形成装置
13日前
株式会社リコー
液体吐出装置及び液体吐出方法
9日前
株式会社リコー
ベルト装置、及び、画像形成装置
9日前
株式会社リコー
パーソナライズビデオメカニズム
11日前
株式会社リコー
システム、方法およびプログラム
9日前
株式会社リコー
レーザ照射装置、レーザ照射方法
13日前
株式会社リコー
液体吐出装置、及び液体吐出方法
13日前
株式会社リコー
媒体処理装置及び画像形成システム
9日前
株式会社リコー
媒体処理装置及び画像形成システム
9日前
株式会社リコー
媒体処理装置及び画像形成システム
9日前
株式会社リコー
媒体処理装置及び画像形成システム
9日前
株式会社リコー
液体吐出ヘッドおよび液体吐出装置
10日前
株式会社リコー
媒体処理装置及び画像形成システム
10日前
株式会社リコー
媒体処理装置及び画像形成システム
11日前
株式会社リコー
mRNA発現量の免疫学的評価方法
10日前
株式会社リコー
情報処理システム、及び情報処理方法
11日前
株式会社リコー
原稿処理装置、及び原稿処理システム
10日前
株式会社リコー
シート給紙装置、および画像形成装置
9日前
株式会社リコー
液滴形成装置及びゲル粒子の製造方法
11日前
株式会社リコー
処理剤液塗布装置および画像形成装置
9日前
株式会社リコー
表示装置、表示方法およびプログラム
13日前
株式会社リコー
液体吐出ヘッド及び液体を吐出する装置
10日前
続きを見る
他の特許を見る