TOP
|
特許
|
意匠
|
商標
特許ウォッチ
Twitter
他の特許を見る
10個以上の画像は省略されています。
公開番号
2025146070
公報種別
公開特許公報(A)
公開日
2025-10-03
出願番号
2024046657
出願日
2024-03-22
発明の名称
液滴吐出ヘッド、ヘッドユニット及び液滴吐出装置
出願人
株式会社リコー
代理人
個人
,
個人
,
個人
主分類
B41J
2/14 20060101AFI20250926BHJP(印刷;線画機;タイプライター;スタンプ)
要約
【課題】液滴着弾位置のノズル配列方向へのずれを効果的に抑制する。
【解決手段】シートに液滴10を吐出する複数のノズル30を備え、複数のノズル30が並ぶ方向Xを第1の方向とし、液滴吐出中にシートとノズル30とが相対的に移動する相対移動方向Yを第2の方向とすると、第1の方向と第2の方向が互いに交差する方向となる液滴吐出ヘッドにおいて、第1の方向へ並ぶ複数のノズル30の間に、ガス8を吹き出すガス吹き出し口70を少なくとも1つ有する。
【選択図】図8
特許請求の範囲
【請求項1】
シートに液滴を吐出する複数のノズルを備え、
前記複数のノズルが並ぶ方向を第1の方向とし、液滴吐出中に前記シートと前記ノズルとが相対的に移動する相対移動方向を第2の方向とすると、前記第1の方向と前記第2の方向が互いに交差する方向となる液滴吐出ヘッドにおいて、
前記第1の方向へ並ぶ前記複数のノズルの間に、ガスを吹き出すガス吹き出し口を少なくとも1つ有することを特徴とする液滴吐出ヘッド。
続きを表示(約 710 文字)
【請求項2】
前記ガス吹き出し口は、前記第1の方向へ並ぶ前記複数のノズルの間のほか、前記第1の方向の最も外側に位置する前記ノズルよりも外側に配置される請求項1に記載の液滴吐出ヘッド。
【請求項3】
前記ガス吹き出し口は、前記第1の方向へ並ぶ前記複数のノズルの全ての前記ノズル同士の間に配置される請求項1に記載の液滴吐出ヘッド。
【請求項4】
前記ガス吹き出し口は、前記シートの相対移動方向における前記ノズルの位置から上流側へ延在する請求項1に記載の液滴吐出ヘッド。
【請求項5】
前記ガス吹き出し口から吹き出されるガスの吹き出し方向が、前記ノズルから吐出される液滴の吐出方向に対して前記シートの相対移動方向の下流側へ向かう方向へ傾斜する請求項4に記載の液滴吐出ヘッド。
【請求項6】
前記ガス吹き出し口は、前記第2の方向における前記ノズルの位置から正側及び負側の少なくとも一方へ延在する請求項1に記載の液滴吐出ヘッド。
【請求項7】
前記ガス吹き出し口は、前記第2の方向における前記ノズルの位置から正側及び負側の両方へ延在する請求項1に記載の液滴吐出ヘッド。
【請求項8】
前記ガス吹き出し口から吹き出されるガスの吹き出し方向の平均速度が、4m/s以上、12m/s以下である請求項1に記載の液滴吐出ヘッド。
【請求項9】
請求項1に記載の液滴吐出ヘッドを複数備えることを特徴とするヘッドユニット。
【請求項10】
請求項1に記載の液滴吐出ヘッドを備えることを特徴とする液滴吐出装置。
発明の詳細な説明
【技術分野】
【0001】
本発明は、液滴吐出ヘッド、ヘッドユニット及び液滴吐出装置に関する。
続きを表示(約 2,000 文字)
【背景技術】
【0002】
インクジェット式の画像形成装置などに搭載される液滴吐出ヘッドとして、複数のノズルがシートの搬送方向に対して交差する方向に並んで配置されるものが知られている。
【0003】
このような液滴吐出ヘッドにおいては、ノズルから液滴が吐出される際に生じる気流によって、液滴の着弾位置がノズルの配列方向へずれるといった問題がある。特に、高画質化、小型化、高生産性に対応して、複数のノズルが高密度に配置され、吐出される液滴も小滴化された液滴吐出ヘッドにおいては、液滴が吐出された際の気流による着弾位置のノズル配列方向へのずれが顕著となる傾向にある。
【0004】
例えば、特許文献1(特開2016-175243号公報)には、吐出ヘッドの液滴吐出面へのミストの付着を抑制しつつ、所望の位置に液滴が吐出されるようにするために、媒体と吐出口との相対移動方向に沿って吐出口を挟んで設けられるガス吹き出し穴を備える液滴吐出ヘッドが提案されている。
【発明の概要】
【発明が解決しようとする課題】
【0005】
しかしながら、特許文献1においては、液滴が吐出された際の気流による着弾位置のノズル配列へのずれを効果的に抑制する方法については検討されていない。
【0006】
そこで、本発明においては、液滴着弾位置のノズル配列方向へのずれを効果的に抑制することを課題とする。
【課題を解決するための手段】
【0007】
上記課題を解決するため、本発明は、シートに液滴を吐出する複数のノズルを備え、前記複数のノズルが並ぶ方向を第1の方向とし、液滴吐出中に前記シートと前記ノズルとが相対的に移動する相対移動方向を第2の方向とすると、前記第1の方向と前記第2の方向が互いに交差する方向となる液滴吐出ヘッドにおいて、前記第1の方向へ並ぶ前記複数のノズルの間に、ガスを吹き出すガス吹き出し口を少なくとも1つ有することを特徴とする。
【発明の効果】
【0008】
本発明によれば、液滴着弾位置のノズル配列方向(第1の方向)へのずれを効果的に抑制できる。
【図面の簡単な説明】
【0009】
本発明の第1実施形態に係る画像形成装置の概略構成図である。
本本発明の第1実施形態に係る画像形成装置の制御システムを示すブロック図である。
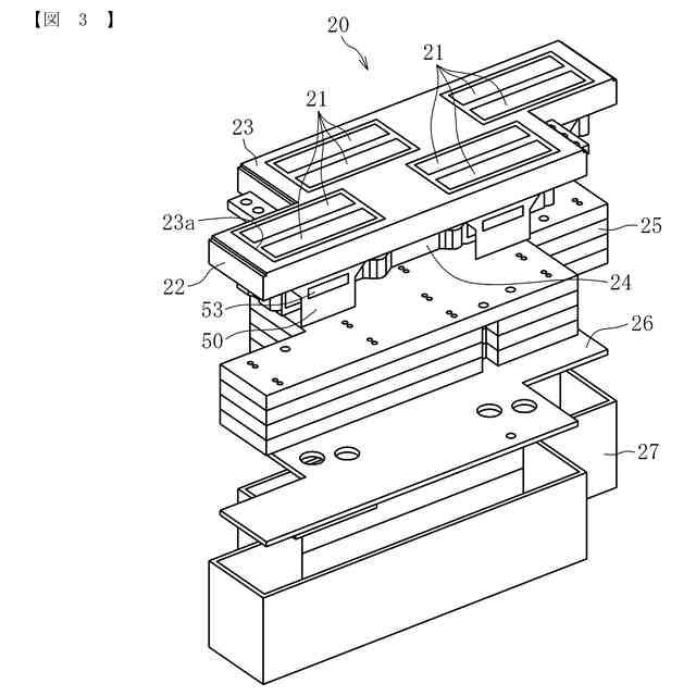
本発明の第1実施形態に係る液滴吐出ヘッドの分解斜視図である。
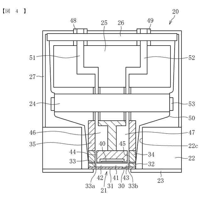
図3に示される液滴吐出ヘッドの短手方向の断面図である。
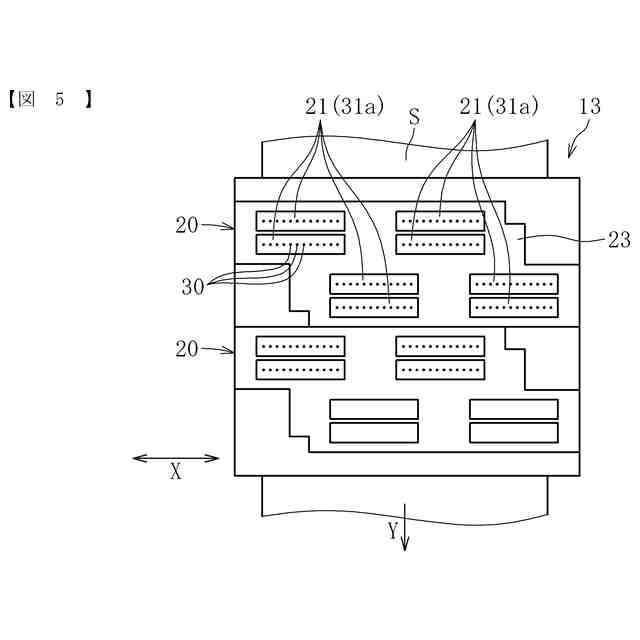
本発明の第1実施形態に係るヘッドユニットの構成を示す平面図である。
本発明の第1実施形態に係る液滴吐出ヘッドのノズル面をその直交方向から見た平面図である。
本発明の第1実施形態に係る液滴吐出ヘッドに設けられるガス供給機構の概略構成図である。
本発明の第1実施形態において、ガス吹き出し口からガスが吹き出される様子を図6のA-A線に沿った断面にて示す図である。
本発明の第1実施形態において、ガス吹き出し口からガスが吹き出される様子を図6のB-B線に沿った断面にて示す図である。
本発明の第2実施形態において、ガス吹き出し口からガスが吹き出される様子をシート搬送方向に沿った断面にて示す図である。
シリアル型のヘッドユニットの一例を示す平面図である。
シリアル型のヘッドユニットに設けられるガス吹き出し口を示す断面図である。
液滴吐出ヘッドが一方向へ移動したときのガスの流れを示す図である。
液滴吐出ヘッドが反対方向へ移動したときのガスの流れを示す図である。
ノズルがシート搬送方向とシート搬送方向に対して交差する方向の両方向へ並ぶように配列された例を示す平面図である。
本発明の実施形態に係る電極の製造装置の一例を示す模式図である。
液滴吐出ヘッドが有する1つのノズルからシートへ液滴が吐出されたときの空気の流れを示す図である。
1つのノズルから液滴が連続的に吐出されたときの空気の流れを示す図である。
複数のノズルが一方向へ配列される場合に、各ノズルから液滴が連続的に吐出されたときの空気の流れを示す図である。
液滴が吐出される様子をノズル配列方向から見たときの空気の流れを示す図である。
ノズル列の内側の領域において、気流が発生する様子を示す図である。
【発明を実施するための形態】
【0010】
以下、添付の図面に基づき、本発明について説明する。なお、本発明を説明するための各図面において、同一の機能もしくは形状を有する部材及び構成部品などの構成要素については、判別が可能な限り同一符号を付し、一度説明した後ではその説明を省略する。
(【0011】以降は省略されています)
この特許をJ-PlatPat(特許庁公式サイト)で参照する
関連特許
株式会社リコー
移動体
4日前
株式会社リコー
画像形成装置
1か月前
株式会社リコー
画像形成装置
9日前
株式会社リコー
画像形成装置
24日前
株式会社リコー
感熱記録媒体
10日前
株式会社リコー
画像形成装置
16日前
株式会社リコー
液体塗布装置
17日前
株式会社リコー
画像形成装置
13日前
株式会社リコー
画像形成装置
13日前
株式会社リコー
画像形成装置
13日前
株式会社リコー
印刷システム
13日前
株式会社リコー
画像投射システム
24日前
株式会社リコー
画像形成システム
9日前
株式会社リコー
生体情報測定装置
10日前
株式会社リコー
拡張アンテナ装置
16日前
株式会社リコー
印刷応答補償機構
17日前
株式会社リコー
マーキングシステム
16日前
株式会社リコー
液体を吐出する装置
10日前
株式会社リコー
電極及びその製造方法
11日前
株式会社リコー
電極及びその製造方法
13日前
株式会社リコー
多孔質構造体の製造方法
13日前
株式会社リコー
定着装置及び画像形成装置
23日前
株式会社リコー
定着装置及び画像形成装置
17日前
株式会社リコー
ファイル分析・保存システム
13日前
株式会社リコー
液体塗布装置および洗浄方法
13日前
株式会社リコー
センサ素子及びセンサアレイ
23日前
株式会社リコー
塗装システム、及び塗装方法
13日前
株式会社リコー
センサ素子及びセンサアレイ
23日前
株式会社リコー
パルスバルブおよび塗布装置
13日前
株式会社リコー
液吐出装置、及び液吐出方法
17日前
株式会社リコー
印刷装置および印刷システム
9日前
株式会社リコー
導光部材、光学系及び表示装置
25日前
株式会社リコー
液体吐出装置及び液体吐出方法
9日前
株式会社リコー
定着装置、及び、画像形成装置
13日前
株式会社リコー
定着装置、及び、画像形成装置
13日前
株式会社リコー
後処理装置および画像形成装置
13日前
続きを見る
他の特許を見る