TOP
|
特許
|
意匠
|
商標
特許ウォッチ
Twitter
他の特許を見る
公開番号
2025134135
公報種別
公開特許公報(A)
公開日
2025-09-17
出願番号
2024031839
出願日
2024-03-04
発明の名称
導光部材、光学系及び表示装置
出願人
株式会社リコー
代理人
インフォート弁理士法人
主分類
G02B
27/02 20060101AFI20250909BHJP(光学)
要約
【課題】アイボックスを形成するための光の利用効率を向上させることができる導光部材、光学系及び表示装置を提供する。
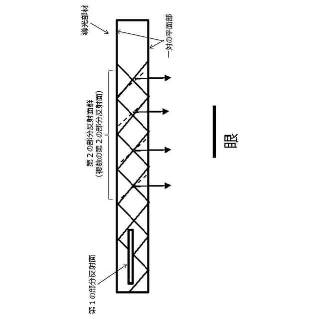
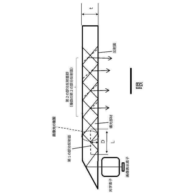
【解決手段】画像を表示する画像表示素子からの画像光を導光する導光部材であって、前記画像光を全反射しながら伝搬する互いに平行な一対の平面部と、前記一対の平面部の間に位置して前記一対の平面部と平行に延びるとともに、前記画像光の一部分を反射して他部分を透過することで前記画像光を複製する第1の部分反射面と、前記一対の平面部の間に位置するとともに、前記第1の部分反射面で複製された前記画像光の一部分を反射することで、前記一対の平面部の一方としての出射面から出射させる第2の部分反射面群と、を有することを特徴とする導光部材。
【選択図】図5
特許請求の範囲
【請求項1】
画像を表示する画像表示素子からの画像光を導光する導光部材であって、
前記画像光を全反射しながら伝搬する互いに平行な一対の平面部と、
前記一対の平面部の間に位置して前記一対の平面部と平行に延びるとともに、前記画像光の一部分を反射して他部分を透過することで前記画像光を複製する第1の部分反射面と、
前記一対の平面部の間に位置するとともに、前記第1の部分反射面で複製された前記画像光の一部分を反射することで、前記一対の平面部の一方としての出射面から出射させる第2の部分反射面群と、
を有することを特徴とする導光部材。
続きを表示(約 1,300 文字)
【請求項2】
次の条件式(1)を満足する、
ことを特徴とする請求項1に記載の導光部材。
(1)0.3<D/t<0.7
但し、
D:前記第1の部分反射面と前記出射面の間の距離、
t:前記導光部材の厚さ。
【請求項3】
次の条件式(2)を満足する、
ことを特徴とする請求項1に記載の導光部材。
(2)3mm<L<20mm
但し、
L:前記第1の部分反射面の伝搬方向の長さ。
【請求項4】
次の条件式(3)を満足する、
ことを特徴とする請求項1に記載の導光部材。
(3)40%<R1<60%
但し、
R1:前記第1の部分反射面の反射率。
【請求項5】
次の条件式(4)を満足する、
ことを特徴とする請求項1に記載の導光部材。
(4)40%<R1s<60%
但し、
R1s:前記第1の部分反射面のS偏光の反射率。
【請求項6】
前記導光部材から前記第1の部分反射面に向けて前記画像光を入射させる入射面を有し、
次の条件式(5)を満足する、
ことを特徴とする請求項1に記載の導光部材。
(5)40°<θ1<80°
但し、
θ1:前記入射面と前記出射面がなす角度。
【請求項7】
前記導光部材に入射した前記画像光を前記第1の部分反射面に向けて反射させる入射側反射面を有し、
次の条件式(6)を満足する、
ことを特徴とする請求項1に記載の導光部材。
(6)25°<θ2<40°
但し、
θ2:前記入射側反射面と前記出射面がなす角度。
【請求項8】
前記導光部材に入射した前記画像光を前記第1の部分反射面に向けて反射させる入射側反射面を有し、
次の条件式(7)、(8)を満足する、
ことを特徴とする請求項1に記載の導光部材。
(7)60%<R0s<100%
(8)0%<R0p<30%
但し、
R0s:前記入射側反射面のS偏光の反射率。
R0p:前記入射側反射面のP偏光の反射率。
【請求項9】
次の条件式(9)を満足する、
ことを特徴とする請求項1に記載の導光部材。
(9)50°<θ3<70°
但し、
θ3:前記第2の部分反射面群と前記出射面がなす角度。
【請求項10】
次の条件式(10)を満足する、
ことを特徴とする請求項1に記載の導光部材。
(10)R2(n-1)≦R2(n)(nは2以上の整数)
但し、
R2(n-1):前記第2の部分反射面群に含まれる、前記第1の部分反射面に近い側からn-1番目の部分反射面の反射率、
R2(n):前記第2の部分反射面群に含まれる、前記第1の部分反射面に近い側からn番目の部分反射面の反射率。
(【請求項11】以降は省略されています)
発明の詳細な説明
【技術分野】
【0001】
本発明は、導光部材、光学系及び表示装置に関する。
続きを表示(約 2,300 文字)
【背景技術】
【0002】
例えば、近年、表示装置としてヘッドマウントディスプレイ(HMD:Head Mounted Display)が多く普及し始めており、小型で眼鏡に近い透過型のHMDが開発されている。また、眼鏡のグラス部の付近に画像表示素子を配置して小型化を図る技術が知られている。さらに、景色等に虚像を重畳して観察者に観察させるスマートグラス等のグラスデバイス、ヘッドマウントディスプレイ(HMD)が知られており、装用者の眼の動きや瞳孔間距離の違いに対応できるタイプも増えてきている。
【0003】
特許文献1には、画像光(light waves)を所定の視野(given field-of-view)に導光するための光デバイス(optical device)が記載されている。この光デバイスは、光透過基板(light-transmitting substrate)の2つの平面(two major surfaces)で画像光の全反射を繰り返しながら、複数の部分反射面(selectively reflecting surfaces)で部分反射することで、装用者の眼に光が届けられる。
【0004】
特許文献2には、光ビーム(light beam)を導くように適合された導光エレメント(light guide element)が記載されている。この導光エレメントは、2つの平面(first surfaceとsecond surface)を有する第1の導光板(first light guide plate)と、第1の導光板の一方の平面の一部の外側に配置された第2の導光板(second light guide plate)とを有している。また、第1、第2の導光板の間(境界)には光分割フィルム(light splitting film)が配置されている。そして、光分割フィルムと第2の導光板で光ビームを繰り返し反射させることで、第1の導光板における光ビームの光束を増やしている(多数に分割している)。
【先行技術文献】
【特許文献】
【0005】
米国特許出願公開第2005/0180687号明細書
米国特許出願公開第2018/0059306号明細書
【発明の概要】
【発明が解決しようとする課題】
【0006】
しかしながら、本発明者の鋭意研究によると、特許文献1の光デバイス及び特許文献2の導光エレメントを含む従来技術は、アイボックスを形成するための光の利用効率を向上させるという観点で、改善の余地がある。
【0007】
本発明は、以上の問題意識に基づいてなされたものであり、アイボックスを形成するための光の利用効率を向上させることができる導光部材、光学系及び表示装置を提供することを目的とする。
【課題を解決するための手段】
【0008】
本発明の導光部材は、画像を表示する画像表示素子からの画像光を導光する導光部材であって、前記画像光を全反射しながら伝搬する互いに平行な一対の平面部と、前記一対の平面部の間に位置して前記一対の平面部と平行に延びるとともに、前記画像光の一部分を反射して他部分を透過することで前記画像光を複製する第1の部分反射面と、前記一対の平面部の間に位置するとともに、前記第1の部分反射面で複製された前記画像光の一部分を反射することで、前記一対の平面部の一方としての出射面から出射させる第2の部分反射面群と、を有することを特徴とする。
【発明の効果】
【0009】
本発明によれば、アイボックスを形成するための光の利用効率を向上させることができる導光部材、光学系及び表示装置を提供することができる。
【図面の簡単な説明】
【0010】
本発明の一実施形態に係るヘッドマウントディスプレイの概略図である。
従来の技術課題の第1の例を示す図である。
従来の技術課題の第2の例を示す図である。
本発明の導光部材の内部における光路を示す概念図である。
本発明の光学系及び表示装置における光路を示す概念図である。
導光部材の一対の平面部及び第2の部分反射面群による画像光の光路の一例を示す図である。
数値実施例1の光学系及び表示装置を示す断面図である。
第1の部分反射面による画像光の複製の様子を示す概念図である。
数値実施例1のアイボックス形成の優位性を示す照度分布図である。
数値実施例2の光学系及び表示装置を示す第1の断面図である。
数値実施例2の光学系及び表示装置を示す第2の断面図である。
数値実施例2のアイボックス形成の優位性を示す照度分布図である。
数値実施例3の光学系及び表示装置を示す第1の断面図である。
数値実施例3の光学系及び表示装置を示す第2の断面図である。
数値実施例3のアイボックス形成の優位性を示す照度分布図である。
数値実施例4の光学系及び表示装置を示す第1の断面図である。
数値実施例4の光学系及び表示装置を示す第2の断面図である。
数値実施例4のアイボックス形成の優位性を示す照度分布図である。
【発明を実施するための形態】
(【0011】以降は省略されています)
この特許をJ-PlatPat(特許庁公式サイト)で参照する
関連特許
株式会社リコー
移動体
今日
株式会社リコー
画像形成装置
9日前
株式会社リコー
画像形成装置
9日前
株式会社リコー
画像形成装置
9日前
株式会社リコー
液体塗布装置
13日前
株式会社リコー
画像形成装置
20日前
株式会社リコー
感熱記録媒体
6日前
株式会社リコー
画像形成装置
5日前
株式会社リコー
印刷システム
9日前
株式会社リコー
画像形成装置
12日前
株式会社リコー
生体情報測定装置
6日前
株式会社リコー
印刷応答補償機構
13日前
株式会社リコー
拡張アンテナ装置
12日前
株式会社リコー
画像投射システム
20日前
株式会社リコー
画像形成システム
5日前
株式会社リコー
マーキングシステム
12日前
株式会社リコー
液体を吐出する装置
6日前
株式会社リコー
電極及びその製造方法
9日前
株式会社リコー
電極及びその製造方法
7日前
株式会社リコー
多孔質構造体の製造方法
9日前
株式会社リコー
定着装置及び画像形成装置
19日前
株式会社リコー
定着装置及び画像形成装置
13日前
株式会社リコー
液吐出装置、及び液吐出方法
13日前
株式会社リコー
ファイル分析・保存システム
9日前
株式会社リコー
センサ素子及びセンサアレイ
19日前
株式会社リコー
塗装システム、及び塗装方法
9日前
株式会社リコー
パルスバルブおよび塗布装置
9日前
株式会社リコー
センサ素子及びセンサアレイ
19日前
株式会社リコー
印刷装置および印刷システム
5日前
株式会社リコー
液体塗布装置および洗浄方法
9日前
株式会社リコー
定着装置、及び、画像形成装置
9日前
株式会社リコー
液体吐出装置及び液体吐出方法
5日前
株式会社リコー
後処理装置および画像形成装置
9日前
株式会社リコー
定着装置、及び、画像形成装置
9日前
株式会社リコー
ベルト装置、及び、画像形成装置
5日前
株式会社リコー
液体吐出装置、及び液体吐出方法
9日前
続きを見る
他の特許を見る