TOP
|
特許
|
意匠
|
商標
特許ウォッチ
Twitter
他の特許を見る
公開番号
2025145620
公報種別
公開特許公報(A)
公開日
2025-10-03
出願番号
2024045902
出願日
2024-03-22
発明の名称
画像形成装置、画像検査方法、および画像検査システム
出願人
株式会社リコー
代理人
弁理士法人酒井国際特許事務所
主分類
H04N
1/04 20060101AFI20250926BHJP(電気通信技術)
要約
【課題】ユーザが読取センサの清掃を実施した場合に、より確実な清掃を実施することができる、画像形成装置、画像検査方法、および画像検査システムを提供する。
【解決手段】本発明は、印刷装置で印刷した印刷物を読み取り、被検査画像を取得する被検査画像取得部と、前記被検査画像の比較対象となる正解画像と、前記被検査画像と、に基づいて、前記印刷物の状態の良否を判定する欠陥判定部と、前記印刷物の状態に不良があると判定された場合、前記被検査画像に基づいて前記被検査画像取得部に起因する欠陥か否かを判定する読取センサ不良判定部と、前記被検査画像取得部に起因する欠陥の位置情報を算出する位置算出部と、前記位置算出部により算出した前記位置情報を被検査画像と併せて表示する表示制御部と、を備える。
【選択図】図3
特許請求の範囲
【請求項1】
印刷装置で印刷した印刷物を読み取り、被検査画像を取得する被検査画像取得部と、
前記被検査画像の比較対象となる正解画像と、前記被検査画像と、に基づいて、前記印刷物の状態の良否を判定する欠陥判定部と、
前記印刷物の状態に不良があると判定された場合、前記被検査画像に基づいて前記被検査画像取得部に起因する欠陥か否かを判定する読取センサ不良判定部と、
前記被検査画像取得部に起因する欠陥の位置情報を算出する位置算出部と、
前記位置算出部により算出した前記位置情報を被検査画像と併せて表示する表示制御部と、
を備える、画像形成装置。
続きを表示(約 1,000 文字)
【請求項2】
前記表示制御部は、前記被検査画像取得部の清掃位置を特定するための目盛りが記載された読取部を表示する、請求項1に記載の画像形成装置。
【請求項3】
前記表示制御部は、前記位置情報と前記目盛りを、前記被検査画像取得部の清掃位置として表示する、請求項2に記載の画像形成装置。
【請求項4】
前記被検査画像取得部の清掃が実施された場合、前記被検査画像取得部の汚れが正常に清掃できたことを通知する清掃通知部を備える、請求項1から3のいずれか一に記載の画像形成装置。
【請求項5】
前記被検査画像取得部に起因する欠陥の前記位置情報を記憶する記憶部と、
前記記憶部で記憶された前記位置情報に基づいて、当該欠陥が、同じ位置で発生しているか否かを判定する判定部と、
前記被検査画像取得部の同じ位置で欠陥が発生していると判定した場合に、ユーザに通知する通知部と、
を備える請求項1から3のいずれか一に記載の画像形成装置。
【請求項6】
印刷装置で印刷した印刷物を読み取り、被検査画像を取得する被検査画像取得部を備える画像形成装置で実行される画像検査方法であって、
前記被検査画像の比較対象となる正解画像と、前記被検査画像と、に基づいて、前記印刷物の状態の良否を判定するステップと、
前記印刷物の状態に不良があると判定された場合、前記被検査画像に基づいて前記被検査画像取得部に起因する欠陥か否かを判定するステップと、
前記被検査画像取得部に起因する欠陥の位置情報を算出するステップと、
算出した前記位置情報を被検査画像と併せて表示するステップと、
を含む、画像検査方法。
【請求項7】
印刷装置で印刷した印刷物を読み取り、被検査画像を取得する被検査画像取得部と、
前記被検査画像の比較対象となる正解画像と、前記被検査画像と、に基づいて、前記印刷物の状態の良否を判定する欠陥判定部と、
前記印刷物の状態に不良があると判定された場合、前記被検査画像に基づいて前記被検査画像取得部に起因する欠陥か否かを判定する読取センサ不良判定部と、
前記被検査画像取得部に起因する欠陥の位置情報を算出する位置算出部と、
前記位置算出部により算出した前記位置情報を被検査画像と併せて表示する表示制御部と、
を備える、画像検査システム。
発明の詳細な説明
【技術分野】
【0001】
本発明は、画像形成装置、画像検査方法、および画像検査システムに関する。
続きを表示(約 1,700 文字)
【背景技術】
【0002】
近年、印刷装置により印刷された用紙を搬送中に検査装置によって検査することにより、印刷済の用紙の良否を判別できる印刷システムが開発されている。用紙の良否を検査する検査装置による検査は、搬送された用紙の画像を読み取り、その読み取った画像から印刷された用紙が正常であるか否かを判定する。
【0003】
画像の読取処理では、読取対象の用紙が十分な品位で印刷されていることに加え、その用紙が読取センサで正しく読み取られている必要がある。特に、用紙の紙粉といったゴミが検査装置の読取センサに付着することで、読み取って得られた画像データにスジ状の誤ったデータが含まれる等が考えられる。このようなデータを検査対象画像として用いた場合、印刷済の用紙が十分な品位であっても、その読取画像は不良があるものと誤判定される可能性がある。
【0004】
この問題に対応するため、読取センサに起因する不良を検知し、ユーザに適切な対処を促す技術がある。例えば、特許文献1には、画像検査において、読取センサのゴミに起因する欠陥の検知が発生した場合に、ユーザに対処を促す目的で、読取センサの不良が検知された時に、ユーザに対して表示部に検品結果がNG、かつその原因が読取センサの起因の不良であることを表示する構成が開示されている。
【発明の概要】
【発明が解決しようとする課題】
【0005】
しかしながら、上記の技術では、読取センサに起因する不良を検知時、ユーザに読取センサの清掃を促すものの、具体的な清掃箇所が分からず、清掃を実施しても解消できない場合がある。
【0006】
本発明は、上記に鑑みてなされたものであって、ユーザが読取センサの清掃を実施した場合に、より確実な清掃を実施することができる、画像形成装置、画像検査方法、および画像検査システムを提供することを目的とする。
【課題を解決するための手段】
【0007】
上述した課題を解決し、目的を達成するために、本発明は、印刷装置で印刷した印刷物を読み取り、被検査画像を取得する被検査画像取得部と、前記被検査画像の比較対象となる正解画像と、前記被検査画像と、に基づいて、前記印刷物の状態の良否を判定する欠陥判定部と、前記印刷物の状態に不良があると判定された場合、前記被検査画像に基づいて前記被検査画像取得部に起因する欠陥か否かを判定する読取センサ不良判定部と、前記被検査画像取得部に起因する欠陥の位置情報を算出する位置算出部と、前記位置算出部により算出した前記位置情報を被検査画像と併せて表示する表示制御部と、を備える。
【発明の効果】
【0008】
本発明によれば、ユーザが読取センサの清掃を実施した場合に、より確実な清掃を実施することができる、という効果を奏する。
【図面の簡単な説明】
【0009】
図1は、本実施の形態にかかる画像形成装置の構成の一例を示す図である。
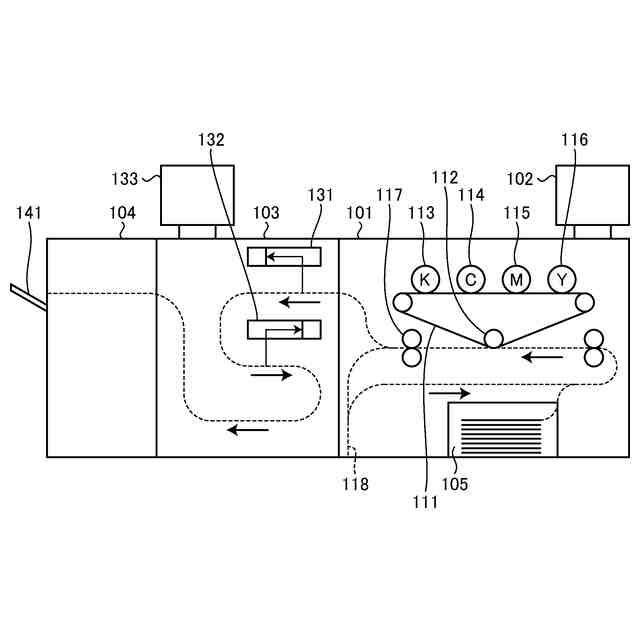
図2は、本実施の形態にかかるプリンタの構成の一例を説明するための図である。
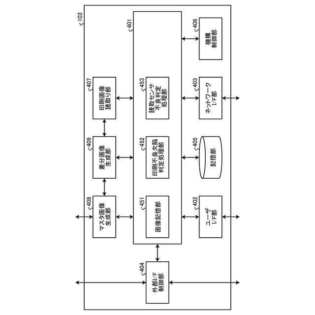
図3は、本実施の形態にかかる検査装置の構成の一例を説明するための図である。
図4は、本実施の形態にかかる検査装置において画像検査を行う際に実行される処理および読取センサ不良発生時の処理の流れの一例を示すフローチャートである。
図5は、図4のステップS506の具体的な処理の流れの一例を示すフローチャートである。
図6は、図5のステップS601の具体的な処理の流れの一例を示すフローチャートである。
図7は、図4のステップS506におけるユーザに通知するための表示画面の一例を説明するための図である。
【発明を実施するための形態】
【0010】
以下に添付図面を参照して、画像形成装置、画像検査方法、および画像検査システムの実施の形態を詳細に説明する。
(【0011】以降は省略されています)
この特許をJ-PlatPat(特許庁公式サイト)で参照する
関連特許
株式会社リコー
移動体
6日前
株式会社リコー
画像形成装置
18日前
株式会社リコー
画像形成装置
15日前
株式会社リコー
印刷システム
15日前
株式会社リコー
画像形成装置
15日前
株式会社リコー
画像形成装置
11日前
株式会社リコー
感熱記録媒体
12日前
株式会社リコー
画像形成装置
15日前
株式会社リコー
拡張アンテナ装置
18日前
株式会社リコー
生体情報測定装置
12日前
株式会社リコー
画像形成システム
11日前
株式会社リコー
マーキングシステム
18日前
株式会社リコー
液体を吐出する装置
12日前
株式会社リコー
電極及びその製造方法
13日前
株式会社リコー
電極及びその製造方法
15日前
株式会社リコー
多孔質構造体の製造方法
15日前
株式会社リコー
印刷装置および印刷システム
11日前
株式会社リコー
塗装システム、及び塗装方法
15日前
株式会社リコー
パルスバルブおよび塗布装置
15日前
株式会社リコー
液体塗布装置および洗浄方法
15日前
株式会社リコー
ファイル分析・保存システム
15日前
株式会社リコー
定着装置、及び、画像形成装置
15日前
株式会社リコー
定着装置、及び、画像形成装置
15日前
株式会社リコー
後処理装置および画像形成装置
15日前
株式会社リコー
液体吐出装置及び液体吐出方法
11日前
株式会社リコー
システム、方法およびプログラム
11日前
株式会社リコー
ベルト装置、及び、画像形成装置
11日前
株式会社リコー
パーソナライズビデオメカニズム
13日前
株式会社リコー
液体吐出装置、及び液体吐出方法
15日前
株式会社リコー
レーザ照射装置、レーザ照射方法
15日前
株式会社リコー
媒体処理装置及び画像形成システム
11日前
株式会社リコー
mRNA発現量の免疫学的評価方法
12日前
株式会社リコー
媒体処理装置及び画像形成システム
11日前
株式会社リコー
見積書作成装置、方法、プログラム
15日前
株式会社リコー
媒体処理装置及び画像形成システム
13日前
株式会社リコー
媒体処理装置及び画像形成システム
12日前
続きを見る
他の特許を見る