TOP
|
特許
|
意匠
|
商標
特許ウォッチ
Twitter
他の特許を見る
10個以上の画像は省略されています。
公開番号
2025167751
公報種別
公開特許公報(A)
公開日
2025-11-07
出願番号
2024072629
出願日
2024-04-26
発明の名称
シート処理装置、シート処理方法及び画像形成システム
出願人
株式会社リコー
代理人
弁理士法人武和国際特許事務所
主分類
B65H
37/04 20060101AFI20251030BHJP(運搬;包装;貯蔵;薄板状または線条材料の取扱い)
要約
【課題】ページめくり操作によって圧着綴じが剥がれることなく、見開き操作がしやすい圧着中綴じ冊子を形成できるシート処理装置を提供する。
【解決手段】複数のシート材からなるシート束に中折り処理を行う中折り手段と、中折り処理が施されたシート束に圧着綴じを施す圧着綴じ手段と、を備え、圧着綴じ手段は、中折り処理が施されたシート束に背部を形成する背部形成処理部と、当該中折り処理が施されたシート束に対し圧着綴じ処理を実行する圧着綴じ処理部と、を有し、背部形成処理部は、シート束の押し出し面において、板厚み方向の両端部に突出部を備える折り板部材と、当該折り板部材とシート束を介して係合する折り板係合部材と、を備える、シート処理装置による。
【選択図】図6
特許請求の範囲
【請求項1】
複数のシート材からなるシート束に中折り処理を行う中折り手段と、
前記中折り処理が施された前記シート束に圧着綴じを施す圧着綴じ手段と、
を備え、
前記圧着綴じ手段は、
前記中折り処理が施された前記シート束に背部を形成する背部形成処理部と、
当該中折り処理が施された前記シート束に対し前記圧着綴じ処理を実行する圧着綴じ処理部と、
を有し、
前記背部形成処理部は、
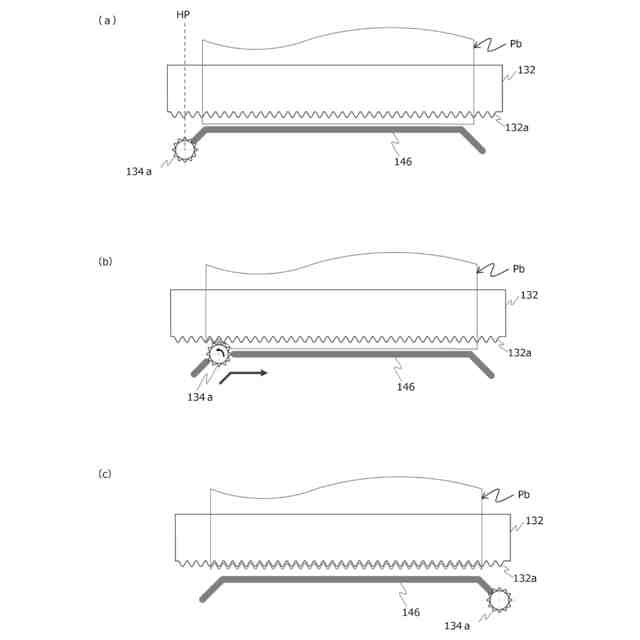
前記シート束の押し出し面において、板厚み方向の両端部に突出部を備える折り板部材と、
当該折り板部材と前記シート束を介して係合する折り板係合部材と、
を備える、
ことを特徴とするシート処理装置。
続きを表示(約 1,000 文字)
【請求項2】
前記中折り手段は、
前記折り板部材と、
前記折り板部材に案内されて所定の方向に押し出された前記シート束を挟持しながら当該方向に進行させる折りローラ対部材と、
を備える、
請求項1に記載のシート処理装置。
【請求項3】
前記折り板係合部材は、前記折り板部材に向けて付勢されており、
前記背部を前記折り板部材と挟んで押圧する、
請求項1に記載のシート処理装置。
【請求項4】
前記折り板係合部材は、軸支されたコロ形状部材であり、
前記背部の長手方向に対し往復移動をして前記シート束に背部を形成する背部形成処理及び前記圧着綴じ処理を行う、
請求項1に記載のシート処理装置。
【請求項5】
前記折り板部材は、前記折り板係合部材との対向面に凹凸形状の折り板圧着歯を有し、
前記折り板係合部材は、前記折り板圧着歯に係合する凹凸形状の係合圧着歯を有する、
請求項1に記載のシート処理装置。
【請求項6】
前記折り板係合部材は、前記背部の長手方向に対する移動により前記シート束に背部を形成する背部形成処理と前記圧着綴じ処理を同時に行う、
請求項1に記載のシート処理装置。
【請求項7】
前記折り板部材は、前記折り板係合部材に対する対向面において、複数の離間した凹凸形状の折り板圧着歯群を有し、
前記折り板係合部材は、前記折り板圧着歯群に係合する複数の離間した凹凸形状の係合圧着歯群を有し、
前記折り板部材を前記折り板係合部材に向けてさせることにより前記圧着綴じ処理を実行する、
請求項1に記載のシート処理装置。
【請求項8】
前記折り板係合部材は、前記折り板部材に対向する板状のブレード部材であり、前記折り板部材に向けて当該ブレード部材を移動させて前記圧着綴じ処理を実行する、
請求項1に記載のシート処理装置。
【請求項9】
前記圧着綴じ処理部は、
凹凸歯を備える第1コロ部材と、
前記シート束を介して前記第1コロ部材と係合する第2コロ部材と、
により構成される、
請求項1に記載のシート処理装置。
【請求項10】
前記折り板部材の突出部は、前記折り板係合部材の対向面にまたがって係合する、
請求項1に記載のシート処理装置。
(【請求項11】以降は省略されています)
発明の詳細な説明
【技術分野】
【0001】
本発明は、シート処理装置、シート処理方法及び画像形成システムに関する。
続きを表示(約 1,400 文字)
【背景技術】
【0002】
シート状の記録媒体を束ねたシート束を綴る「綴じ処理」を実行可能なシート処理装置が知られている。シート処理装置において実行される綴じ処理の種類は、複数のものが知られている。例えば、シート束の端部を綴る「端綴じ処理」や、シート束を二つ折りにして、折り位置の近傍を綴じる「中綴じ処理」などが知られている。中綴じ処理は、主に冊子などの本を作成するときに活用される綴じ方である。
【0003】
小口断裁を行わなくとも小口が揃った中綴じ冊子を提供する目的で、中折り位置から離れた両側の位置を圧着綴じした後、冊子に角背を形成する角背折りを施す中綴じ製本装置が開示されている(例えば、特許文献1を参照)。
【0004】
また、圧着中綴じ装置を提供する目的で、折り位置から離れた位置を圧着綴じする中綴じ製本装置が開示されている(例えば、特許文献2を参照)。
【0005】
また、冊子の背の部分を角背折りにする針中綴じ装置であって、ステープル針を背の中央からずれにくくして見栄えのよい冊子を提供する目的で、ストッパープレートに針が係合するための溝を備えた針中綴じ製本装置が開示されている(例えば、特許文献3を参照)。
【0006】
また、針を使わない綴じ冊子を提供する目的で、冊子中央部を圧着綴じした後に中折り処理を行う圧着中綴じ製本装置が開示されている(例えば、特許文献4を参照)。
【発明の概要】
【発明が解決しようとする課題】
【0007】
特許文献1乃至4には、圧着中綴じ処理や、冊子背の角背折り処理を行う従来技術が開示されている。しかし、これら従来技術を利用して中綴じ冊子を形成した場合、ページをめくるときに、見開き部分に違和感を与える状態になったり、ページのめくり操作によって圧着部分にかかる負荷によって圧着部分がはがれてしまったりするなどの課題がある。すなわち、従来技術では、中綴じ処理に圧着綴じ処理を利用した場合の完成物(冊子)の品質や綴じ強度に課題がある。
【0008】
本発明は、ページめくり操作によって圧着綴じが剥がれることなく、見開き操作がしやすい圧着中綴じ冊子を形成できるシート処理装置を提供することを目的とする。
【課題を解決するための手段】
【0009】
上記課題を解決するために、本発明の一態様は、複数のシート材からなるシート束に中折り処理を行う中折り手段と、前記中折り処理が施された前記シート束に圧着綴じを施す圧着綴じ手段と、
を備え、前記圧着綴じ手段は、前記中折り処理が施された前記シート束に背部を形成する背部形成処理部と、当該中折り処理が施された前記シート束に対し前記圧着綴じ処理を実行する圧着綴じ処理部と、を有し、前記背部形成処理部は、前記シート束の押し出し面において、板厚み方向の両端部に突出部を備える折り板部材と、当該折り板部材と前記シート束を介して係合する折り板係合部材と、を備える、ことを特徴とする。
【発明の効果】
【0010】
本発明によれば、ページめくり操作によって圧着綴じが剥がれることなく、見開き操作がしやすい圧着中綴じ冊子を形成できる。
【図面の簡単な説明】
(【0011】以降は省略されています)
この特許をJ-PlatPat(特許庁公式サイト)で参照する
関連特許
株式会社リコー
服薬支援装置
15日前
株式会社リコー
画像形成装置
1か月前
株式会社リコー
画像形成装置
15日前
株式会社リコー
外観検査装置
9日前
株式会社リコー
画像形成装置
24日前
株式会社リコー
画像形成装置
1か月前
株式会社リコー
画像形成装置
1か月前
株式会社リコー
画像形成装置
1か月前
株式会社リコー
液体吐出装置
1日前
株式会社リコー
機器及び異常判定方法
1か月前
株式会社リコー
画像形成装置及びシステム
1か月前
株式会社リコー
画像形成装置、及び、機器
23日前
株式会社リコー
定着装置及び画像形成装置
1日前
株式会社リコー
定着装置、及び画像形成装置
1か月前
株式会社リコー
延長トレイ及び画像形成装置
1か月前
株式会社リコー
光走査装置及び画像形成装置
22日前
株式会社リコー
画像読取装置及び画像読取方法
1か月前
株式会社リコー
シート供給装置、画像形成装置
22日前
株式会社リコー
画像形成装置及び異常判定方法
15日前
株式会社リコー
画像形成装置、及び画像形成方法
9日前
株式会社リコー
画像形成装置および画像形成方法
15日前
株式会社リコー
表示装置、切替方法、プログラム
1か月前
株式会社リコー
樹脂粒子、及び樹脂粒子の製造方法
1か月前
株式会社リコー
加熱搬送装置、及び、画像形成装置
23日前
株式会社リコー
媒体処理装置及び画像形成システム
1か月前
株式会社リコー
加熱装置、定着装置、画像形成装置
25日前
株式会社リコー
シート給送装置及び画像形成システム
1か月前
株式会社リコー
加熱装置、定着装置及び画像形成装置
1か月前
株式会社リコー
加熱装置、定着装置及び画像形成装置
9日前
株式会社リコー
通信端末、通信方法、及びプログラム
1か月前
株式会社リコー
通信装置、通信方法、及びプログラム
1か月前
株式会社リコー
後処理装置、及び、画像形成システム
2日前
株式会社リコー
読取装置、読取方法およびプログラム
1か月前
株式会社リコー
外観検査方法、および外観検査システム
1日前
株式会社リコー
光源装置、画像投影装置および調整方法
1か月前
株式会社リコー
樹脂粒子、トナー、及び、画像形成装置
22日前
続きを見る
他の特許を見る