TOP
|
特許
|
意匠
|
商標
特許ウォッチ
Twitter
他の特許を見る
公開番号
2025171960
公報種別
公開特許公報(A)
公開日
2025-11-20
出願番号
2025041669
出願日
2025-03-14
発明の名称
筆記装置、表示装置、および、コミュニケーションシステム
出願人
株式会社リコー
代理人
個人
主分類
G06F
3/03 20060101AFI20251113BHJP(計算;計数)
要約
【課題】本発明では、筆記音を抑制できる筆記装置を実現することを課題とする。
【解決手段】当接部材11を有するとともに、進退方向に移動可能に設けられ、当接部材11が電子黒板50に当接することで後退する可動部10と、可動部10を保持する可動部保持体13と、進退方向において、可動部10の当接部材11側と反対側に設けられる弾性部20と、を有するペン型入力装置1であって、弾性部20は、第1弾性体14と、第2弾性体15とを含み、可動部10の後退により弾性変形して進退方向の厚みが小さくなり、可動部10に対して第1弾性体14、第2弾性体15の順に互いに隣接して設けられ、第1弾性体14は、第2弾性体15よりも硬度が低い弾性体であることを特徴とする。
【選択図】図3
特許請求の範囲
【請求項1】
当接部を有するとともに、進退方向に移動可能に設けられ、前記当接部が被当接部に当接することで後退する可動部と、
前記可動部を保持する保持部と、
前記進退方向において、前記可動部の前記当接部側と反対側に設けられる弾性部と、を有する筆記装置であって、
前記弾性部は、第1弾性体と、第2弾性体とを含み、前記可動部の後退により弾性変形して前記進退方向の厚みが小さくなり、
前記可動部に対して、前記第1弾性体、前記第2弾性体の順に互いに隣接して設けられ、
前記第1弾性体は、前記第2弾性体よりも硬度が低い弾性体であることを特徴とする筆記装置。
続きを表示(約 1,100 文字)
【請求項2】
前記第1弾性体は前記第2弾性体よりも前記進退方向の厚みが薄い請求項1記載の筆記装置。
【請求項3】
前記第1弾性体はスポンジであって、前記進退方向の厚みが0.5~1.0mm、スポンジ硬度10~20であり、前記第2弾性体はゴムであって、前記進退方向の厚みが1.5~2.5mm、ゴム硬度は50~60である請求項2記載の筆記装置。
【請求項4】
前記第1弾性体はゴムであって、前記進退方向の厚みが0.5~1.0mm、ゴム硬度5~15であり、前記第2弾性体はゴムであって、前記進退方向の厚みが1.5~2.5mm、ゴム硬度は50~60である請求項2記載の筆記装置。
【請求項5】
当接部を有するとともに、進退方向に移動可能に設けられ、前記当接部が被当接部に当接することで後退する可動部と、
前記可動部を保持する保持部と、
前記進退方向において、前記可動部の前記当接部側と反対側に設けられる弾性部と、を有する筆記装置であって、
前記弾性部は、第1弾性体と、第2弾性体と、一又は複数の他の弾性体とを含み、前記可動部の後退により弾性変形して前記進退方向の厚みが小さくなり、
前記可動部に対して、前記第1弾性体、一又は複数の前記他の弾性体、前記第2弾性体の順に互いに隣接して設けられ、この順でその硬度が高くなっていくことを特徴とする筆記装置。
【請求項6】
前記可動部が前記進退方向の後退方向へ移動することにより押下される押下部を備え、
前記押下部の押下により信号を出力する請求項1記載の筆記装置。
【請求項7】
請求項1から6いずれか1項に記載の筆記装置と、
前記被当接部としての表示部と、を備えた表示装置であって、
前記表示部は、前記当接部の前記表示部に対する当接位置を検知し、所定の表示を行う表示装置。
【請求項8】
請求項1から6いずれか1項に記載の筆記装置、および、前記被当接部としての表示部を有する、一又は複数の表示装置と、
所定の表示を行う複数の端末と、
サーバと、を備え、
前記表示装置と、複数の前記端末と、前記サーバとが通信可能に接続され、
前記表示装置は、前記当接部の前記表示部に対する当接位置を検知し、所定の表示を行い、
前記端末は、前記筆記装置による前記表示装置の前記表示部への筆記内容を表示するコミュニケーションシステム。
【請求項9】
前記端末は、前記筆記装置の前記端末に対する筆記内容を表示する請求項8記載のコミュニケーションシステム。
発明の詳細な説明
【技術分野】
【0001】
本発明は、筆記装置、表示装置、および、コミュニケーションシステムに関する。
続きを表示(約 1,700 文字)
【背景技術】
【0002】
近年、表示装置として、筆記装置(以下、ペン型入力装置という)により書き込みを可能とする電子黒板を備えたものが存在する。このような電子黒板では、ペン型入力装置の当接部を電子黒板の表示面に当接させると、電子黒板が表示面上の当接位置を検知し、その位置を塗りつぶすことでペン型入力装置による表示面への書き込みを実現する。
【0003】
例えば特許文献1(特許第6127548号公報)のペン型入力装置は、軸方向に進退可能に設けられるペン先可動部と、ペン先可動部の後退移動により押圧される可動切片と、可動切片により押圧されるスイッチと、可動切片をオフの位置に戻すバネ部材などを備える。操作者がペン先可動部を表示部に当接させることにより、ペン先可動部が後退して可動切片を押圧し、スイッチをオンにする。これにより、電子黒板の装置本体側に無線信号が送信され、表示部のペン先可動部に押圧された位置に書き込みが行われる。
【発明の概要】
【発明が解決しようとする課題】
【0004】
このようなペン型入力装置では、当接部を表示部に当接させた際の筆記音(当接音)が大きいという問題がある。これに対して、当接部が表示部に当接した際に、柔らかい緩衝材を設けることで筆記音を抑制することができる。しかし、柔らかい緩衝材の場合には、筆記音を抑制するためにその厚みを大きく設ける必要があり、当接部の進退方向のストロークが大きくなってペン型入力装置の筆記性が悪化するという課題がある。またこれとは逆に硬い緩衝材を用いると、筆記性は良好になるが当接音を十分に抑制できないという問題がある。また、筆記音を抑制するために、ペン型入力装置の先端に柔らかい緩衝材を被せるという対応方法も存在するが、先端の材質が変わるなどして筆記した際の感触が変わってしまうという問題が存在する。
【0005】
本発明では、筆記音を抑制できるペン型入力装置を実現することを課題とする。
【課題を解決するための手段】
【0006】
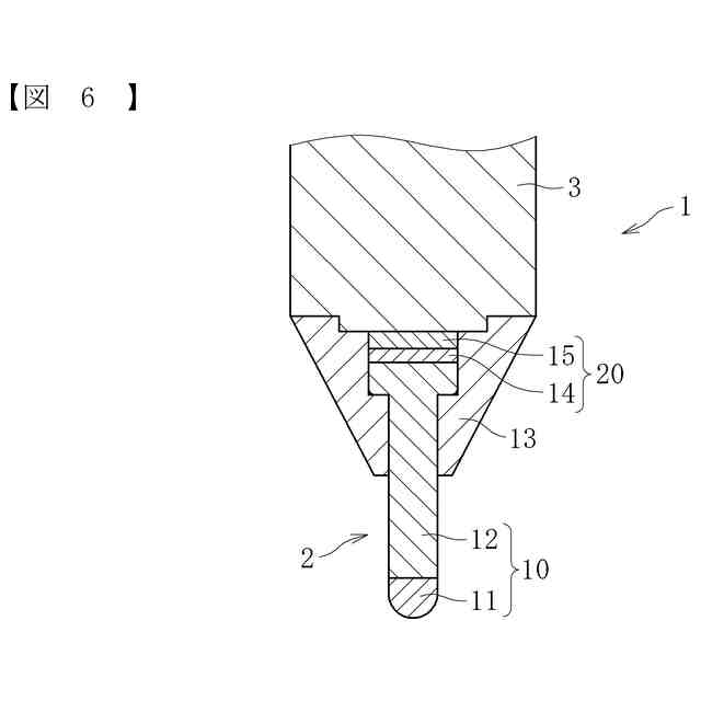
上記の課題を解決するため、本発明は、当接部を有するとともに、進退方向に移動可能に設けられ、前記当接部が被当接部に当接することで後退する可動部と、前記可動部を保持する保持部と、前記進退方向において、前記可動部の前記当接部側と反対側に設けられる弾性部と、を有する筆記装置であって、前記弾性部は、第1弾性体と、第2弾性体とを含み、前記可動部の後退により弾性変形して前記進退方向の厚みが小さくなり、前記可動部に対して前記第1弾性体、前記第2弾性体の順に互いに隣接して設けられ、前記第1弾性体は、前記第2弾性体よりも硬度が低い弾性体であることを特徴とする。
【発明の効果】
【0007】
本発明では、筆記音を抑制できる。
【図面の簡単な説明】
【0008】
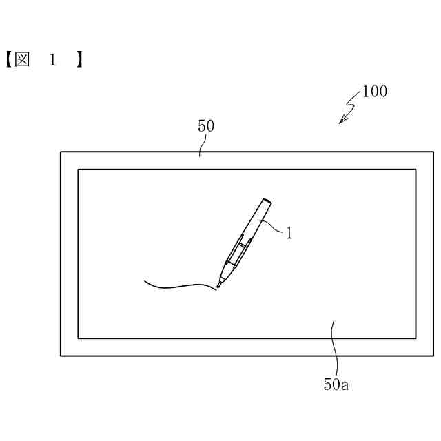
本発明の一実施形態に係るペン型入力装置を備えた表示装置を示す概略構成図である。
上記表示装置の機能ブロック図である。
ペン型入力装置のペン先の側を示す断面図である。
図3のペン型入力装置において、スイッチを押下した状態を示す断面図である。
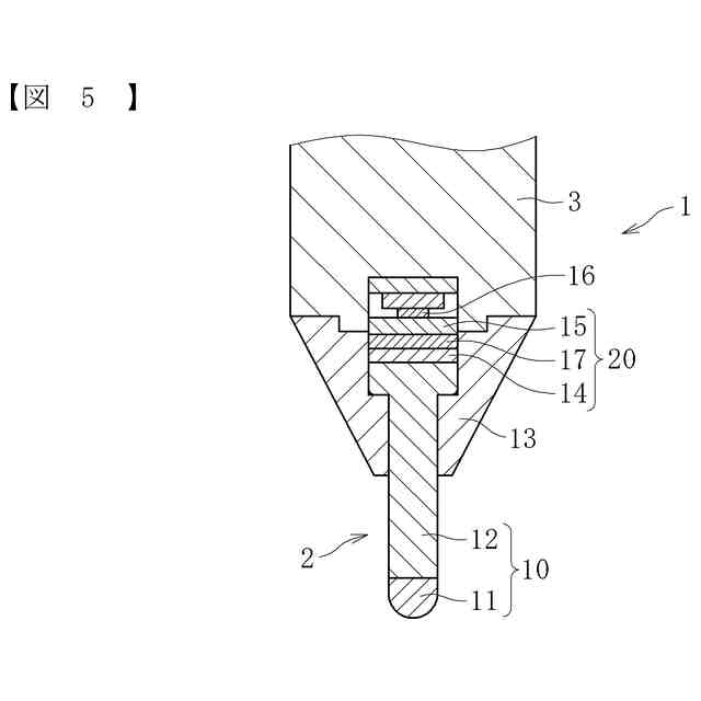
第2の実施形態のペン型入力装置を示す断面図である。
第3の実施形態のペン型入力装置を示す断面図である。
第4の実施形態のペン型入力装置を示す断面図である。
ペン型入力装置を適用する教育システムを示す概略図である。
【発明を実施するための形態】
【0009】
以下、本発明に係る実施の形態について、図面を参照して説明する。なお、各図中、同一又は相当する部分には同一の符号を付しており、その重複説明は適宜に簡略化ないし省略する。
【0010】
[第1の実施形態のペン型入力装置]
図1は、本発明の一実施形態に係るペン型入力装置を備えた表示装置を示す概略構成図である。図2は表示装置の機能ブロック図である。
(【0011】以降は省略されています)
この特許をJ-PlatPat(特許庁公式サイト)で参照する
関連特許
株式会社リコー
画像形成装置
1か月前
株式会社リコー
服薬支援装置
7日前
株式会社リコー
外観検査装置
1日前
株式会社リコー
画像形成装置
25日前
株式会社リコー
画像形成装置
22日前
株式会社リコー
画像形成装置
22日前
株式会社リコー
画像形成装置
16日前
株式会社リコー
画像形成装置
7日前
株式会社リコー
機器及び異常判定方法
1か月前
株式会社リコー
画像形成装置及びシステム
28日前
株式会社リコー
画像形成装置、及び、機器
15日前
株式会社リコー
定着装置、及び画像形成装置
1か月前
株式会社リコー
延長トレイ及び画像形成装置
25日前
株式会社リコー
光走査装置及び画像形成装置
14日前
株式会社リコー
画像読取装置及び画像読取方法
24日前
株式会社リコー
画像形成装置及び異常判定方法
7日前
株式会社リコー
シート供給装置、画像形成装置
14日前
株式会社リコー
画像形成装置、及び画像形成方法
1日前
株式会社リコー
表示装置、切替方法、プログラム
1か月前
株式会社リコー
画像形成装置および画像形成方法
7日前
株式会社リコー
媒体処理装置及び画像形成システム
25日前
株式会社リコー
樹脂粒子、及び樹脂粒子の製造方法
22日前
株式会社リコー
加熱搬送装置、及び、画像形成装置
15日前
株式会社リコー
加熱装置、定着装置、画像形成装置
17日前
株式会社リコー
通信端末、通信方法、及びプログラム
28日前
株式会社リコー
加熱装置、定着装置及び画像形成装置
29日前
株式会社リコー
読取装置、読取方法およびプログラム
25日前
株式会社リコー
加熱装置、定着装置及び画像形成装置
1日前
株式会社リコー
シート給送装置及び画像形成システム
1か月前
株式会社リコー
通信装置、通信方法、及びプログラム
28日前
株式会社リコー
光源装置、画像投影装置および調整方法
1か月前
株式会社リコー
樹脂粒子、トナー、及び、画像形成装置
14日前
株式会社リコー
通信装置、状態制御方法、及びプログラム
1か月前
株式会社リコー
画像形成装置、情報処理方法及びプログラム
28日前
株式会社リコー
画像形成装置、及び、プロセスカートリッジ
1か月前
株式会社リコー
情報処理装置、情報処理方法およびプログラム
14日前
続きを見る
他の特許を見る