TOP
|
特許
|
意匠
|
商標
特許ウォッチ
Twitter
他の特許を見る
10個以上の画像は省略されています。
公開番号
2025179464
公報種別
公開特許公報(A)
公開日
2025-12-10
出願番号
2024086225
出願日
2024-05-28
発明の名称
レイアウト計画システム
出願人
コクヨ株式会社
代理人
個人
主分類
G06F
30/20 20200101AFI20251203BHJP(計算;計数)
要約
【課題】什器及び通信アンテナをフロア内に配設する際のレイアウトの基本計画の構築、可視化を簡便化する。
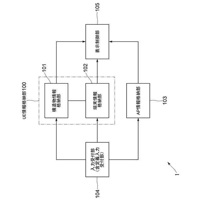
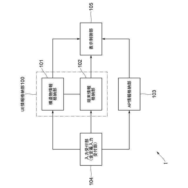
【解決手段】什器の位置と各什器の特性に関するデータとを含む構造物情報、及び通信端末の各々の位置に関するデータを含む端末情報の組を格納するUE情報格納部100と、アンテナの位置と各アンテナの特性に関するデータとを含むアンテナ情報の組を格納するAP情報格納部103と、それらを基にシミュレートされる結果である、通信端末がどのアンテナと通信接続可能であるかまたは通信端末とアンテナとの間で実現可能な通信速度を可視化してディスプレイに画面表示させる表示制御部105とを具備するシステム1を構成した。本システム1は、UE情報格納部100に格納している一の構造物情報及び端末情報の組と、AP情報格納部103に格納している一のアンテナ情報の組とを用いてシミュレートされる前記結果を表示させることができる。
【選択図】図3
特許請求の範囲
【請求項1】
複数の什器を配置したフロア内での無線通信の状態を仮想的に表示するものであって、
フロア内に配置される一ないし複数の什器の位置と各什器の特性に関するデータとを含む構造物情報、及びフロア内に所在する一ないし複数の通信端末の各々の位置に関するデータを含む端末情報の組を格納するUE情報格納部と、
前記通信端末と無線通信を行うためにフロア内に配置される一ないし複数のアンテナの位置と各アンテナの特性に関するデータとを含むアンテナ情報の組を格納するAP情報格納部と、
前記構造物情報及び前記端末情報の組並びに前記アンテナ情報の組を基にシミュレートされる結果である、フロア内において通信端末がどのアンテナと通信接続可能であるか、または通信端末とアンテナとの間で実現可能な通信速度を可視化してユーザに提示するべくディスプレイに画面表示させる表示制御部と
を具備し、
前記AP情報格納部は、フロア内に前記アンテナが配置される位置が互いに異なる複数のパターン毎の複数のアンテナ情報の組を格納でき、
前記表示制御部は、前記UE情報格納部に格納している一の前記構造物情報及び前記端末情報の組と、前記AP情報格納部に格納している、フロア内の前記アンテナの配置の一のパターンに係るアンテナ情報の組とを用いてシミュレートされる前記結果をディスプレイに画面表示させることができ、かつ、前記UE情報格納部に格納している前記一の前記構造物情報及び前記端末情報の組と、前記AP情報格納部に格納している、フロア内の前記アンテナの配置の他のパターンに係るアンテナ情報の組とを用いてシミュレートされる前記結果をディスプレイに画面表示させることができる、レイアウト計画システム。
続きを表示(約 4,600 文字)
【請求項2】
複数の什器を配置したフロア内での無線通信の状態を仮想的に表示するものであって、
フロア内に配置される一ないし複数の什器の位置と各什器の特性に関するデータとを含む構造物情報、及びフロア内に所在する一ないし複数の通信端末の各々の位置に関するデータを含む端末情報の組を格納するUE情報格納部と、
前記通信端末と無線通信を行うためにフロア内に配置される一ないし複数のアンテナの位置と各アンテナの特性に関するデータとを含むアンテナ情報の組を格納するAP情報格納部と、
前記構造物情報及び前記端末情報の組並びに前記アンテナ情報の組を基にシミュレートされる結果である、フロア内において通信端末がどのアンテナと通信接続可能であるか、または通信端末とアンテナとの間で実現可能な通信速度を可視化してユーザに提示するべくディスプレイに画面表示させる表示制御部と
を具備し、
前記UE情報格納部は、フロア内に前記什器が配置される位置が互いに異なる複数のパターン毎の複数の構造物情報の組を格納でき、または、フロア内に所在する前記通信端末の位置が互いに異なる複数のパターン毎の複数の端末情報の組を格納でき、
前記表示制御部は、前記AP情報格納部に格納している一のアンテナ情報の組と、前記UE情報格納部に格納している、フロア内の前記什器の配置及び前記通信端末の所在の一のパターンに係る構造物情報及び端末情報の組とを用いてシミュレートされる前記結果をディスプレイに画面表示させることができ、かつ、前記AP情報格納部に格納している前記一のアンテナ情報の組と、前記UE情報格納部に格納している、フロア内の前記什器の配置及び前記通信端末の所在の他のパターンに係る構造物情報及び端末情報の組とを用いてシミュレートされる前記結果をディスプレイに画面表示させることができる、レイアウト計画システム。
【請求項3】
前記表示制御部は、前記構造物情報及び前記端末情報の組並びに前記アンテナ情報の組を基にシミュレートされる結果である、前記フロア内の各位置における前記アンテナから放射される通信用の電波の強度に応じた評価スコアをディスプレイに画面表示させる請求項1または2記載のレイアウト計画システム。
【請求項4】
前記表示制御部は、前記構造物情報及び前記端末情報の組並びに前記アンテナ情報の組を基にシミュレートされる結果である、前記フロア内の各位置における前記通信端末と前記アンテナとの間で実現可能な通信速度に応じた評価スコアをディスプレイに画面表示させる請求項1または2記載のレイアウト計画システム。
【請求項5】
請求項1記載のレイアウト計画システムを構成するために用いられるものであって、コンピュータを、
フロア内に配置される一ないし複数の什器の位置と各什器の特性に関するデータとを含む構造物情報、及びフロア内に所在する一ないし複数の通信端末の各々の位置に関するデータを含む端末情報の組を格納するUE情報格納部、
前記通信端末と無線通信を行うためにフロア内に配置される一ないし複数のアンテナの位置と各アンテナの特性に関するデータとを含むアンテナ情報の組を格納するAP情報格納部、並びに、
前記構造物情報及び前記端末情報の組並びに前記アンテナ情報の組を基にシミュレートされる結果である、フロア内において通信端末がどのアンテナと通信接続可能であるか、または通信端末とアンテナとの間で実現可能な通信速度を可視化してユーザに提示するべくディスプレイに画面表示させる表示制御部
として機能させ、
前記AP情報格納部は、フロア内に前記アンテナが配置される位置が互いに異なる複数のパターン毎の複数のアンテナ情報の組を格納でき、
前記表示制御部は、前記UE情報格納部に格納している一の前記構造物情報及び前記端末情報の組と、前記AP情報格納部に格納している、フロア内の前記アンテナの配置の一のパターンに係るアンテナ情報の組とを用いてシミュレートされる前記結果をディスプレイに画面表示させることができ、かつ、前記UE情報格納部に格納している前記一の前記構造物情報及び前記端末情報の組と、前記AP情報格納部に格納している、フロア内の前記アンテナの配置の他のパターンに係るアンテナ情報の組とを用いてシミュレートされる前記結果をディスプレイに画面表示させることができる、プログラム。
【請求項6】
請求項2記載のレイアウト計画システムを構成するために用いられるものであって、コンピュータを、
フロア内に配置される一ないし複数の什器の位置と各什器の特性に関するデータとを含む構造物情報、及びフロア内に所在する一ないし複数の通信端末の各々の位置に関するデータを含む端末情報の組を格納するUE情報格納部、
前記通信端末と無線通信を行うためにフロア内に配置される一ないし複数のアンテナの位置と各アンテナの特性に関するデータとを含むアンテナ情報の組を格納するAP情報格納部、並びに、
前記構造物情報及び前記端末情報の組並びに前記アンテナ情報の組を基にシミュレートされる結果である、フロア内において通信端末がどのアンテナと通信接続可能であるか、または通信端末とアンテナとの間で実現可能な通信速度を可視化してユーザに提示するべくディスプレイに画面表示させる表示制御部
として機能させ、
前記UE情報格納部は、フロア内に前記什器が配置される位置が互いに異なる複数のパターン毎の複数の構造物情報の組を格納でき、または、フロア内に所在する前記通信端末の位置が互いに異なる複数のパターン毎の複数の端末情報の組を格納でき、
前記表示制御部は、前記AP情報格納部に格納している一のアンテナ情報の組と、前記UE情報格納部に格納している、フロア内の前記什器の配置及び前記通信端末の所在の一のパターンに係る構造物情報及び端末情報の組とを用いてシミュレートされる前記結果をディスプレイに画面表示させることができ、かつ、前記AP情報格納部に格納している前記一のアンテナ情報の組と、前記UE情報格納部に格納している、フロア内の前記什器の配置及び前記通信端末の所在の他のパターンに係る構造物情報及び端末情報の組とを用いてシミュレートされる前記結果をディスプレイに画面表示させることができる、プログラム。
【請求項7】
前記表示制御部は、前記構造物情報及び前記端末情報の組並びに前記アンテナ情報の組を基にシミュレートされる結果である、前記フロア内の各位置における前記アンテナから放射される通信用の電波の強度に応じた評価スコアをディスプレイに画面表示させる請求項5または6記載のプログラム。
【請求項8】
前記表示制御部は、前記構造物情報及び前記端末情報の組並びに前記アンテナ情報の組を基にシミュレートされる結果である、前記フロア内の各位置における前記通信端末と前記アンテナとの間で実現可能な通信速度に応じた評価スコアをディスプレイに画面表示させる請求項5または6記載のプログラム。
【請求項9】
複数の什器を配置したフロア内での無線通信の状態を仮想的に表示する方法であって、
フロア内に配置される一ないし複数の什器の位置と各什器の特性に関するデータとを含む構造物情報、及びフロア内に所在する一ないし複数の通信端末の各々の位置に関するデータを含む端末情報の組を格納するUE情報格納ステップと、
前記通信端末と無線通信を行うためにフロア内に配置される一ないし複数のアンテナの位置と各アンテナの特性に関するデータとを含むアンテナ情報の組を格納するAP情報格納ステップと、
前記構造物情報及び前記端末情報の組並びに前記アンテナ情報の組を基にシミュレートされる結果である、フロア内において通信端末がどのアンテナと通信接続可能であるか、または通信端末とアンテナとの間で実現可能な通信速度を可視化してユーザに提示するべくディスプレイに画面表示させる表示制御ステップと
を具備し、
前記AP情報格納ステップにて、フロア内に前記アンテナが配置される位置が互いに異なる複数のパターン毎の複数のアンテナ情報の組を格納でき、
前記表示制御ステップにて、前記UE情報格納部に格納している一の前記構造物情報及び前記端末情報の組と、前記AP情報格納部に格納している、フロア内の前記アンテナの配置の一のパターンに係るアンテナ情報の組とを用いてシミュレートされる前記結果をディスプレイに画面表示させることができ、かつ、前記UE情報格納部に格納している前記一の前記構造物情報及び前記端末情報の組と、前記AP情報格納部に格納している、フロア内の前記アンテナの配置の他のパターンに係るアンテナ情報の組とを用いてシミュレートされる前記結果をディスプレイに画面表示させることができる、レイアウト計画方法。
【請求項10】
複数の什器を配置したフロア内での無線通信の状態を仮想的に表示する方法であって、
フロア内に配置される一ないし複数の什器の位置と各什器の特性に関するデータとを含む構造物情報、及びフロア内に所在する一ないし複数の通信端末の各々の位置に関するデータを含む端末情報の組を格納するUE情報格納ステップと、
前記通信端末と無線通信を行うためにフロア内に配置される一ないし複数のアンテナの位置と各アンテナの特性に関するデータとを含むアンテナ情報の組を格納するAP情報格納ステップと、
前記構造物情報及び前記端末情報の組並びに前記アンテナ情報の組を基にシミュレートされる結果である、フロア内において通信端末がどのアンテナと通信接続可能であるか、または通信端末とアンテナとの間で実現可能な通信速度を可視化してユーザに提示するべくディスプレイに画面表示させる表示制御ステップと
を具備し、
前記UE情報格納ステップにて、フロア内に前記什器が配置される位置が互いに異なる複数のパターン毎の複数の構造物情報の組を格納でき、または、フロア内に所在する前記通信端末の位置が互いに異なる複数のパターン毎の複数の端末情報の組を格納でき、
前記表示制御ステップにて、前記AP情報格納部に格納している一のアンテナ情報の組と、前記UE情報格納部に格納している、フロア内の前記什器の配置及び前記通信端末の所在の一のパターンに係る構造物情報及び端末情報の組とを用いてシミュレートされる前記結果をディスプレイに画面表示させることができ、かつ、前記AP情報格納部に格納している前記一のアンテナ情報の組と、前記UE情報格納部に格納している、フロア内の前記什器の配置及び前記通信端末の所在の他のパターンに係る構造物情報及び端末情報の組とを用いてシミュレートされる前記結果をディスプレイに画面表示させることができる、レイアウト計画方法。
発明の詳細な説明
【技術分野】
【0001】
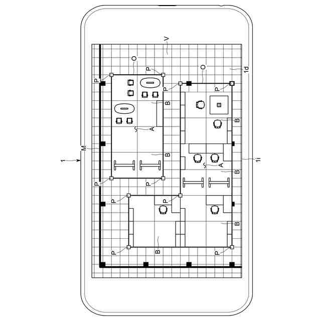
本発明は、複数の什器を配置したフロア内の環境、例えば無線通信の状態を仮想的に表示するシステムに関する。
続きを表示(約 1,600 文字)
【背景技術】
【0002】
オフィス等のフロアには、種々の什器、例えば机や椅子、収納家具、パーティション等が配置され、執務スペースやミーティングルーム、カフェスペース等が構築される。これにあたり、コンピュータを使用してレイアウトの計画や管理、提案等を行うことが従前より試みられている。
【0003】
今日のオフィス、店舗、宿泊施設他各種の商業施設、病院等のフロアでは、携帯電話網の他、無線LAN(Local Area Network)やWiMAX(登録商標)、Bluetooth(登録商標)等による無線通信が多用される。フロア内で活動する人が使用するパーソナルコンピュータやスマートフォンは勿論のこと、プリンタ(ファクシミリ、コピーまたはスキャナの機能を兼ねた複合機を含む)、監視カメラその他の各種センサ類、IoT(Internet of Things)ゲートウェイ、ロボット誘導用のビーコン等もまた、無線通信ネットワークに接続されることが珍しくない。
【0004】
それら種々の無線通信接続する機器または装置を総称して通信端末と呼ぶこととすると、フロア内で複数の通信端末が運用される状況下では、各通信端末やそれを所持する各人がどの場所に所在し、また無線LANルータや中継器(回線補償器)その他の通信用アンテナがどの場所に配置されているかによって、無線通信を円滑に行い得る(接続でき、通信速度が速い)かそうでない(接続できない、または通信速度が遅い)かが変化する。それ故、什器のレイアウト及び通信アンテナのレイアウトが重要となる。
【0005】
下記特許文献には、複数の什器及び通信アンテナをフロア内に配置する際のレイアウトの基本計画を構築し可視化するために適したシステムが開示されている。
【先行技術文献】
【特許文献】
【0006】
特許第7442951号公報
【発明の概要】
【発明が解決しようとする課題】
【0007】
オフィス等のフロアのレイアウト計画では、執務その他に必要な什器の配置を決定し、各通信端末や通信端末を所持する各人の所在を仮定し、その上でフロア内に何個の通信アンテナを、それぞれフロア内のどの場所に設置するのかを検討する。これが上手くないと、何れかの通信端末がどの通信アンテナにも無線接続できず通信を行い得ない、または一つの通信アンテナに多数の通信端末の接続が集中して通信速度・通信品質が低下するといった支障が生じる。
【0008】
レイアウト計画システムを利用してフロア内での通信アンテナのレイアウトを最適化しようとするためには、フロアにおける各什器及び特性、各通信端末の位置及び特性を入力し、かつフロアにおける各通信アンテナの位置及び特性を入力して、それらを基に無線通信環境のシミュレーションを実行させ、その結果を確認する。そして、シミュレーション結果が満足できない不十分なものであるならば、各什器、各通信端末並びに各通信アンテナに関する情報を再入力(変更、更新)して、再びシミュレーションを実行させて結果を確認するというように、試行錯誤することになる。
【0009】
各什器、各通信端末並びに各通信アンテナに関する情報の全てを、シミュレーションの実行の度にユーザが逐一手入力することは、煩瑣な作業となる。とりわけ、対象のオフィス等の規模が大きくフロアが広大であると、什器の数、通信端末の数、通信アンテナの数が顕著に増加し、それら全ての位置を手入力するのに多大な労力を費やす。
【0010】
本発明は、什器及び通信アンテナをフロア内に配設する際のレイアウトの基本計画の構築、可視化の作業をより一層簡便化することを所期の目的としている。
【課題を解決するための手段】
(【0011】以降は省略されています)
この特許をJ-PlatPat(特許庁公式サイト)で参照する
関連特許
コクヨ株式会社
レイアウト計画システム
今日
コクヨ株式会社
ブース
5日前
コクヨ株式会社
ブース
26日前
コクヨ株式会社
ブース
1か月前
コクヨ株式会社
転写具
2か月前
コクヨ株式会社
ブース家具
1日前
コクヨ株式会社
ブース家具
1日前
個人
詐欺保険
1か月前
個人
縁伊達ポイン
1か月前
個人
RFタグシート
1か月前
個人
5掛けポイント
1か月前
個人
職業自動販売機
26日前
個人
ペルソナ認証方式
1か月前
個人
QRコードの彩色
2か月前
個人
自動調理装置
1か月前
個人
情報処理装置
1か月前
個人
立体グラフの利用方法
5日前
個人
農作物用途分配システム
1か月前
個人
残土処理システム
2か月前
個人
知的財産出願支援システム
2か月前
NISSHA株式会社
入力装置
6日前
個人
データ復元システム
今日
個人
サービス情報提供システム
28日前
個人
インターネットの利用構造
1か月前
個人
タッチパネル操作指代替具
1か月前
個人
学習用データ生成装置
7日前
個人
スケジュール調整プログラム
1か月前
個人
携帯端末障害問合せシステム
1か月前
個人
エリアガイドナビAIシステム
1か月前
個人
音声・通知・再配達UX制御構造
2か月前
株式会社ワコム
電子ペン
1か月前
キラル株式会社
顧客体験提供システム
8日前
キヤノン株式会社
情報処理装置
1か月前
エッグス株式会社
情報処理装置
1か月前
トヨタ自動車株式会社
通知装置
1か月前
株式会社ワコム
電子ペン
1か月前
続きを見る
他の特許を見る